GM Service Manual Online
For 1990-2009 cars only

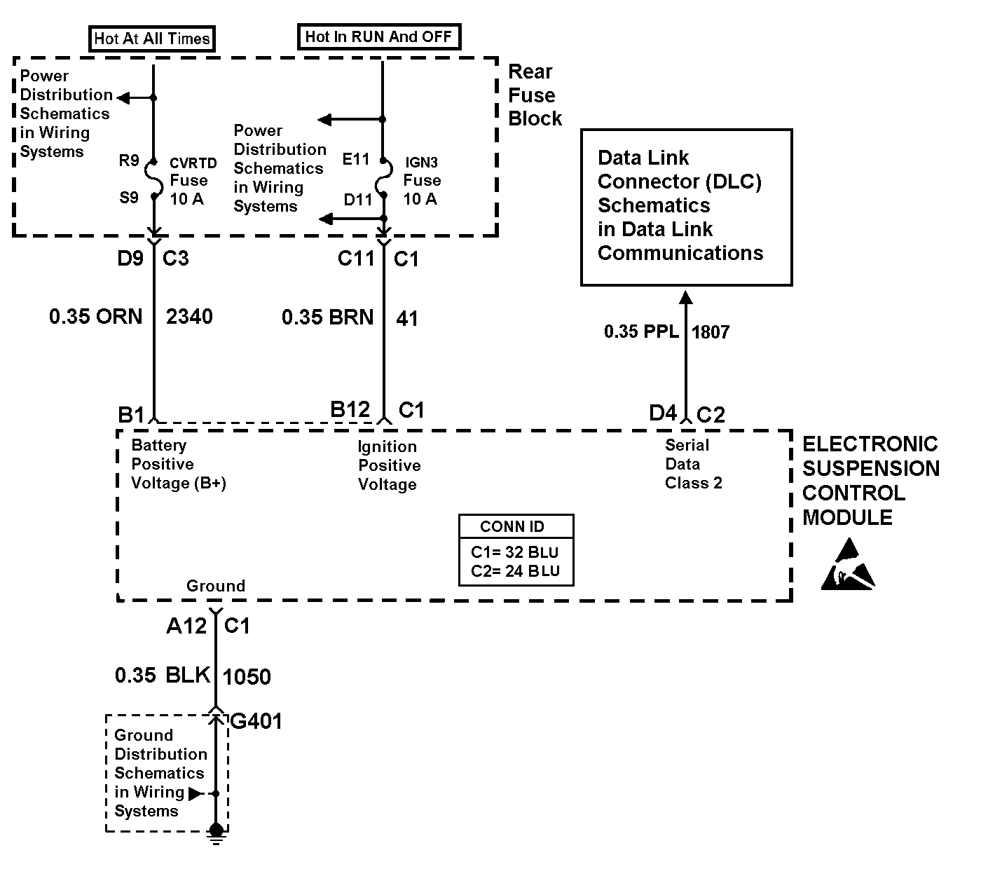
Object Number: 661267  Size: LF

Circuit Description

The Electronic Suspension Control module communicates to the other electronic control modules on the vehicle via the CLASS 2 serial bus.

Conditions for Running the DTC

    • The ignition is on.
    • The fault is detected during three consecutive ignition cycles, or during the same ignition cycle after clearing the DTC with the scan tool.

Conditions for Setting the DTC

The DTC is also set when the power to the Electronic Suspension Control module has been lost because of one or more of the following:

    • Loss of battery feed (loose terminals and/or fuses)
    • Loss of ignition feed (loose terminals and/or fuses)
    • Loss of a good CVRSS system ground
    • Malfunction of the internal Electronic Suspension Control module.

The DTC is also set when the Electronic Suspension Control module is powered and operational, but is unable to communicate with the IPC because of an open, a short to ground, or a short to voltage on the CLASS 2 circuit.

Action Taken When the DTC Sets

    • The SERVICE RIDE CONTROL message will be displayed.
    • The vehicle speed may be limited, or the STABILITY REDUCED message will be displayed.

Conditions for Clearing the MIL/DTC

    • The scan tool can be used to clear the DTC.
    • The On-Board diagnostic CLEAR RSS CODES feature can be used to clear the DTC.
    • The DTC is saved as history when the IPC can communicate with the Electronic Suspension Control module. The DTC will clear if the fault does not return after 50 consecutive ignition cycles.

Diagnostic Aids

A loss of RSS data serial communication or power may be the result of:

    • Electrical problems with the wiring harness.
    • Intermittent breaks in Class 2 communication caused by other controllers and/or wiring harness issues.

Refer to Testing for Intermittent Conditions and Poor Connections in Wiring Systems.

Test Description

The number(s) below refer to the step number(s) on the diagnostic table.

  1. This step checks for an open ignition fuse.

  2. This step checks for an open battery fuse.

  3. This step checks for an open in the ground circuit.

  4. This step checks for an open in the battery circuit.

  5. This step checks for an open in the ignition circuit.

  6. This step checks the CLASS 2 bus for a fault condition.

  7. This step checks for a short to ground in the ignition circuit.

  8. This step checks for a short to ground in the battery circuit.

Step

Action

Value(s)

Yes

No

1

Did you perform the Road Sensing Suspension Diagnostic System Check?

--

Go to Step 2

Go to Diagnostic System Check

2

Inspect the RSS 10 amp fuse of the ignition positive voltage circuit.

Is the fuse open?

--

Go to Step 11

Go to Step 3

3

Inspect the RSS 10 amp fuse of the battery positive voltage circuit.

Is the fuse open?

--

Go to Step 12

Go to Step 4

4

Test the ground circuit of the Electronic Suspension Control module for an open. Refer to Circuit Testing and Wiring Repairs in Wiring Systems.

Did you find and correct the condition?

--

Go to Step 16

Go to Step 5

5

Measure the voltage in the battery positive voltage circuit.

Did you measure a voltage greater than the specified value?

10 V

Go to Step 7

Go to Step 6

6

Test the battery positive voltage circuit of the Electronic Suspension Control module for an open. Refer to Circuit Testing and Wiring Repairs in Wiring Systems.

Did you find and correct the condition?

--

Go to Step 16

--

7

Measure the voltage in the ignition positive voltage circuit.

Did you measure a voltage greater than the specified value?

10 V

Go to Step 9

Go to Step 8

8

Test the ignition positive voltage circuit of the Electronic Suspension Control module for an open. Refer to Circuit Testing and Wiring Repairs in Wiring Systems.

Did you find and correct the condition?

--

Go to Step 16

--

9

Test the serial data class 2 circuits of the Electronic Suspension Control module for an open, a short to ground, or a short to voltage. Refer to Circuit Testing and Wiring Repairs in Wiring Systems.

Did you find and correct the condition?

--

Go to Step 16

Go to Step 10

10

Does the scan tool display any DTCs that begin with a "P"?

--

Go to Diagnostic Trouble Code (DTC) List/Type in Engine Controls

Go to Step 13

11

Test the ignition positive voltage circuit of the Electronic Suspension Control module for a short to ground. Refer to Circuit Testing and Wiring Repairs in Wiring Systems.

Did you find and correct the condition?

--

Go to Step 15

Go to Step 13

12

Test the battery positive voltage circuit of the Electronic Suspension Control module for a short to ground. Refer to Circuit Testing and Wiring Repairs in Wiring Systems.

Did you find and correct the condition?

--

Go to Step 15

Go to Step 13

13

Test the ignition positive voltage, the battery positive voltage and the serial data class 2 circuits of the Electronic Suspension Control module for a short to ground. Refer to Circuit Testing and Wiring Repairs in Wiring Systems.

Did you find and correct the condition?

--

Go to Step 15

Go to Step 14

14

Important: Perform the set up and calibration procedure for the Electronic Suspension Control module.

Replace the Electronic Suspension Control module. Refer to Electronic Suspension Control Module Replacement .

Did you complete the replacement?

--

Go to Step 15

--

15

Replace the appropriate fuse.

Is the replacement complete?

--

Go to Step 16

--

16

  1. Use the scan tool in order to clear the DTCs.
  2. Operate the vehicle within the Conditions for Running the DTC as specified in the supporting text.

Does the DTC reset?

--

Go to Step 2

System OK