GM Service Manual Online
For 1990-2009 cars only

Before servicing the following items, use this scribing procedure. After the service is done, you will be able to return to the original camber setting. It will be necessary, though, to check and adjust toe.

    • Strut Mount
    • Strut Bumper
    • Strut Shield
    • Spring Seat
    • Spring Insulator

When servicing the following items, do not use the scribing procedure. After servicing these items, you must check and adjust camber and toe.

    • Front Spring
    • Strut
    • Knuckle

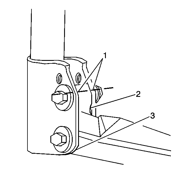
    Object Number: 104992  Size: SH
  1. Make a chisel mark across the strut/knuckle interface (1).
  2. Scribe the strut flange (2) on the inboard side along the curve of the knuckle.
  3. Using a sharp tool, scribe the knuckle along the lower outboard strut radius (3).
  4. On reassembly, carefully match the marks to the components.