GM Service Manual Online
For 1990-2009 cars only

Removal Procedure

  1. Raise the vehicle and suitably support. Refer to Lifting and Jacking the Vehicle in General Information.
  2. Remove the tire and wheel. Refer to Tire and Wheel Removal and Installation in Tires and Wheels.

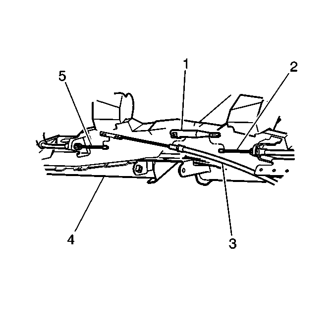
  3. Object Number: 106224  Size: SH
  4. Unhook cable system at the front intermeadate cable conmector to release cable tension.
  5. Disconnect right (5) and left (2) rear parking brake cables from the rear equalizer (1).
  6. Remove both brake cables from their brackets by depressing retaining tabs on the cable housings and pulling the cables out of the brackets.

  7. Object Number: 106206  Size: SH
  8. Disconnect both parking brake cables (1) from the parking brake levers.
  9. Remove right and left cable from caliper support brackets by depressing conduit fitting retaining tabs
  10. Remove the parking brake rear cables.

Installation Procedure


    Object Number: 106224  Size: SH
  1. Install both cables (2), (5) into their brackets by snapping them into place.
  2. Connect both cables to the equalizer (1).

  3. Object Number: 106206  Size: SH
  4. Install right and left cables (1) into the caliper support brackets by snapping into place.
  5. Connect the parking brake cables to the parking brake levers.
  6. Install the tire and wheel. Refer to Tire and Wheel Removal and Installation in Tires and Wheels.
  7. Install intermeadiate cable to front cable connector. Brake pedal must be in full released position.