GM Service Manual Online
For 1990-2009 cars only

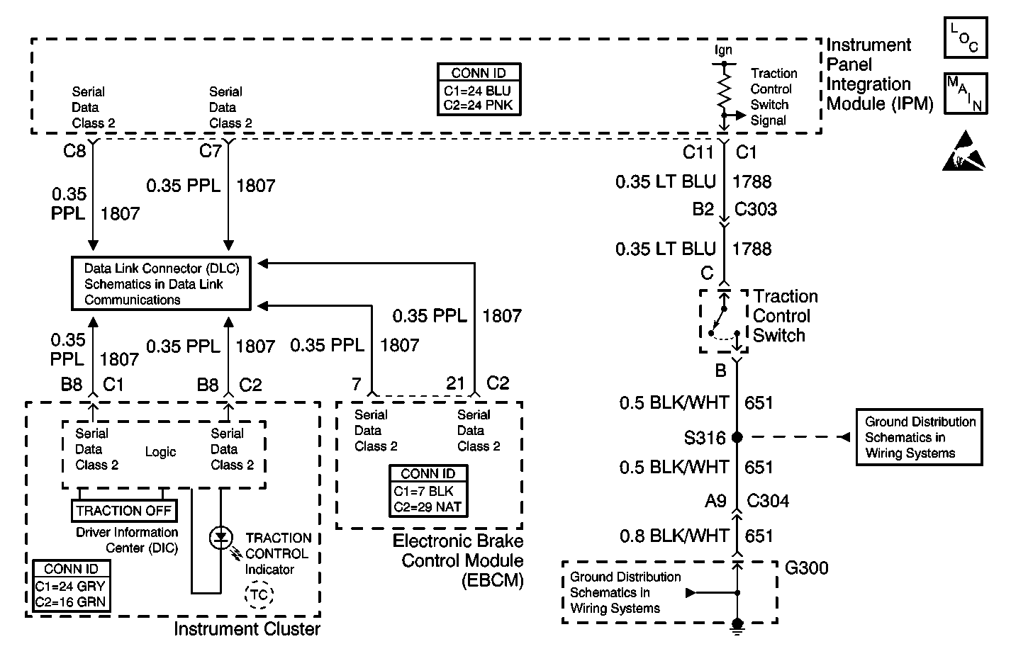
Object Number: 566632  Size: MF
ABS Components
Indicators and Traction Control Switch
Handling ESD Sensitive Parts Notice
Class 2 Serial Data Line (LH Drive)

Circuit Description

The TRACTION OFF message on the DIC is controlled by the instrument cluster via class 2 serial data messages from the EBCM. When the IPM sees the traction control switch input grounded through the momentary traction control switch, it sends a class 2 message to the EBCM that tells the EBCM that the traction control switch has been pressed. The EBCM then disables traction control and sends a message to the instrument cluster to turn ON the TRACTION OFF message on the DIC. Each time the ignition is cycled from OFF to ON, the traction control system is enabled.

Step

Action

Value(s)

Yes

No

1

Did you perform the ABS Diagnostic System Check?

--

Go to Step 2

Go to Diagnostic System Check - ABS

2

  1. Install a scan tool.
  2. Turn ON the ignition, with the engine OFF.
  3. With a scan tool, observe the TCS Switch parameter in the Instrument Panel Module data list.

Does the scan tool display Off?

--

Go to Step 3

Go to Step 4

3

  1. Activate the traction control switch.
  2. With the scan tool, observe the TCS Switch parameter.

Does the TCS Switch parameter change state?

--

Go to Testing for Intermittent Conditions and Poor Connections in Wiring Systems

Go to Step 4

4

  1. Turn OFF the ignition.
  2. Disconnect the traction control switch connector.
  3. Turn ON the ignition, with the engine OFF.
  4. With a scan tool, observe the TCS Switch parameter.

Does the scan tool display Off?

--

Go to Step 7

Go to Step 5

5

Test the signal circuit of the traction control switch for a short to ground. Refer to Circuit Testing and Wiring Repairs in Wiring Systems.

Did you find and correct the condition?

--

Go to Step 10

Go to Step 6

6

Inspect for poor connections at the harness connector of the instrument panel integration module (IPM). Refer to Testing for Intermittent Conditions and Poor Connections and Connector Repairs in Wiring Systems.

Did you find and correct the condition?

--

Go to Step 10

Go to Step 8

7

Inspect for poor connections at the harness connector of the traction control switch. Refer to Testing for Intermittent Conditions and Poor Connections and Connector Repairs in Wiring Systems.

Did you find and correct the condition?

--

Go to Step 10

Go to Step 9

8

Replace the instrument panel integration module (IPM). Refer to Instrument Panel Module Replacement in Body Control System.

Did you complete the replacement?

--

Go to Step 10

--

9

Replace the traction control switch. Refer to Electronic Traction Control Switch Replacement .

Did you complete the replacement?

--

Go to Step 10

--

10

Operate the system in order to verify the repair.

Did you correct the condition?

--

System OK

Go to Step 2