GM Service Manual Online
For 1990-2009 cars only

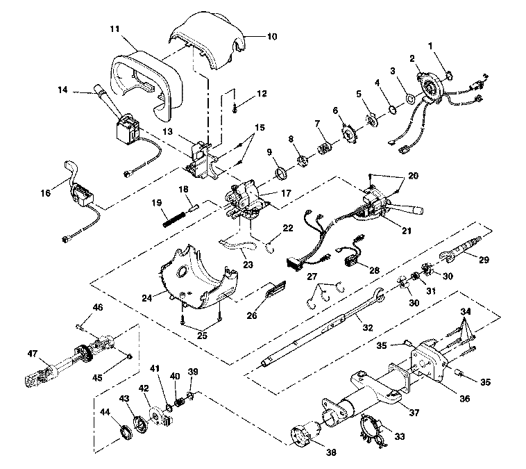
Steering Column Disassembled View Power Tilt and Telescope

S5S POWER LH


Object Number: 303731  Size: LF
(1)Flanged Prevailing Torque Nut
(2)Retaining Ring
(3)Inflatable Restraint Steering Wheel Module Coil
(4)Wave Washer
(5)Bearing Retainer
(6)Cam Orientation Plate
(7)Turn Signal Cancel Cam Assembly
(8)Upper Bearing Spring
(9)Upper Bearing Inner Race Seat
(10)Upper Trim Cover
(11)Steering Column Closeout Trim Cover
(12)TORX® Head Screw
(13)Signal Switch Housing Assembly
(14)Windshield Wiper and Washer Switch Assembly
(15)Pan Head Tapping Screw
(16)Cruise Control Switch Assembly
(17)Steering Column Tilt Head Assembly
(18)Pan Head Tapping Screw
(19)Turn Signal and Multifunction Switch Assembly
(20)Wire Harness Strap
(21)Tilt Housing Adapter
(22)TORX® Head Screw
(23)Lower Trim Cover
(24)Pan Head Tapping Screw
(25)Power Tilt and Telescope Toggle Switch Assembly
(26)Ball Stud
(27)Fused Jumper Assembly
(28)Race and Upper Shaft Assembly
(29)Centering Sphere
(30)Joint Preload Spring
(31)Lower Steering Shaft Assembly
(32)Steering Column Support Assembly
(33)Pivot Pin
(33)Pivot Pin
(34)Anti Rotate Pin
(35)Anti Rotation Ball
(36)Compression Spring
(37)Retaining Ring
(38)Telebearing and Jacket Assembly
(39)TORX® Head Screw
(40)Pan Head Tapping Screw
(41)Upper Wire Shield
(42)TORX® Head Screw
(43)Tilt Actuator Assembly
(44)Lower Wire Shield
(45)Pan Head Tapping Screw
(46)Entertainment and Comfort Interface Module Assembly
(47)TORX® Head Screw
(48)Telescope Actuator Assembly
(49)Housing Blocking Plug Switch
(50)Adapter and Bearing Assembly
(51)Bearing Preload Washer
(52)Lower Spring Retaining
(53)Hi Resolution Steering Wheel Position Sensor Assembly
(54)Sensor Retainer
(55)Steering Shaft Seal

Steering Column Disassembled View Manual Tilt

S5S MANUAL LH


Object Number: 303729  Size: LF
(1)Retaining Ring
(2)Inflatable Restraint Steering Wheel Module Coil
(3)Wave Washer
(4)Bearing Retainer
(5)Cam Orientation Plate
(6)Turn Signal Cancel Cam Assembly
(7)Upper Bearing Spring
(8)Upper Bearing Inner Race Seat
(9)Inner Race
(10)Upper Trim Cover
(11)Steering Column Closeout Trim Cover
(12)TORX® Head Screw
(13)Signal Switch Housing Assembly
(14)Windshield Wiper and Washer Switch Assembly
(15)Pan Head Tapping Screw
(16)Cruise Control Switch Assembly
(17)Steering Column Tilt Head Assembly
(18)Spring Guide
(19)Tilt Spring
(20)Pan Head Tapping Screw
(21)Turn Signal and Multifunction Switch Assembly
(22)Wire Harness Strap
(23)Tilt Lever Assembly
(24)Lower Trim Cover
(25)Pan Head Tapping Screw
(26)Tilt Lever Closeout
(27)Wire Harness Strap
(28)Fused Jumper Assembly
(29)Race and Upper Shaft Assembly
(30)Centering Sphere
(30)Centering Sphere
(31)Joint Preload Spring
(32)Lower Steering Shaft Assembly
(33)Wire Harness Strap
(34)TORX® Head Screw
(35)Pivot Pin
(35)Pivot Pin
(36)Steering Column Support Assembly
(37)Steering Column Jacket Assembly
(38)Adapter and Bearing Assembly
(39)Lower Bearing Seat
(40)Lower Bearing Spring
(41)Lower Spring Retainer
(42)Hi Resolution Steering Wheel Position Sensor Assembly
(43)Sensor Retainer
(44)Steering Shaft Seal
(45)Bolt Retainer Assembly
(46)Pinch Bolt Nut
(47)Intermediate Steering Shaft Assembly