Live (Undeployed) Inflator Module
Caution: When you are carrying an undeployed inflator module:
| • | Do not carry the inflator module by the wires or connector on
the inflator module |
| • | Make sure the bag opening points away from you |
When you are storing an undeployed inflator module, make sure the bag
opening points away from the surface on which the inflator module rests.
When you are storing a steering column, do not rest the column with the bag
opening facing down and the column vertical. Provide free space for the
air bag to expand in case of an accidental deployment. Otherwise, personal
injury may result.
Take special care when
handling or storing a live (undeployed) inflator module. An air bag deployment
produces rapid gas generation. This may cause the inflator module, or an
object in front of the inflator module, to jettison through the air in the
event of an unlikely deployment.
Scrapping Procedure
During the course of a vehicle's useful life, certain situations may
arise which will necessitate the disposal of a live (undeployed) inflator
module. The following information covers the proper procedures for the disposing
of a live inflator module. Deploy the inflator module before disposal. Do
not dispose of the module through normal disposal channels.
Caution: In order to prevent accidental deployment of the air bag which could
cause personal injury, do not dispose of an undeployed inflator module as
normal shop waste. The undeployed inflator module contains substances that
could cause severe illness or personal injury if the sealed container is
damaged during disposal. Use the following deployment procedures to safely
dispose of an undeployed inflator module. Failure to dispose of an inflator
module as instructed may be a violation of federal, state, province, or local
laws.
Do not deploy an air bag in the following situations:
| • | After replacement of an inflator module under warranty. The module
may need to be returned undeployed to the original manufacturer of inflator
module. |
| • | If the vehicle is the subject of a Product Liability report related
to the SIR system and is subject to a Preliminary Investigation (GM-1241).
Do not alter the SIR system in any manner. |
| • | If the vehicle is involved in a campaign affecting the inflator
modules. Follow the instructions in the Campaign Service Bulletin for proper
SIR handling procedures. |
Deployment Procedures
The inflator module can be deployed inside or outside of the vehicle.
The method used depends upon the final disposition of the vehicle. Review
the following procedures in order to determine which will work best in a
given situation:
Deployment Outside Vehicle (Inflatable Restraint Steering Wheel Module)
Tools Required
| • | An appropriate pigtail adapter |
Deploy the inflatable restraint steering wheel inflator module outside
of the vehicle when the vehicle will be returned to service. Situations that
require deployment outside of the vehicle include the following:
| • | Using the SIR diagnostics, you determine that the inflator module
does not function properly. |
| • | The inflator module is scratched or ripped on the cover. |
| • | The inflator module pigtail (if equipped) is damaged. |
| • | The inflator module connector is damaged. |
| • | An inflator module connector terminal is damaged. |
Deployment and disposal of a malfunctioning inflator module is subject
to any required retention period.
Caution: In order to prevent accidental deployment of the air bag which could
cause personal injury, do not dispose of an undeployed inflator module as
normal shop waste. The undeployed inflator module contains substances that
could cause severe illness or personal injury if the sealed container is
damaged during disposal. Use the following deployment procedures to safely
dispose of an undeployed inflator module. Failure to dispose of an inflator
module as instructed may be a violation of federal, state, province, or local
laws.
CAUTION: When you are deploying an inflator module for disposal, perform the
deployment procedures in the order listed. Failure to follow the procedures
in the order listed may result in personal injury.
Important: Refer to the latest General Motors Service Bulletins before deploying
a driver inflator module.
- Turn the ignition switch to the OFF position.
- Remove the ignition key.
- Put on safety glasses.
- Inspect the J 38826
SIR Deployment Harness.
- Short the two SIR deployment harness (1) leads together using
one banana plug seated into the other.
- Connect the appropriate pigtail adapter (2) to the SIR deployment
harness (1).
- Remove the inflatable restraint steering wheel module. Refer to
Inflatable Restraint Steering Wheel Module Replacement
.
- Remove all horn/steering wheel control buttons from the module,
if equipped.
Caution: When you are carrying an undeployed inflator module:
| • | Do not carry the inflator module by the wires or connector on
the inflator module |
| • | Make sure the bag opening points away from you |
When you are storing an undeployed inflator module, make sure the bag
opening points away from the surface on which the inflator module rests.
When you are storing a steering column, do not rest the column with the bag
opening facing down and the column vertical. Provide free space for the
air bag to expand in case of an accidental deployment. Otherwise, personal
injury may result.
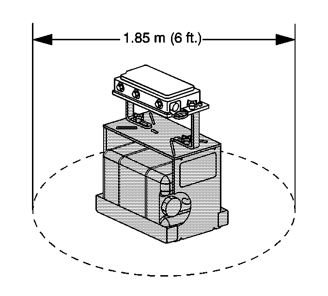
- Place the module with
the vinyl trim cover facing up and away from the surface on a work bench.
- Clear a space on the ground
about 1.85 m (6 ft) in diameter for deployment of the module.
If possible, use a paved, outdoor location free of activity. Otherwise,
use a space free of activity on the shop floor. Make sure you have sufficient
ventilation.
- Make sure no loose or flammable objects are in the area.
- Place the module in the space with the vinyl trim cover facing
up.
- Extend the SIR deployment
harness and adapter to full length from the module.
- Place a 12 V minimum/2 A minimum power source (i.e.,
vehicle battery) near the shorted end of the harness.
- Connect the module (1)
to the adapter (2) on the SIR deployment harness (3).
- Firmly seat the adapter into the module connector.
- Clear the area of people.
CAUTION: When you are deploying an inflator module for disposal, perform the
deployment procedures in the order listed. Failure to follow the procedures
in the order listed may result in personal injury.
- Separate the two banana
plugs on the SIR deployment harness.
Important: The rapid gas expansion involved with deploying an air bag is very loud.
Notify all the people in the immediate area that you intend to deploy the
inflator module.
Important: When the air bag deploys, the inflator module may jump about 30 cm
(1 ft) vertically. This is a normal reaction of the inflator module
to the force of the rapid gas expansion inside the air bag.
- Connect the SIR deployment harness wires to the power source.
- Disconnect the SIR deployment
harness from the power source after the air bag deploys.
- Seat one banana plug into the other in order to short the deployment
harness leads.
- If the air bag did not deploy, disconnect the adapter and discontinue
the procedure. Contact the Technical Assistance Group. Otherwise, proceed
to the following steps.
CAUTION: After an air bag deploys, the metal surfaces of the inflator module
are very hot. To help avoid a fire or personal injury:
| • | Allow sufficient time for cooling before touching any metal surface
of the inflator module. |
| • | Do not place the deployed inflator module near any flammable objects.
|
- Put on a pair of shop
gloves.
- Disconnect the pigtail adapter from the inflator module as soon
as possible.
- Inspect the pigtail adapter and the SIR deployment harness. Replace
as needed.
- Dispose of the deployed module through normal refuse channels.
- Wash hands with a mild soap.
Deployment Outside Vehicle (Inflatable Restraint Instrument Panel Module)
Tools Required
| • | An appropriate pigtail adapter |
Caution: In order to prevent accidental deployment of the air bag which could
cause personal injury, do not dispose of an undeployed inflator module as
normal shop waste. The undeployed inflator module contains substances that
could cause severe illness or personal injury if the sealed container is
damaged during disposal. Use the following deployment procedures to safely
dispose of an undeployed inflator module. Failure to dispose of an inflator
module as instructed may be a violation of federal, state, province, or local
laws.
CAUTION: When you are deploying an inflator module for disposal, perform the
deployment procedures in the order listed. Failure to follow the procedures
in the order listed may result in personal injury.
Deploy the inflatable restraint instrument panel inflator
module outside of the vehicle when the vehicle will be returned to service.
Situations that require deployment outside of the vehicle include the following:
| • | Using the SIR diagnostics, you determine that the inflator module
does not function properly. |
| • | The inflator module is scratched or ripped on the cover. |
| • | The inflator module pigtail (if equipped) is damaged. |
| • | The inflator module connector is damaged. |
| • | An inflator module connector terminal is damaged. |
Deployment and disposal of a malfunctioning inflator module is subject
to any required retention period.
Important: Refer to the latest General Motors Service Bulletins before deploying
a passenger inflator module.
- Turn the ignition switch to the OFF position.
- Remove the ignition key.
- Put on safety glasses.
- Inspect the J 38826
SIR Deployment Harness.
- Short the two SIR deployment harness (1) leads together using
one banana plug seated into the other.
- Connect the appropriate pigtail adapter (2) to the SIR deployment
harness (1).
- Remove the inflatable restraint instrument panel module. Refer
to
Inflatable Restraint Instrument Panel Module Replacement
.
Caution: When you are carrying an undeployed inflator module:
| • | Do not carry the inflator module by the wires or connector on
the inflator module |
| • | Make sure the bag opening points away from you |
When you are storing an undeployed inflator module, make sure the bag
opening points away from the surface on which the inflator module rests.
When you are storing a steering column, do not rest the column with the bag
opening facing down and the column vertical. Provide free space for the
air bag to expand in case of an accidental deployment. Otherwise, personal
injury may result.
- Place the module with
the vinyl trim cover facing up and away from the surface on a work bench.
- Clear a space on the ground
about 1.85 M (6 ft) in diameter for deployment of the module.
If possible, use a paved, outdoor location free of activity. Otherwise, use
a space free of activity on the shop floor. Make sure you have sufficient
ventilation.
- Make sure no loose or flammable objects are in the area.
- Place the J 39401-B
SIR Deployment Fixture.
- Fill the fixture plastic reservoir with water or sand.
- Secure the J 39401
arms (5) to the deployment fixture (2) using carriage bolts (3)
and nuts (4).
- Mount the module (1) in the SIR deployment fixture (2)
with the vinyl trim cover facing up using one of the following mounting methods.
Important: Securely hand tighten all fasteners prior to deployment.
- To mount, use four M 6 bolts (6), nuts (8), and
washers (7) in order to secure the module (1) to the deployment
fixture (2).
- Extend the SIR deployment
harness and adapter to full length from the module.
- Place a 12 V minimum/2 A minimum power source (i.e.,
vehicle battery) near the shorted end of the harness.
- Connect the module (1)
to the adapter (2) on the SIR deployment harness (3).
- Firmly seat the adapter into the module connector.
- Clear the area of people.
CAUTION: When you are deploying an inflator module for disposal, perform the
deployment procedures in the order listed. Failure to follow the procedures
in the order listed may result in personal injury.
- Separate the two banana
plugs on the SIR deployment harness.
Important: The rapid gas expansion involved with deploying an air bag is very loud.
Notify all the people in the immediate area that you intend to deploy the
inflator module.
Important: When the air bag deploys, the SIR deployment fixture may jump vertically.
This is a normal reaction of the inflator module to the force of the rapid
gas expansion inside the air bag.
- Connect the SIR deployment harness wires to the power source.
- Disconnect the SIR deployment
harness from the power source after the air bag deploys.
- Seat one banana plug into the other in order to short the deployment
harness leads.
- If the air bag did not deploy, disconnect the adapter and discontinue
the procedure. Contact the Technical Assistance Group. Otherwise, proceed
to the following steps.
CAUTION: After an air bag deploys, the metal surfaces of the inflator module
are very hot. To help avoid a fire or personal injury:
| • | Allow sufficient time for cooling before touching any metal surface
of the inflator module. |
| • | Do not place the deployed inflator module near any flammable objects.
|
- Put on a pair of shop
gloves.
- Disconnect the pigtail adapter from the inflator module as soon
as possible.
- Inspect the pigtail adapter and the SIR deployment harness. Replace
as needed.
- Dispose of the deployed module through normal refuse channels.
- Wash hands with a mild soap.
Deployment Outside Vehicle (Inflatable Restraint Side Impact Module)
Caution: In order to prevent accidental deployment of the air bag which could
cause personal injury, do not dispose of an undeployed inflator module as
normal shop waste. The undeployed inflator module contains substances that
could cause severe illness or personal injury if the sealed container is
damaged during disposal. Use the following deployment procedures to safely
dispose of an undeployed inflator module. Failure to dispose of an inflator
module as instructed may be a violation of federal, state, province, or local
laws.
Tools Required
| • | An appropriate pigtail adapter |
CAUTION: When you are deploying an inflator module for disposal, perform the
deployment procedures in the order listed. Failure to follow the procedures
in the order listed may result in personal injury.
Deploy the inflatable restraint side impact inflator module
outside of the vehicle when the vehicle will be returned to service. Situations
that require deployment outside of the vehicle include the following:
| • | Using the SIR diagnostics, you determine that the inflator module
does not function properly. |
| • | The inflator module is scratched or ripped on the cover. |
| • | The inflator module pigtail (if equipped) is damaged. |
| • | The inflator module connector is damaged. |
| • | An inflator module connector terminal is damaged. |
Deployment and disposal of a malfunctioning inflator module is subject
to any required retention period.
Important: Refer to the latest General Motors Service Bulletins before deploying
a inflator module.
- Turn the ignition switch to the OFF position.
- Remove the ignition key.
- Put on safety glasses.
- Inspect the J 38826
SIR Deployment Harness and the appropriate pigtail adapter for damage.
Replace as needed.
- Short the two SIR deployment harness (1) leads together using
one banana plug seated into the other.
- Connect the appropriate pigtail adapter (2) to the SIR deployment
harness (1).
- Remove the inflatable restraint side impact module. Refer to
Inflatable Restraint Front Seat Side Impact Inflator Module Replacement
for removal.
Caution: When you are carrying an undeployed inflator module:
| • | Do not carry the inflator module by the wires or connector on
the inflator module |
| • | Make sure the bag opening points away from you |
When you are storing an undeployed inflator module, make sure the bag
opening points away from the surface on which the inflator module rests.
When you are storing a steering column, do not rest the column with the bag
opening facing down and the column vertical. Provide free space for the
air bag to expand in case of an accidental deployment. Otherwise, personal
injury may result.
- Place the module with
the vinyl trim cover facing up and away from the surface on a work bench.
- Clear a space on the ground
about 1.85 M (6 ft) in diameter for deployment of the module.
If possible, use a paved, outdoor location free of activity. Otherwise, use
a space free of activity on the shop floor. Make sure you have sufficient
ventilation.
- Make sure no loose or flammable objects are in the area.
- Place the J 39401-B
SIR Deployment Fixture in the center of the cleared area.
- Fill the fixture plastic reservoir with water or sand.
Important: Securely hand tighten all fasteners prior to deployment.
- Mount the module (2) in the SIR deployment fixture (3)
with the vinyl trim cover facing up using one of the following mounting methods.
- To mount, use two M 6 x 1.0 nuts (1) with washers
in order to secure the module (2) to the deployment fixture (3)
brackets (4).
- Extend the SIR deployment
harness and adapter to full length from the module.
- Place a 12 V minimum/2 A minimum power source (i.e.,
vehicle battery) near the shorted end of the harness.
- Connect the module (1)
to the adapter (2) on the SIR deployment harness (3).
- Firmly seat the adapter into the module connector.
- Clear the area of people.
CAUTION: When you are deploying an inflator module for disposal, perform the
deployment procedures in the order listed. Failure to follow the procedures
in the order listed may result in personal injury.
- Separate the two banana
plugs on the SIR deployment harness.
Important: The rapid gas expansion involved with deploying an air bag is very loud.
Notify all the people in the immediate area that you intend to deploy the
inflator module.
Important: When the air bag deploys, the SIR deployment fixture may jump vertically.
This is a normal reaction of the inflator module to the force of the rapid
gas expansion inside the air bag.
- Connect the SIR deployment harness wires to the power source.
- Disconnect the SIR deployment
harness from the power source after the air bag deploys.
- Seat one banana plug into the other in order to short the deployment
harness leads.
- If the air bag did not deploy, disconnect the adapter and discontinue
the procedure. Contact the Technical Assistance Group. Otherwise, proceed
to the following steps.
CAUTION: After an air bag deploys, the metal surfaces of the inflator module
are very hot. To help avoid a fire or personal injury:
| • | Allow sufficient time for cooling before touching any metal surface
of the inflator module. |
| • | Do not place the deployed inflator module near any flammable objects.
|
- Put on a pair of shop
gloves.
- Disconnect the pigtail adapter from the inflator module as soon
as possible.
- Inspect the pigtail adapter and the SIR deployment harness. Replace
as needed.
- Dispose of the deployed module through normal refuse channels.
- Wash hands with a mild soap.
Deployment Inside Vehicle (Vehicle Scrapping Procedure)
Deploy the inflator modules inside of the vehicle when destroying the
vehicle or when salvaging the vehicle for parts. This includes but is not
limited to the following situations:
| • | The vehicle has completed its useful life. |
| • | Irreparable damage occurs to the vehicle in a non-deployment type
accident. |
| • | Irreparable damage occurs to the vehicle during a theft. |
| • | The vehicle is being salvaged for parts to be used on a vehicle
with a different VIN as opposed to rebuilding as the same VIN. |
CAUTION: When you are deploying an inflator module for disposal, perform the
deployment procedures in the order listed. Failure to follow the procedures
in the order listed may result in personal injury.
- Turn the ignition switch
to the OFF position.
- Remove the ignition key.
- Put on safety glasses.
- Remove all loose objects from the front seats.
- Disconnect the inflatable restraint steering wheel module yellow
2-way connector (4) located next to steering column (2).
- Cut the yellow 2-way harness
connector out of the vehicle, leaving at least 16 cm (6 in)
of wire at the connector.
- Strip 13 mm (0.5 in) of insulation from each of
the connector wire leads.
- Cut two 4.6 m (15 ft)
deployment wires from a 0.8 mm (18 gage) or thicker multi-strand
wire. Use these wires to fabricate the driver deployment harness.
- Strip 13 mm (0.5 in) of insulation from both ends
of the wires cut in the previous step.
- Twist together one end from each of the wires in order to short
the wires. Deployment wires shall remain shorted, and not connected to a power
source until you are ready to deploy the air bag.
- Twist together one connector
wire lead to one deployment wire.
- Inspect that the previous connection is secure.
- Bend flat the twisted
connection.
- Secure and insulate the connection using electrical tape.
- Twist together, bend,
and tape the remaining connector wire lead to the remaining deployment wire.
- Connect the deployment harness to the inflatable restraint steering
wheel module yellow 2-way connector.
- Route the deployment harness
out of the vehicle's driver side.
- Disconnect the driver
side air bag/pretensioner yellow 6-way connector (1) from the vehicle
wiring harness (2) located under the driver seat.
- Cut the four SIR wires
(2 for side air bag and 2 for pretensioner) leading to the yellow 6-way harness
connector from the vehicle, leaving at least 16 cm (6 in) of
wire at the connector.
- Strip 13 mm (0.5 in) of insulation from all four
SIR wires connector leads (2 for side air bag and 2 for pretensioner).
- Cut two 6.1 m (20 ft)
deployment wires from a 0.8 mm (18 gage) or thicker multi-strand
wire. Use these wires to fabricate the deployment harness.
- Strip 13 mm (0.5 in) of insulation from both ends
of the wires cut in the previous step.
- Twist together one end from each of the wires in order to short
the wires. Deployment wires shall remain shorted, and not connected to a power
source until you are ready to deploy the side air bag module and pretensioner.
- Twist together two connector
wire leads (1 side air bag and 1 pretensioner) to one of the deployment harness
wires.
- Inspect that the 3 wire connection is secure.
- Bend flat the twisted
connection.
- Secure and insulate the
3 wire connection to deployment harness using electrical tape.
- Twist together two connector
wire leads (1 side air bag and 1 pretensioner) to the deployment harness wire.
- Inspect that the 3 wire connection is secure.
- Bend flat the twisted
connection.
- Secure and insulate the
3 wire connection to deployment harness using electrical tape.
- Connect the deployment harness to the driver side air bag/pretensioner
yellow 6-way connector.
- Route the deployment harness
out of the driver side of the vehicle.
- Disconnect the inflatable
restraint IP module yellow 2-way harness connector (1) from the vehicle
harness connector (2) located above passenger side sound insulator.
- Cut the harness connector
out of the vehicle, leaving at least 16 cm (6 in) of wire at
the connector.
- Strip 13 mm (0.5 in) of insulation from each of
the connector wire leads.
- Cut two 6.1 m (20 ft)
deployment wires from a 0.8 mm (18 gage) or thicker multi-strand
wire. These wires will be used to fabricate the passenger deployment harness.
- Strip 13 mm (0.5 in) of insulation from both ends
of the wires cut in the previous step.
- Twist together one end from each of the wires in order to short
the wires.
- Twist together one connector
wire lead to one deployment wire.
- Bend flat the twisted
connection.
- Secure and insulate the connection using electrical tape.
- Twist together, bend,
and tape the remaining connector wire lead to the remaining deployment wire.
- Connect the deployment harness to the inflatable restraint IP
module yellow 2-way connector.
- Route the deployment harness
out of the passenger side of the vehicle.
- Disconnect the passenger
side air bag/pretensioner yellow 6-way connector (1) from the vehicle
wiring harness (2) located under the driver seat.
- Cut the four SIR wires
(2 for side air bag and 2 for pretensioner) leading to the yellow 6-way harness
connector from the vehicle, leaving at least 16 cm (6 in) of
wire at the connector.
- Strip 13 mm (0.5 in) of insulation from all four
SIR wires connector leads (2 for side air bag and 2 for pretensioner).
- Cut two 6.1 m (20 ft)
deployment wires from a 0.8 mm (18 gage) or thicker multi-strand
wire. Use these wires to fabricate the deployment harness.
- Strip 13 mm (0.5 in) of insulation from both ends
of the wires cut in the previous step.
- Twist together one end from each of the wires in order to short
the wires. Deployment wires shall remain shorted, and not connected to a power
source until you are ready to deploy the side air bag module and pretensioner.
- Twist together two connector
wire leads (1 side air bag and 1 pretensioner) to one of the deployment harness
wires.
- Inspect that the 3 wire connection is secure.
- Bend flat the twisted
connection.
- Secure and insulate the
3 wire connection to deployment harness using electrical tape.
- Twist together two connector
wire leads (1 side air bag and 1 pretensioner) to the deployment harness wire.
- Inspect that the 3 wire connection is secure.
- Bend flat the twisted
connection.
- Secure and insulate the
3 wire connection to deployment harness using electrical tape.
- Connect the deployment harness to the passenger side air bag/pretensioner
yellow 6-way connector.
- Route the deployment harness
out of the passenger side of the vehicle.
- Stretch the passenger
side harnesses to full length.
- Completely cover the windshield and front door window openings
with a drop cloth.
- Place a power source, 12 V minimum/2 A minimum (i.e.,
a vehicle battery) near the shorted end of the harnesses.
- Separate the two ends of the passenger inflatable restraint IP
inflator module deployment harness wires (2).
- Connect the inflatable restraint IP module deployment harness
wires (2) to the power source in order to deploy the inflatable restraint
IP module.
- Disconnect the inflatable restraint IP inflator module deployment
harness wires from the power source.
- Twist together one end of each wire of inflatable restraint IP
module on the passenger side deployment harness in order to short the wires.
- Separate the two ends of the passenger inflatable restraint side
impact/pretensioner inflator modules deployment harness wires (1).
- Connect the inflatable restraint side impact/pretensioner inflator
modules deployment harness wires (1) to the power source in order to
deploy the inflatable restraint side impact and pretensioner inflator modules.
- Disconnect the inflatable restraint side impact/pretensioner inflator
modules deployment harness wires from the power source.
- Twist together one end of each wire of side air bag/pretensioner
modules on the passenger side deployment harness in order to short the wires.
- Stretch the driver side
harnesses to full length.
- Completely cover the windshield and front door window openings
with a drop cloth.
- Place a power source, 12 V minimum/2 A minimum (i.e.,
a vehicle battery) near the shorted end of the harnesses.
- Separate the two ends of the driver inflatable restraint steering
wheel inflator module deployment harness wires (2).
- Connect the inflatable restraint steering wheel module deployment
harness wires (2) to the power source in order to deploy the inflatable
restraint steering wheel module.
- Disconnect the inflatable restraint steering wheel inflator module
deployment harness wires from the power source.
- Twist together one end of each wire of inflatable restraint steering
wheel module on the driver side deployment harness in order to short the wires.
- Separate the two ends of the driver inflatable restraint side
impact/pretensioner inflator modules deployment harness wires (1).
- Connect the inflatable restraint side impact/pretensioner inflator
modules deployment harness wires (1) to the power source in order to
deploy the inflatable restraint side impact and pretensioner inflator modules.
- Disconnect the inflatable restraint side impact/pretensioner inflator
modules deployment harness wires from the power source.
- Twist together one end of each wire of side air bag/pretensioner
modules on the driver side deployment harness in order to short the wires.
- Remove the drop cloth from the vehicle.
- Disconnect all harnesses from the vehicle.
- Discard the harnesses.
- Scrap the vehicle in the same manner as a non-SIR equipped vehicle.
- If one or all of the inflator modules did not deploy, perform
the following steps to remove the undeployed module(s) from the vehicle:
- Call the Technical Assistance Group for further assistance.
Handling a Deployed Inflator Module
After the inflator module has deployed, the surface of the air bag may
contain a powdery residue. This powder consists primarily of cornstarch (used
to lubricate the bag as it inflates), and by-products of the chemical reaction.
The deployment reaction produces sodium hydroxide dust (similar to lye soap).
The sodium hydroxide quickly reacts with the atmospheric moisture. This
atmospheric moisture converts the sodium hydroxide into sodium carbonate
and sodium bicarbonate (baking soda). Therefore, you will probably find no
sodium hydroxide present after the deployment. Gloves and safety glasses
are recommended, however, as a precaution. Gloves and safety glasses help
to prevent possible irritation of the skin or eyes.