GM Service Manual Online
For 1990-2009 cars only
Makes
🢒
Cadillac
🢒
2000
🢒
Seville
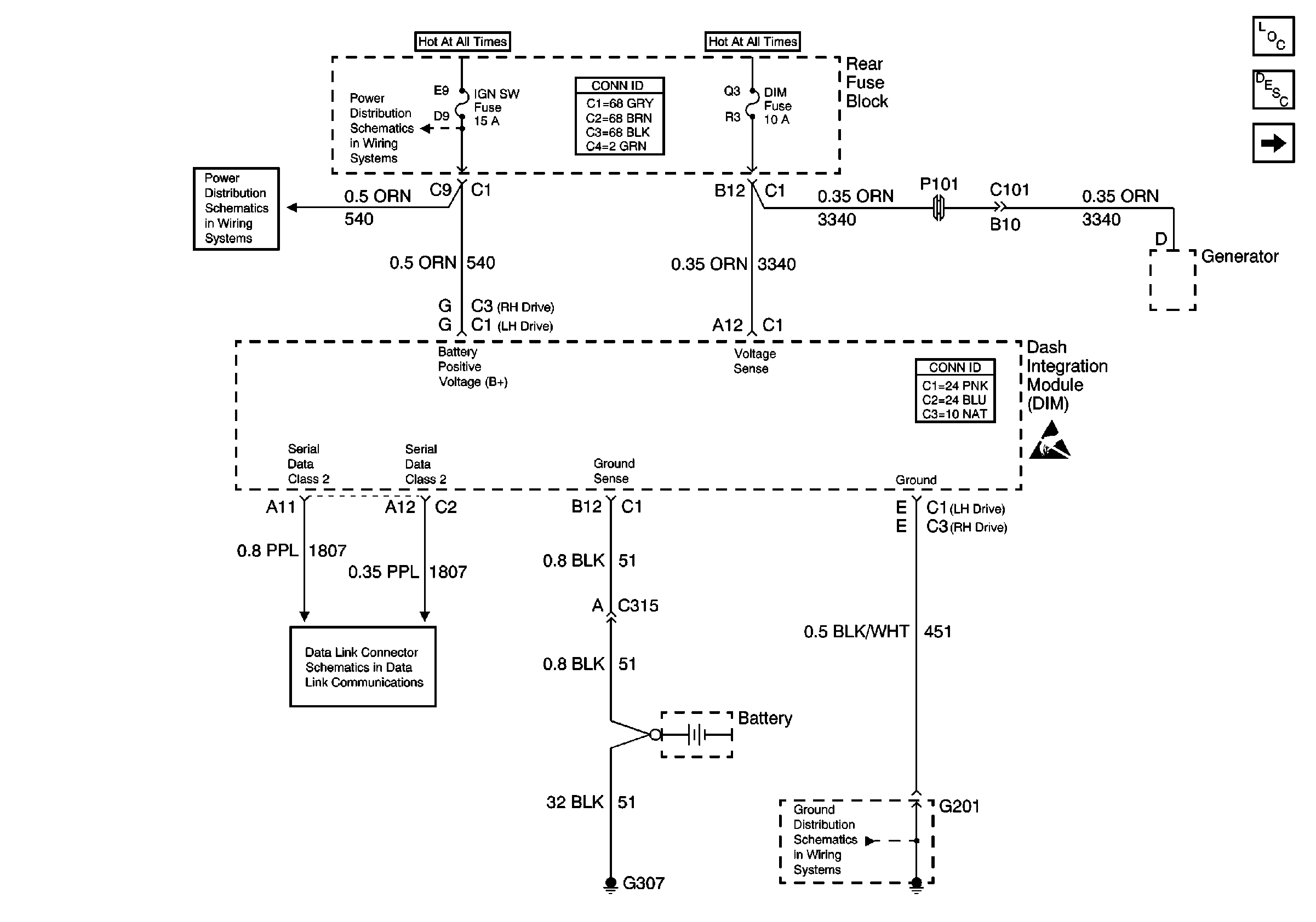
🢒 DIM Power and Ground
DIM Power and Ground
DIM Power and Ground
Body Control Module Components
Body Control System Circuit Description
DIM Ignition Inputs
Handling ESD Sensitive Parts Notice
IGN SW, HTDST LR, HTDST RR, and HTDST RF Fuses
IGN SW, HTDST LR, HTDST RR, and HTDST RF Fuses
Class 2 Serial Data Line (LH Drive)
G201 (Partial)