GM Service Manual Online
For 1990-2009 cars only
Makes
🢒
Cadillac
🢒
2000
🢒
Seville
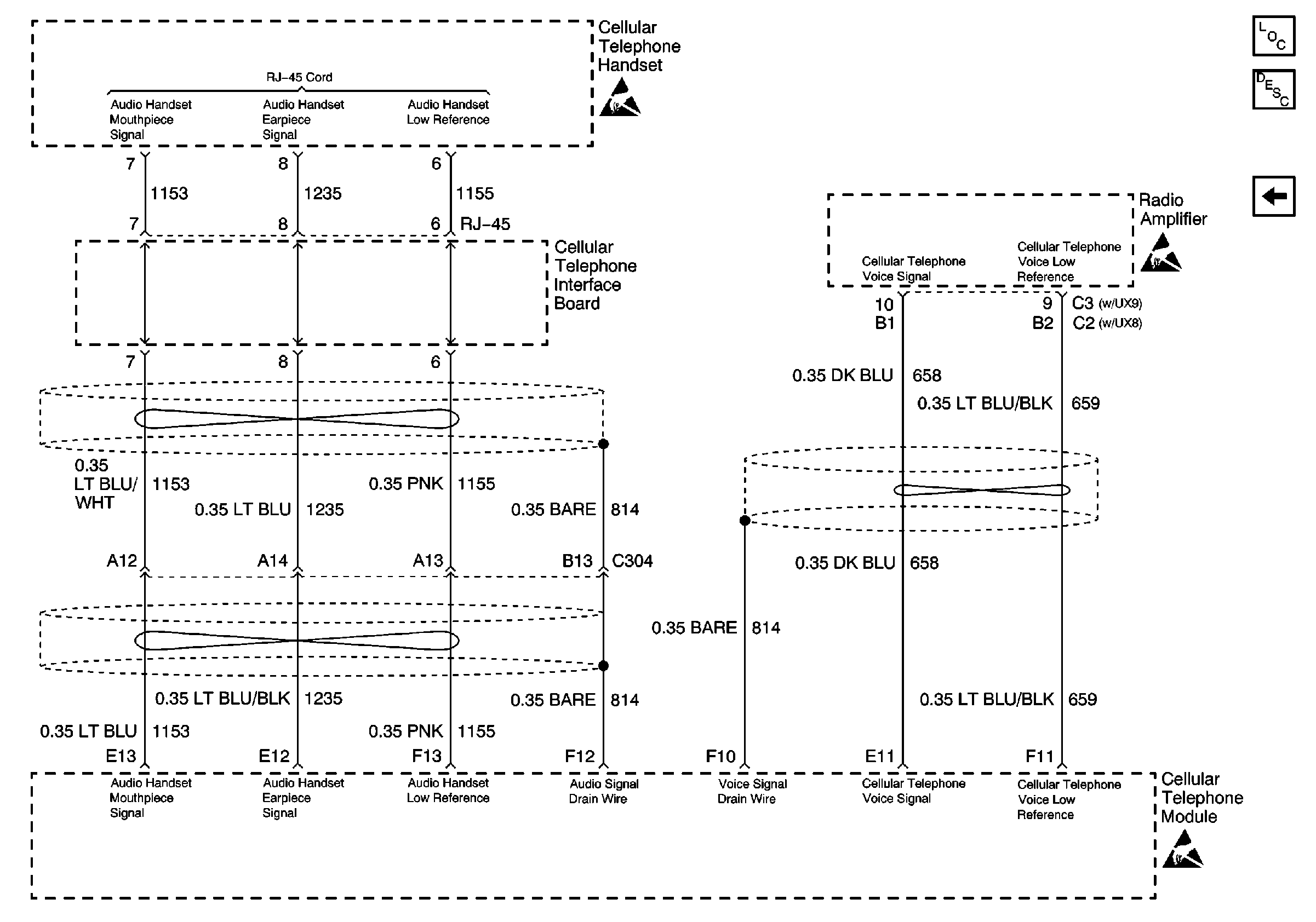
🢒 Handset and Radio Amplifier (w/o UE1)
Handset and Radio Amplifier (w/o UE1)
Handset and Radio Amplifier (w/o UE1)
Cellular Communication Components
Cellular Telephone Circuit Description
Handset and Microphone (w/o UE1)
Handling ESD Sensitive Parts Notice
Handling ESD Sensitive Parts Notice
Handling ESD Sensitive Parts Notice