GM Service Manual Online
For 1990-2009 cars only
Makes
🢒
Cadillac
🢒
2000
🢒
Seville
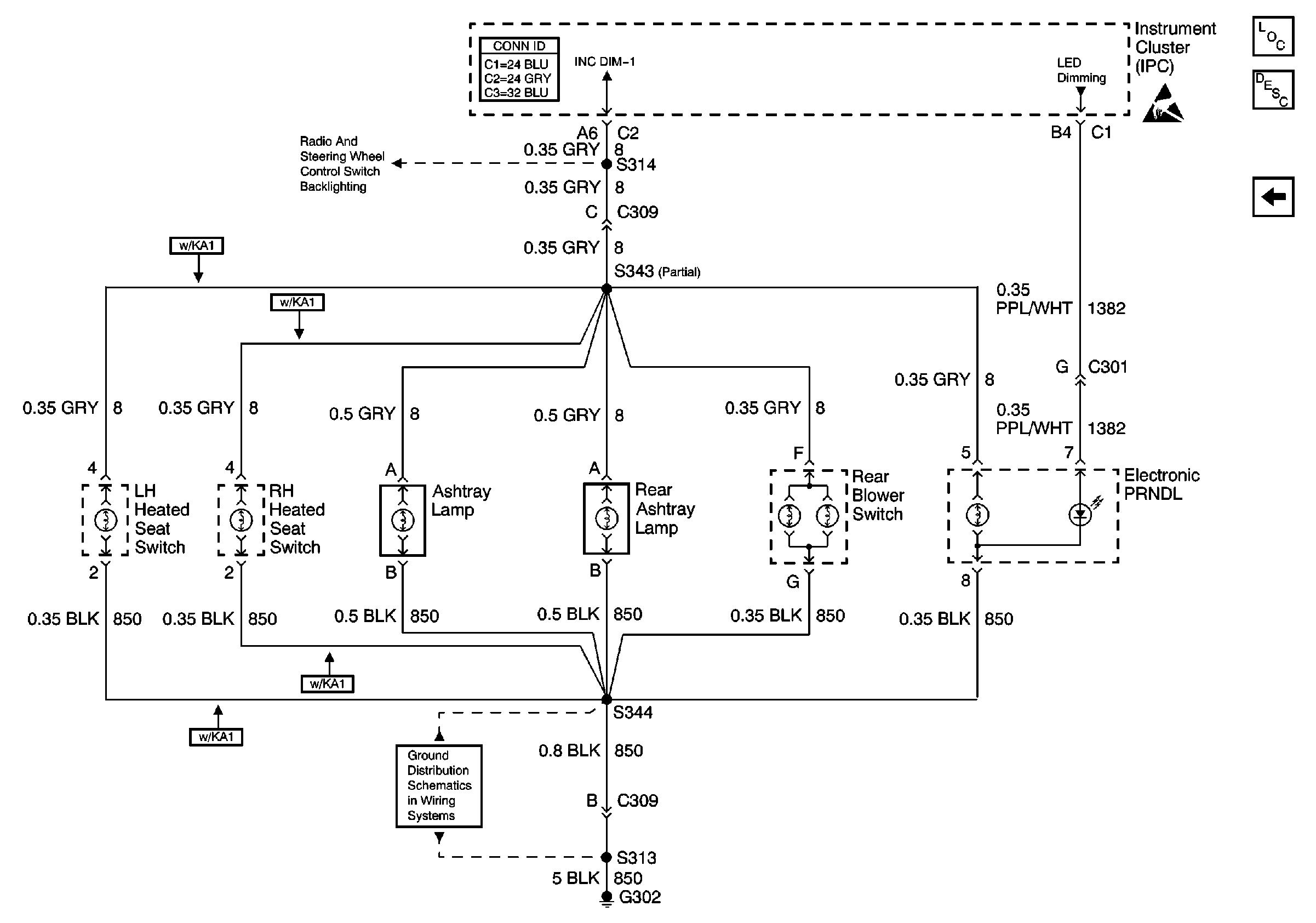
🢒 Console Backlighting
Console Backlighting
Console Backlighting
Lighting Systems Components
Interior Lights Dimming Circuit Description
Instrument Panel Backlighting
Instrument Panel Backlighting
G302 (1 of 2)
Handling ESD Sensitive Parts Notice