GM Service Manual Online
For 1990-2009 cars only
Makes
🢒
Cadillac
🢒
2000
🢒
Seville
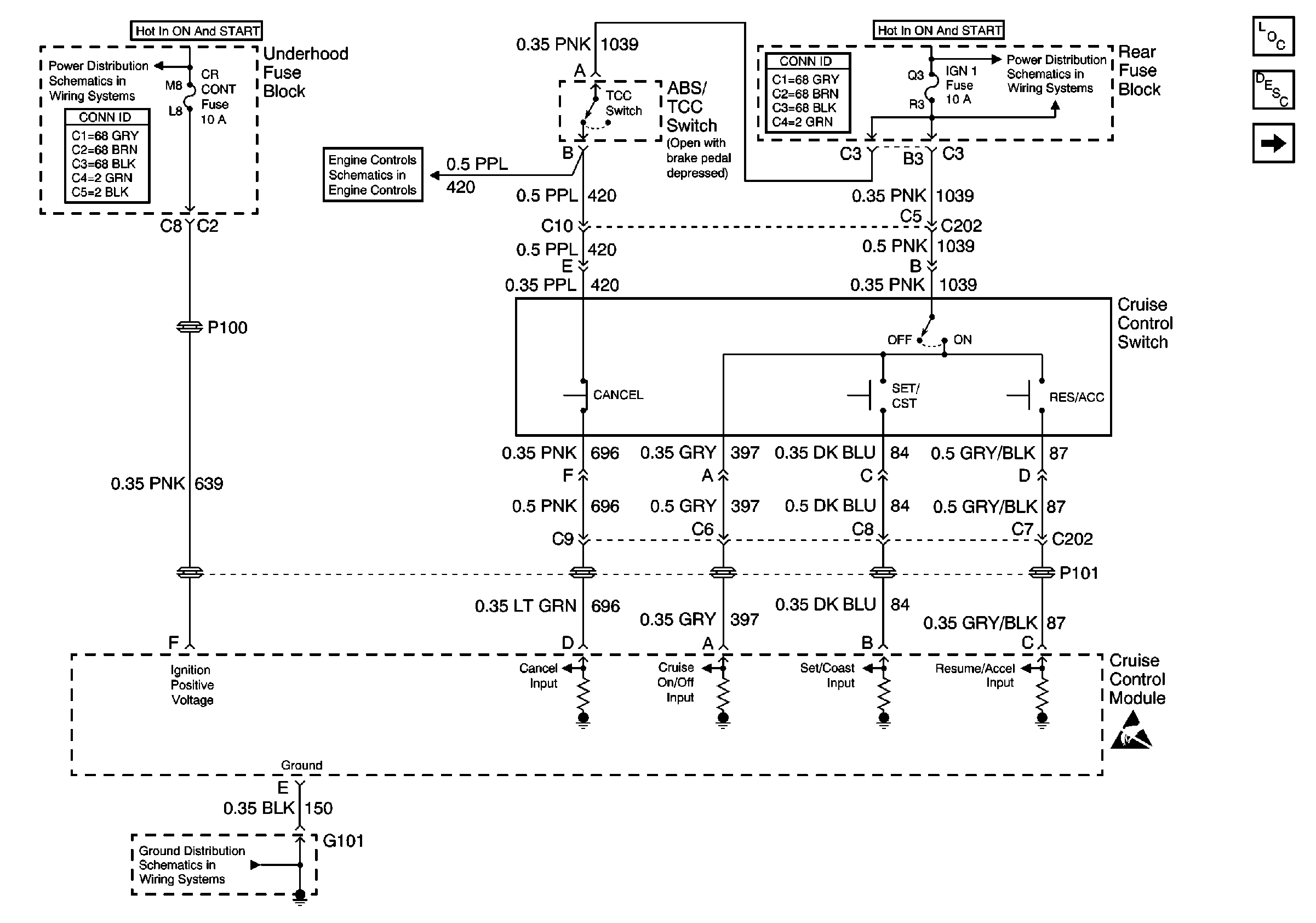
🢒 Multifunction Lever and Cruise Control Module Power and Ground
Multifunction Lever and Cruise Control Module Power and Ground
Multifunction Lever and Cruise Control Module Power and Ground
Cruise Control Components
Cruise Control System Circuit Description
Cruise Control Module PCM Controls and Vehicle Speed Input
OXYSENA, OXYSENB, DIS and CRCONT Fuses
IGN 1 Relay and SIR, Vent SOL, IGN 1 Fuses
Handling ESD Sensitive Parts Notice
ABS/TCC Switch and Transaxle Solenoids
G101 and G105