GM Service Manual Online
For 1990-2009 cars only
Makes
🢒
Cadillac
🢒
2000
🢒
Seville
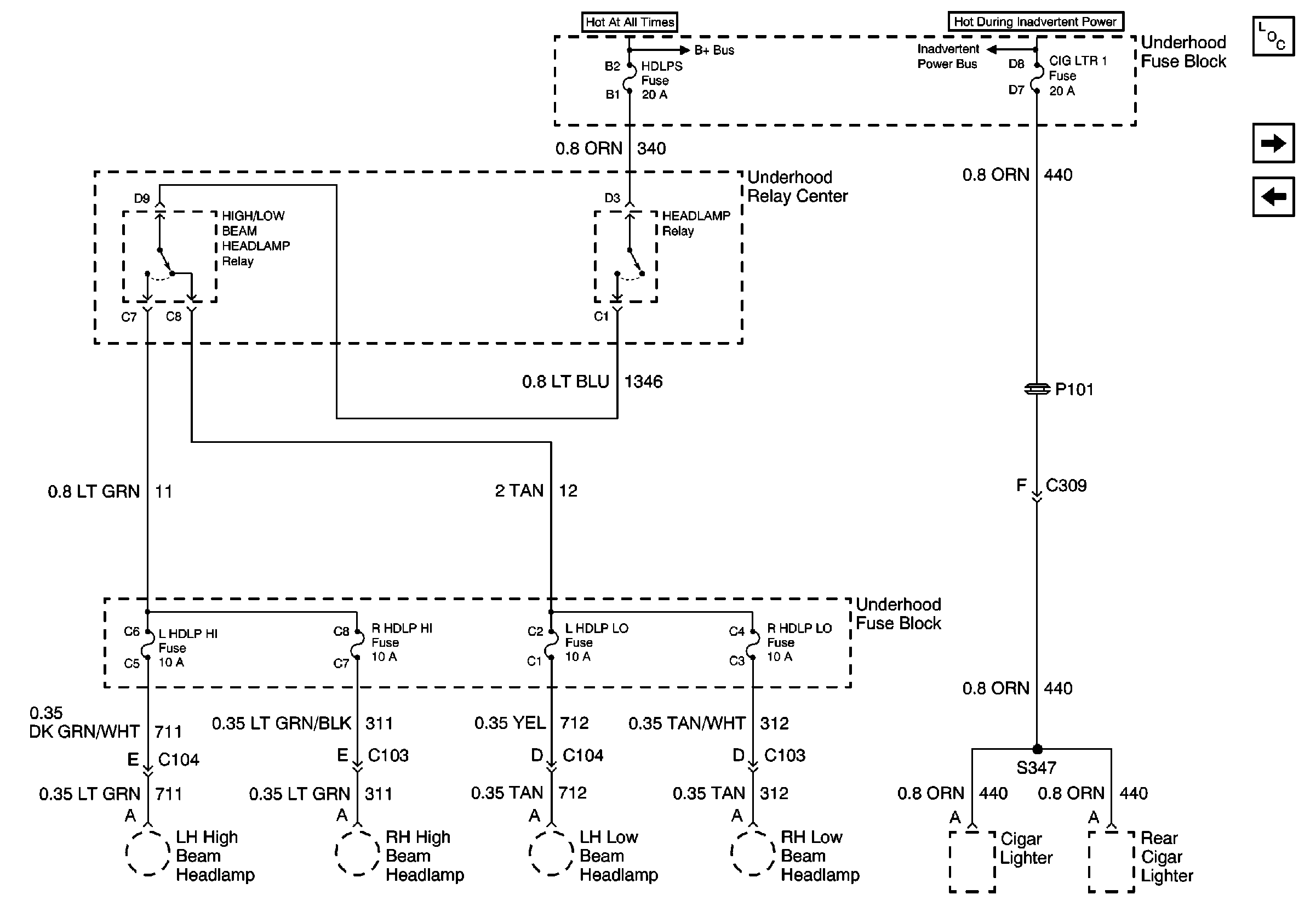
🢒 HDLPS and CIG LTR 1 Fuses
HDLPS and CIG LTR 1 Fuses
HDLPS and CIG LTR 1 Fuses
Power and Grounding Components
MIRROR, DRL, and FOG Fuses
INT LPS Fuse
BODY 3 and INADVERT Fuses