GM Service Manual Online
For 1990-2009 cars only
Makes
🢒
Cadillac
🢒
2000
🢒
Seville
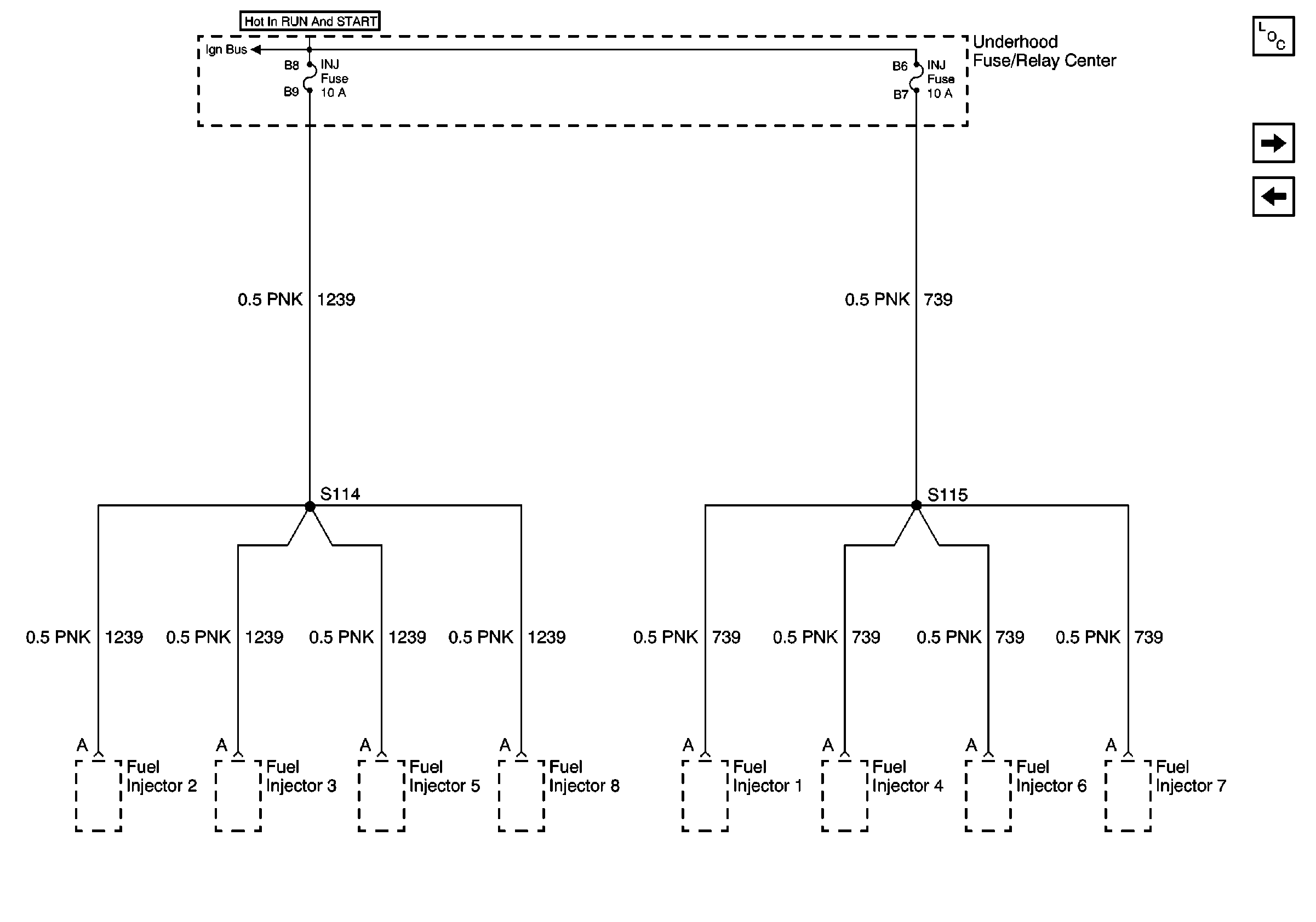
🢒 INJ Fuses
INJ Fuses
INJ Fuses
Power and Grounding Components
STOP, HAZARD, CNR LP, CRANK, and IGN 0 (ENG) Fuses
MIRROR, DRL, and FOG Fuses
BATT 2 Fuse and Ignition Switch (2 of 2)