GM Service Manual Online
For 1990-2009 cars only
Makes
🢒
Cadillac
🢒
2000
🢒
Seville
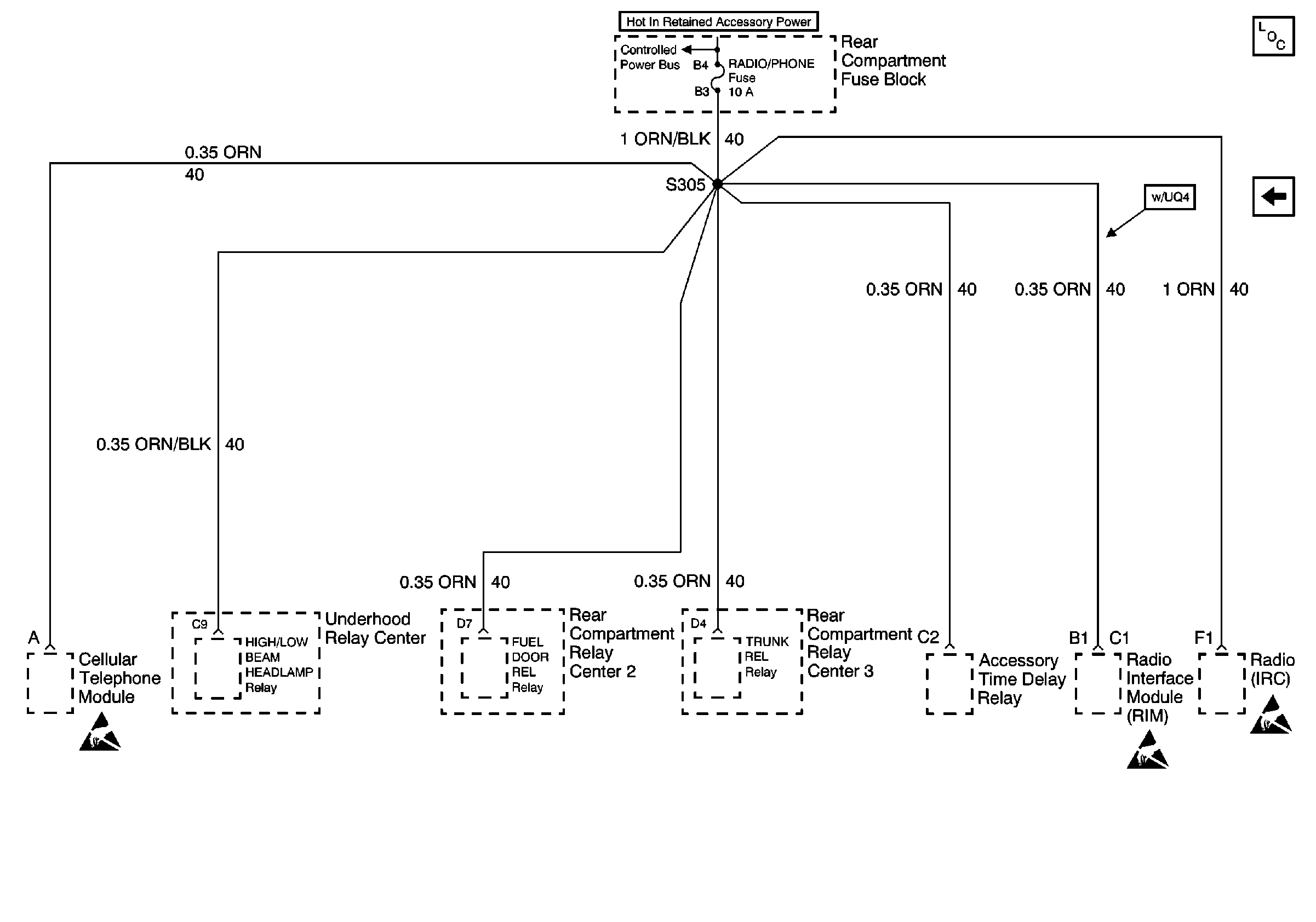
🢒 RADIO/PHONE Fuse
RADIO/PHONE Fuse
RADIO/PHONE Fuse
Power and Grounding Components
LT PARK Fuse
BODY 3 and INADVERT Fuses
Handling ESD Sensitive Parts Notice
Handling ESD Sensitive Parts Notice
Handling ESD Sensitive Parts Notice