GM Service Manual Online
For 1990-2009 cars only
Makes
🢒
Cadillac
🢒
2000
🢒
Seville
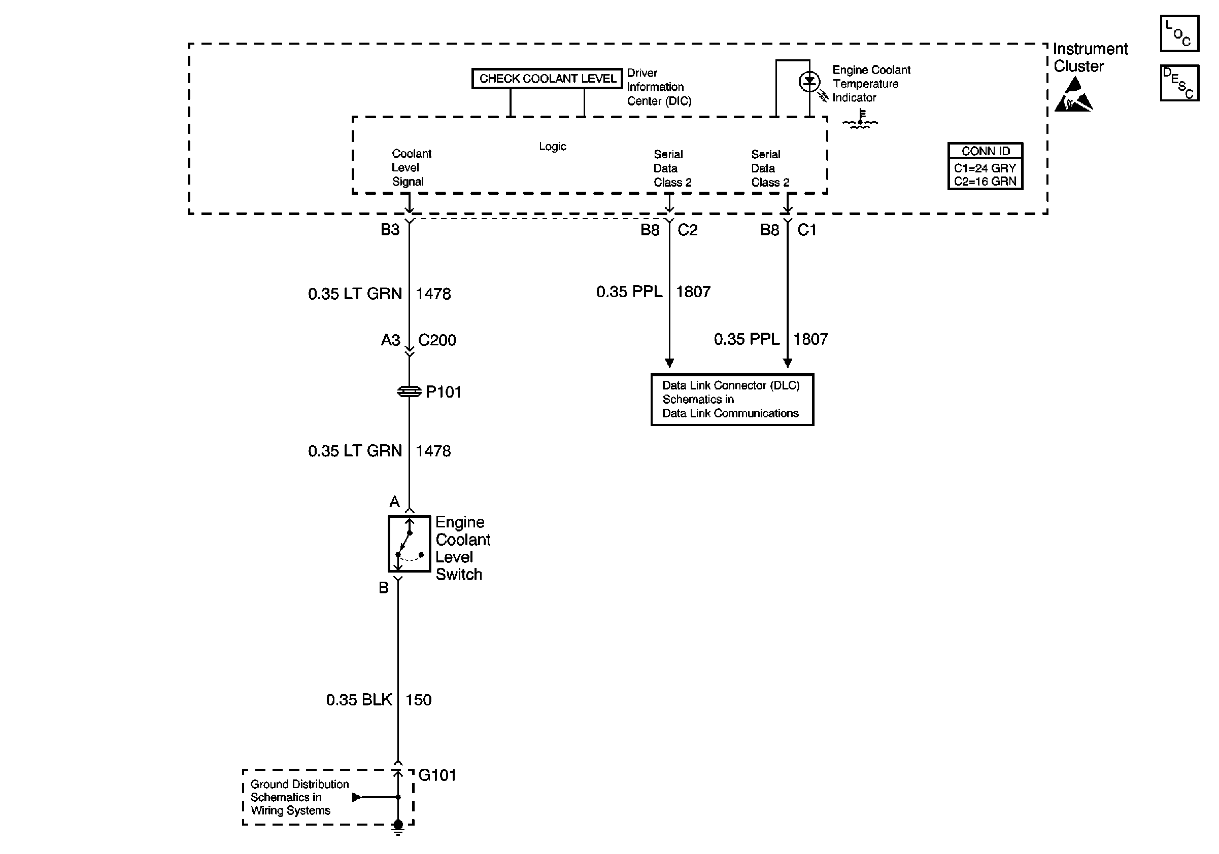
🢒 Coolant Level Switch Signal
Coolant Level Switch Signal
Coolant Level Switch Signal
Cooling System Components
Engine Cooling Fan Description - Electric
Class 2 Serial Data Line (LH Drive)
G101 and G105
Handling ESD Sensitive Parts Notice