GM Service Manual Online
For 1990-2009 cars only
Makes
🢒
Cadillac
🢒
2000
🢒
Seville
🢒 Ignition Lock Control
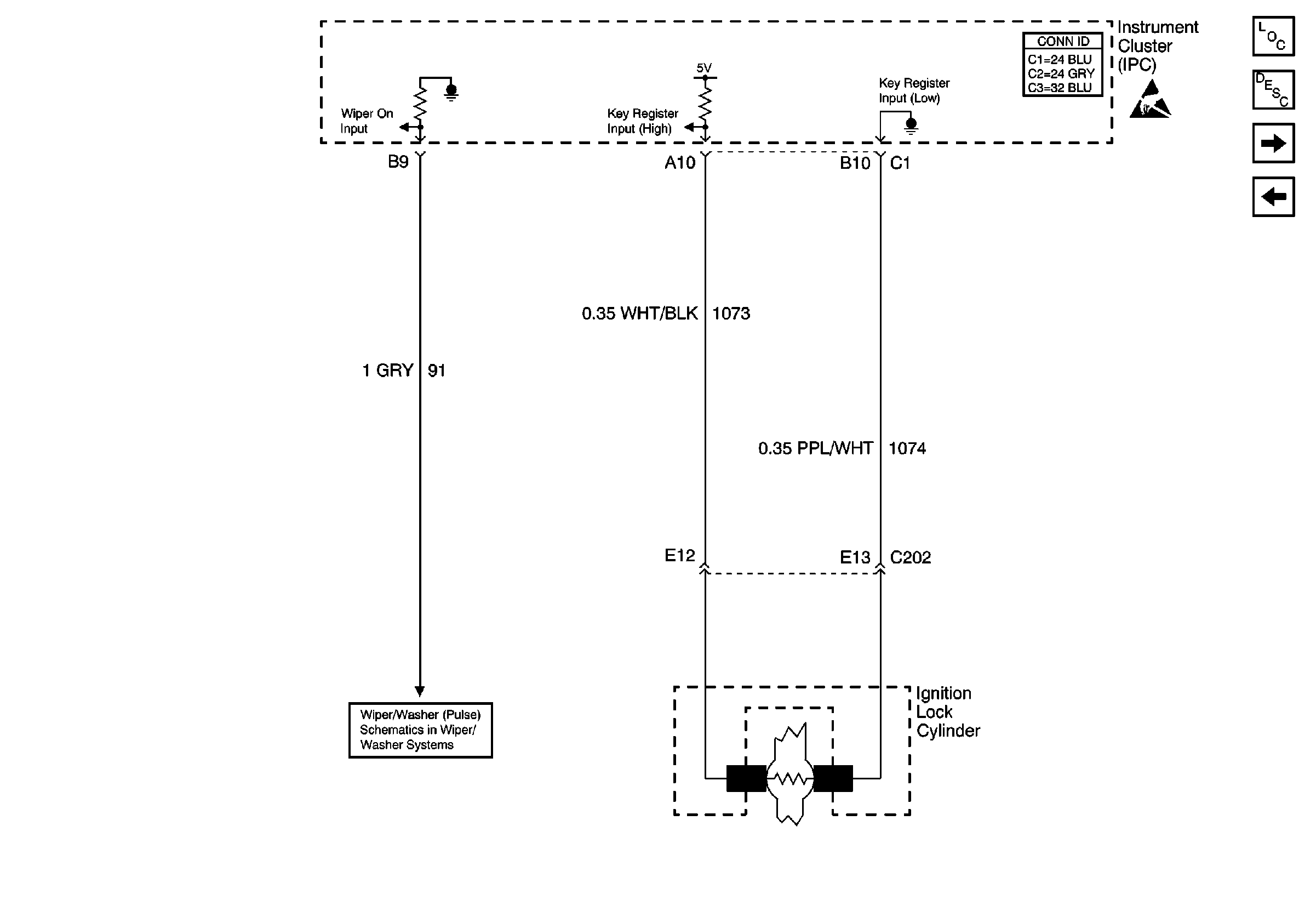
Ignition Lock Control
Ignition Lock Control
Instrument Panel, Gages, and Console Connector End Views
Instrument Cluster Circuit Description
Interior Lighting and Park Switch Signals
Power, Ground, and Warning Switches
Wiper/Washer System (Pulse) Schematics w/o CE1