GM Service Manual Online
For 1990-2009 cars only
Makes
🢒
Cadillac
🢒
2000
🢒
Seville
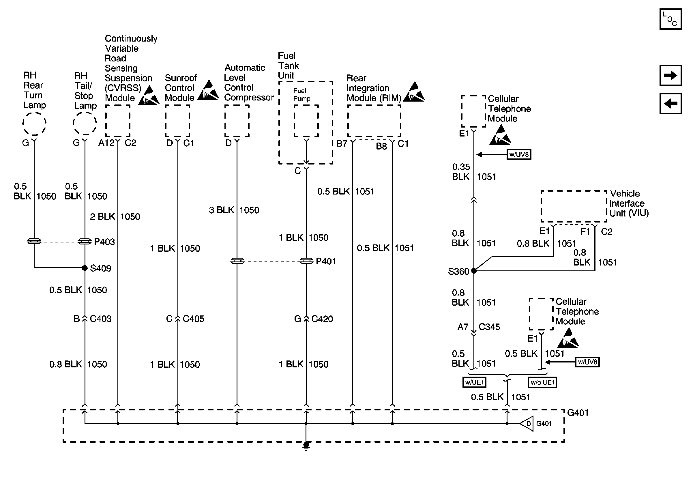
🢒 G401 1 of 3
G401 1 of 3
G401 1 of 3