GM Service Manual Online
For 1990-2009 cars only

Object Number: 576281  Size: LF

Circuit Description

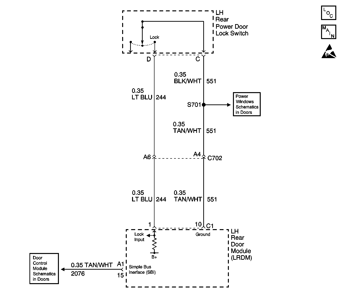
The LH Rear Power Door Lock Switch provides a LH rear seat occupant with the ability to initiate a lock all doors signal.

Whenever the Power Door Lock Switch is moved to the LOCK position, a ground is provided on the LH Rear Door Module (LRDM), Connector C1, terminal 1 input, through CKT 244 (LT BLU).

The Power Door Lock Switch ground is provided from the LRDM via CKT 551 (TAN/WHT). If CKT 551 (TAN/WHT) is open the LH Rear power window will also exhibit problems, since both the Power Door Lock Switch and the Power Window Switch share a common ground.

Module power is furnished through CKT 840 (ORN). If CKT 840 (ORN) is open or shorted to ground, the LH Rear power window will also exhibit problems.

When this Power Door Lock Switch is placed in the LOCK position, the lock signal is sensed by the LRDM, which then sends to the driver door module over the SBI. The driver door module sends this message to the Rear Interface Module (RIM), requesting a command to lock all doors, since the RIM is the door lock master. The RIM will check to see is the key is in the ignition and a door is open prior to sending a lock all doors command. Any problem with the SBI or driver door module will affect all door lock and window functions.

Conditions for Setting the DTC

If the LOCK signal to the LRDM remains grounded for a period of 30 seconds, this DTC will be set current. The LOCK signal from CKT 244 (LT BLU) is examined by the LRDM no less than once every 300 milliseconds.

The diagnostic for this DTC will not run if either the Battery Voltage High (DTC B1982) or Battery Voltage Low (DTC B1983) are set current.

Action Taken When the DTC Sets

This DTC is dynamic, and as such, is current only while the problem is present. This switch actuation will be ignored by the LRDM until a switch change of state is detected.

Conditions for Clearing the DTC

    • This DTC will be set from current to history when the LOCK input cycles off or the power mode changes from OFF to RUN.
    • The history DTC will clear after 50 ignition cycles.
    • Use the On-Board clearing DTC feature.
    • Use a scan tool.

Diagnostic Aids

    • A history DTC is evidence of a intermittent problem, clear the DTC and cycle the ignition switch from OFF to RUN. Then perform the Diagnostic System Check.
    • If DTC B2224 is current, cycle the ignition switch from OFF to RUN. If this DTC is still current, perform the following diagnostic.

Test Description

Numbers below refer to the Diagnostic Table Step Number(s).

  1. Perform the system check prior to diagnosis.

  2. Checking the LH Rear Power Door Switch for an internal short.

  3. This repair procedure requires power window switch replacement.

  4. Checking the LH Rear Power Door Lock Switch operation.

  5. This repair procedure requires the repair CKT 244 for a short to ground.

  6. This repair procedure requires LH Rear Door Module replacement.

  7. Clear all DTCs following repair procedure completion.

DTC B2224 LR Door Lock/Unlock Switch Stuck in Lock

Step

Action

Value(s)

Yes

No

1

Did you perform Diagnostic System Check - Power Door Systems ?

--

Go to Step 2

Go to Diagnostic System Check - Power Door Systems

2

  1. Disconnect the LH Rear Power Door Lock Switch.
  2. Without pressing the LH Rear Power Door Lock Switch, using a digital multimeter (DMM), measure the resistance between the LH Rear Power Door Lock Switch terminal C and terminal D.

Is the resistance within the specified range?

0-5 ohms

Go to Step 3

Go to Step 4

3

Replace the LH Rear Power Door Lock Switch. Refer to Door Lock Switch Replacement .

Is the repair complete?

--

Go to Step 7

--

4

  1. Turn the ignition switch to the ON position, engine off.
  2. Using a DMM, measure the voltage between the LH Rear Power Door Lock Switch harness connector terminal C and terminal D.

Is the voltage within specified range?

10-15 V

Go to Step 6

Go to Step 5

5

Repair CKT 244 for a short to ground. Refer to Wiring Repairs in Wiring Systems.

Is the repair complete?

--

Go to Step 7

--

6

Replace the LH Rear Door Module (LRDM). Refer to Door Control Module Replacement .

Is the repair complete?

--

Go to Step 7

--

7

  1. Turn off the ignition switch.
  2. Reconnect or reinstall any connectors or components that were disconnected or removed.
  3. Turn ON the ignition switch.
  4. Clear any DTCs. Refer to Diagnostic Trouble Code (DTC) Clearing.

Are all DTCs cleared?

--

Go to Diagnostic System Check - Power Door Systems

--