GM Service Manual Online
For 1990-2009 cars only

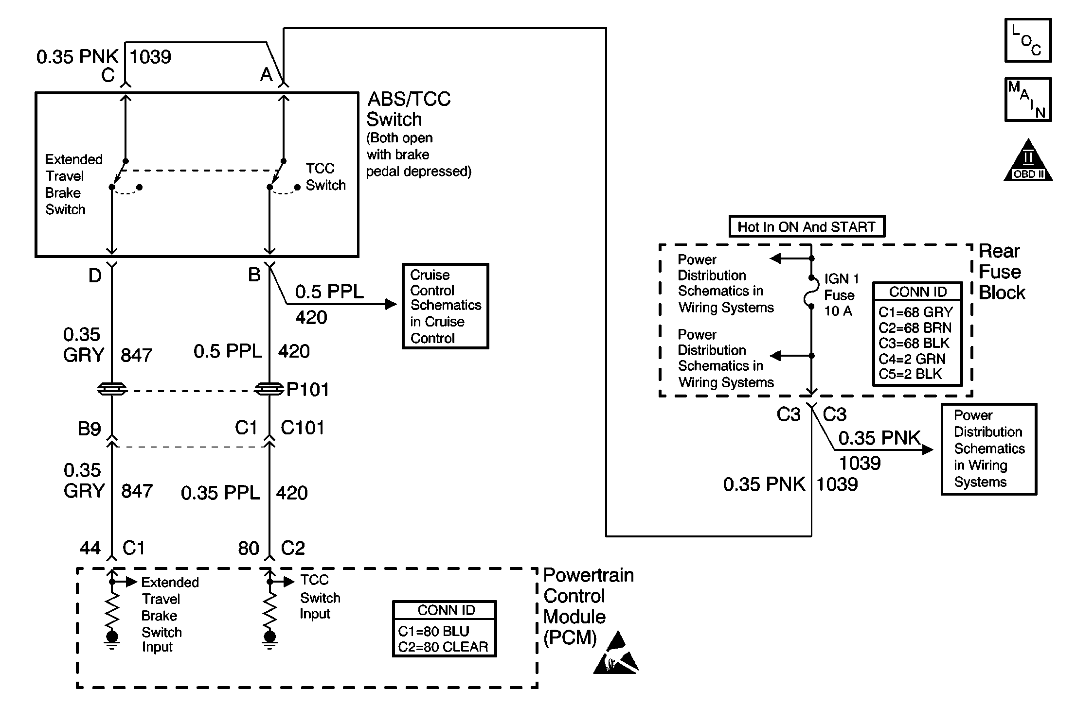
Object Number: 603433  Size: MF
Engine Controls Components
ABS/TCC Switch and Transaxle Solenoids
OBD II Symbol Description Notice
Handling ESD Sensitive Parts Notice

Circuit Description

This diagnostic test functions on the assumption that a sudden decrease in non-drive (rear) wheel speed must be caused by a brake application. Non-drive wheel speed and stop lamp switch status are supplied to the PCM through serial data from the electronic brake and traction control module (EBCM). If there is a 6 MPH or more decrease of non-drive wheel speed in 0.4 second and a transition of the TCC contacts at the TCC brake switch or stop lamp switch without a transition of the extended travel contacts of the TCC brake, DTC P1575 is set.

Conditions for Running the DTC

    •  DTCs P0703, P1574 and P1604 not set
    • The traction control and antilock brake systems have not failed
    • The traction control and antilock brake systems are not active.
    • The non-drive wheel speed goes above 20 MPH and then does not go below 4 MPH.

Conditions for Setting the DTC

A 6 MPH or more decrease in non-drive wheel speed in 0.4 second and TCC brake switch or Stop/BTSI/Cruise brake switch indicating brakes applied and no transition is noticed in the extended travel contacts of the TCC brake switch indicating brakes applied.

Action Taken When the DTC Sets

    • The PCM disables cruise control.
    • The PCM will set the extended travel brake switch status to not applied.
    • The malfunction indicator lamp (MIL) will not illuminate.
    • The PCM will command a message to be displayed.
    •  The PCM may record operating conditions at the time the diagnostic fails. This information will be stored in the Failure Records.

Conditions for Clearing the Message/DTC

    •  The PCM will turn the message OFF after one run and pass of the diagnostic test.
    •  A History DTC will clear after forty consecutive warm-up cycles with no failures of any non-emission related diagnostic test.
    •  A Last Test Failed (current) DTC will clear when the diagnostic runs and does not fail.
    • Use a scan tool to clear DTCs.
    • Interrupting PCM battery voltage may or may not clear DTCs. This practice is not recommended. Refer to Clearing Diagnostic Trouble Codes in Powertrain Control Module (PCM) .

Diagnostic Aids

If the condition is intermittent, refer to Intermittent Conditions in Symptoms.

Step

Action

Values

Yes

No

1

Did you perform the Powertrain On-Board Diagnostic (OBD) System Check?

--

Go to Step 2

Go to Powertrain On Board Diagnostic (OBD) System Check

2

  1. Turn ON the ignition, with the engine OFF.
  2. With the scan tool, observe the Extended Travel Brake display.

Does the scan tool display indicate Released?

--

Go to Step 3

Go to Step 6

3

Depress the brake pedal approximately half-way.

Does the scan tool display indicate Applied?

--

Go to Diagnostic Aids

Go to Step 4

4

Disconnect the extended travel brake switch connector.

Does the scan tool display indicate Applied?

--

Go to Step 14

Go to Step 5

5

Test for a short to voltage on the extended travel brake switch signal circuit.

Did you find and correct the condition?

--

Go to Step 17

Go to Step 16

6

With a scan tool, observe the TCC brake switch display.

Does the scan tool display indicate Released?

--

Go to Step 7

Go to Step 11

7

  1. Disconnect the extended travel brake switch connector.
  2. Test for an open ignition supply voltage circuit to the extended travel brake switch.

Did you find and correct the condition?

--

Go to Step 17

Go to Step 8

8

  1. Jumper the ignition supply voltage circuit to the extended travel brake switch signal circuit at the extended travel brake switch harness connector.
  2. With a scan tool, observe the extended travel brake switch display.

Does the scan tool indicate Released?

--

Go to Step 9

Go to Step 10

9

Inspect for poor connections at the TCC/extended travel brake switch.

Did you find and correct the condition?

--

Go to Step 17

Go to Step 14

10

Test for the following conditions:

    • Open extended travel brake switch signal circuit
    • Poor connections at the PCM

Did you find and correct the condition?

--

Go to Step 17

Go to Step 16

11

Inspect the Relay IGN 1 for an open fuse.

Is the fuse open?

--

Go to Step 12

Go to Step 13

12

  1. Test for a short to ground in the following circuits:
  2. • Ignition feed circuit to the TCC/extended travel brake switch
    • Extended travel brake switch Input circuit
    • TCC brake switch Input circuit
  3. If a condition is found, be sure to replace the fuse.

Did you find and correct the condition?

--

Go to Step 17

Go to Diagnostic Aids

13

Test for an open in the ignition feed circuit to the TCC/extended travel brake switch assembly.

Did you find and correct the condition?

--

Go to Step 17

Go to Step 14

14

Test for proper TCC/extended travel brake switch adjustment.

Did the switch require adjustment?

--

Go to Step 17

Go to Step 15

15

Replace the TCC/extended travel brake switch.

Is the action complete?

--

Go to Step 17

--

16

Important: The replacement PCM must be programmed.

Replace the PCM. Refer to Powertrain Control Module Replacement/Programming .

Is the action complete?

--

Go to Step 17

--

17

  1. Review and record the scan tool Fail Records Information.
  2. Clear the DTCs.
  3. Operate the vehicle within the Conditions for Running the DTC.
  4. With the scan tool, monitor the Specific DTC Information for DTC P1575 until the test runs.

Does the scan tool indicate that DTC P1575 passed?

--

System OK

Go to Step 2