GM Service Manual Online
For 1990-2009 cars only

Object Number: 562629  Size: MF
Body Control Module Components
HVAC Air Delivery/Temperature Control Schematics
Handling ESD Sensitive Parts Notice
Data Link Connector Schematics

Circuit Description

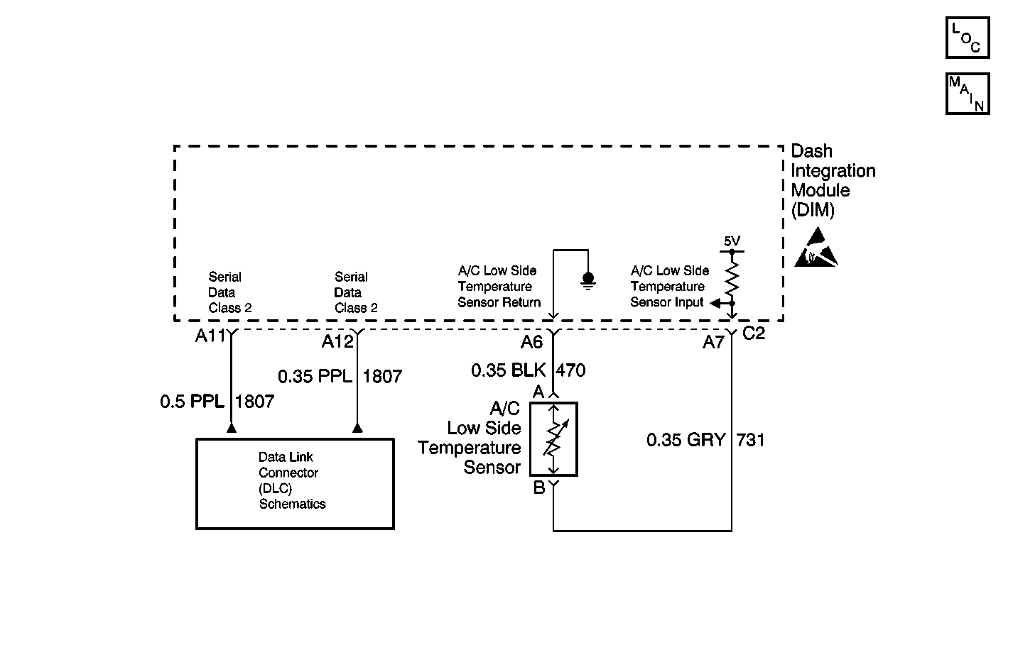
The A/C low side temperature sensor is a thermistor that controls signal voltage to the Dash Integration Module (DIM). The DIM supplies voltage on circuit 731. When the sensor is cold, the resistance is high and the DIM will sense a high signal voltage at terminal A7, connector C2. When the sensor warms, resistance is reduced and the signal voltage is pulled low through circuit 470. Signal voltage will vary from 5 V (open circuit) to 0 V (short circuit).

Conditions for Setting the DTC

    • The ignition is ON.
    • Circuit short or Open.

Action Taken When the DTC Sets

    • The A/C compressor clutch will not engage.
    • The driver information center will display service A/C system.
    • A default temperature reading of 6°C (43°F) will be implemented.

Conditions for Clearing the MIL/DTC

    • Using a Scan Tool .
    • A current DTC will clear when the diagnostic runs and does not fail.
    • The battery voltage for the DIM is interrupted.

Test Description

The numbers below refer to the step numbers on the diagnostic table.

  1. Perform the Body Control Module (BCM) Diagnostic System Check before continuing with the diagnosis of this DTC.

  2. Determines if the sensor or the DIM is malfunctioning.

  3. Clears all of the DTCs after the repair procedures are complete.

Step

Action

Value(s)

Yes

No

1

Was the BCM diagnostic system check performed?

--

Go to Step 2

Go to Diagnostic System Check - Body Control System in Body Control Systems

2

  1. Disconnect the A/C low side temperature sensor.
  2. Turn the ignition ON.
  3. Measure the voltage between terminal A and terminal B of the A/C low side temperature sensor connector.

Refer to Measuring Voltage in Wiring Systems.

Is the voltage near the specified value?

5 V

Go to Step 4

Go to Step 3

3

Measure the voltage between terminal A6 and terminal A7, connector C2 of the Dash Integration Module (DIM).

Refer to Measuring Voltage in Wiring Systems.

Is the voltage near the specified value?

5 V

Go to Step 6

Go to Step 5

4

Replace the sensor. Refer to Temperature Sensor Replacement - Low Side in Heating, Ventilation, and Air Conditioning.

Is the repair complete?

--

Go to Step 8

--

5

Replace the DIM. Refer to Dash Integration Module Replacement in Body Control Systems.

Is the repair complete?

--

Go to Step 8

--

6

Repair open in CKT  731 (GRY).

Refer to Wiring Repairs in Wiring Systems.

Is the wire repair complete?

--

Go to Step 7

--

7

Inspect for an open or short in CKT 470 (BLK).

Refer to Wiring Repairs in Wiring Systems.

Was an open or short condition repaired?

--

Go to Step 8

--

8

  1. Using the Scan Tool clear all the DTCs.
  2. Confirm the operation of the A/C system.

Is the A/C system operating normally?

--

Go to Diagnostic System Check - Body Control System in Body Control Systems

--