GM Service Manual Online
For 1990-2009 cars only

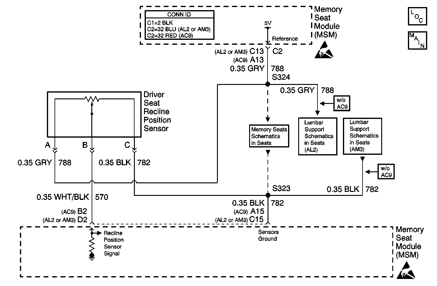
Object Number: 574228  Size: MF
Power Seat Component Views
Recline, Headrest Motors and Position Sensors; Class 2
Memory Seats Schematics
Lumbar Support Schematics
Lumbar Support Schematics
Handling ESD Sensitive Parts Notice
Handling ESD Sensitive Parts Notice

Circuit Description

The position sensor is either attached to the seat directional motor drive cable or directly to the motor it monitors. It receives a 5 V reference and ground from the memory seat module. The sensor also has a signal circuit that is wired to the MSM. The sensor sends a voltage signal that varies with the movement of the seat through the signal circuit to the MSM. Then based on this voltage signal, the MSM determines the position of the seat.

Conditions for Running the DTC

The MSM must be powered and can not have B1327-Battery Voltage Low set as an active DTC for this DTC to set.

Conditions for Setting the DTC

If the MSM sees the input from this sensor as either lower than 0.25 V or higher than 4.75 V, the sensor will be considered out of range and the MSM will set this DTC.

Action Taken When the DTC Sets

The MSM disables the memory recall and easy exit/entry action commands of the motor monitored by the sensor. The motor will respond to manual positioning commands.

Conditions for Clearing the MIL/DTC

The MSM will clear the DTC as an active malfunction when the MSM sees the analog input from this sensor as between 0.25 V and 4.75 V during one cycle of checking the MSM inputs.

Diagnostic Aids

    • If the 5 volt reference circuit is shorted to ground multiple codes will set.
    • If the 5 volt reference circuit is open at the massage module (AM3) multiple codes will set.
    • If the sensor ground circuit is open multiple codes will set.

Test Description

The numbers below refer to the step numbers on the diagnostic table.

  1. Tests for the proper operation of the circuit in the low voltage range.

  2. Tests for the proper operation of the circuit in the high voltage range. If the fuse in the jumper opens when you perform this test, the signal circuit is shorted to ground.

  3. Tests for a short to voltage in the 5 volt reference circuit.

  4. Tests for a high resistance or an open in the ground circuit.

  5. This step verifies the repair.

Step

Action

Value(s)

Yes

No

1

Did you perform the Diagnostic System Check - Power Seat Systems?

--

Go to Step  2

Go to Diagnostic System Check - Power Seat Systems

2

  1. Install a scan tool.
  2. Turn ON the ignition, with the engine OFF.
  3. With a scan tool, observe the Recline Sensor parameter in the Memory Seat Module Sensor data list.

Does the scan tool indicate that the Recline Sensor parameter is within the specified range?

0.25-4.75 V

Go to Testing for Intermittent Conditions and Poor Connections in Wiring Systems

Go to Step  3

3

  1. Turn OFF the ignition.
  2. Disconnect the recline sensor.
  3. Turn ON the ignition, with the engine OFF.
  4. With a scan tool, observe the Recline Sensor parameter.

Does the scan tool indicate that the Recline Sensor parameter is less than the specified value?

0.25 V

Go to Step  4

Go to Step  10

4

  1. Turn OFF the ignition.
  2. Connect a 3 amp fused jumper wire between the 5 volt reference circuit of the recline sensor and the signal circuit of the recline sensor.
  3. Turn ON the ignition, with the engine OFF.
  4. With a scan tool, observe the Recline Sensor parameter.

Does the scan tool indicate that the Recline Sensor parameter is greater than the specified value?

4.75 V

Go to Step  5

Go to Step  8

5

  1. Disconnect the fused jumper wire.
  2. Measure the voltage between the 5 volt reference circuit of the recline sensor and the ground circuit of the recline sensor.

Does the voltage measure less than the specified value?

5.50 V

Go to Step  6

Go to Step  7

6

  1. Turn OFF the ignition.
  2. Disconnect the negative battery cable.
  3. Measure the resistance from the ground circuit of the recline sensor to a good ground.

Does the resistance measure less than the specified value?

5 ohms

Go to Step 12

Go to Step 11

7

Test the 5 volt reference circuit of the recline sensor for a short to voltage. Refer to Circuit Testing and Wiring Repairs in Wiring Systems.

Did you find and correct the condition?

--

Go to Step 16

Go to Step 13

8

Test the 5 volt reference circuit of the recline sensor for a short to ground, a high resistance, or an open. Refer to Circuit Testing and Wiring Repairs in Wiring Systems.

Did you find and correct the condition?

--

Go to Step 16

Go to Step  9

9

Test the signal circuit of the recline sensor for a short to ground, a high resistance, or an open. Refer to Circuit Testing and Wiring Repairs in Wiring Systems.

Did you find and correct the condition?

--

Go to Step 16

Go to Step  13

10

Test the signal circuit of the recline sensor for a short to voltage. Refer to Circuit Testing and Wiring Repairs in Wiring Systems.

Did you find and correct the condition?

--

Go to Step 16

Go to Step  13

11

  1. Disconnect the memory seat module harness connector C 2.
  2. Test the ground circuit of the recline sensor for a high resistance or an open. Refer to Circuit Testing and Wiring Repairs in Wiring Systems.

Did you find and correct the condition?

--

Go to Step 16

Go to Step  13

12

Inspect for poor connections at the harness connector of the recline sensor. Refer to Testing for Intermittent Conditions and Poor Connections and Connector Repairs in Wiring Systems.

Did you find and correct the condition?

--

Go to Step 16

Go to Step  14

13

Inspect for poor connections at the harness connector of the memory seat module. Refer to Testing for Intermittent Conditions and Poor Connections and Connector Repairs in Wiring Systems.

Did you find and correct the condition?

--

Go to Step 16

Go to Step  15

14

Replace the recline sensor. Refer to Front Seat Recliner Position Sensor Replacement .

Did you complete the replacement?

--

Go to Step 16

--

15

Replace the memory seat module. Refer to Memory Seat Control Module Replacement .

Did you complete the replacement?

--

Go to Step 16

--

16

  1. Use the scan tool in order to clear the DTCs.
  2. Operate the vehicle within the Conditions for Running the DTC as specified in the supporting text.

Does the DTC reset?

--

Go to Step  2

System OK