GM Service Manual Online
For 1990-2009 cars only

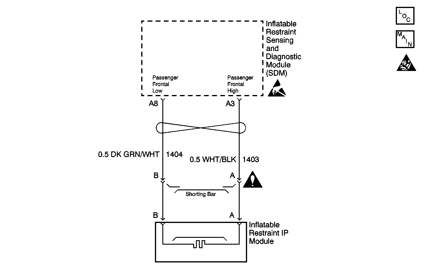
Object Number: 465545  Size: MF
SIR Components
SDM and Frontal Inflator Modules
SIR Handling Caution
Handling ESD Sensitive Parts Notice
SIR Schematic Icons

Circuit Description

When you first turn ON the ignition, the inflatable restraint sensing and diagnostic module (SDM) performs tests to diagnose critical malfunctions within itself. Then the SDM performs the following continuous diagnostic tests on the deployment loops:

    • Deployment loop voltage out of range test
    • Deployment loop resistance measurement test

If the voltage out of range test detects a short to voltage condition, the resistance measurement test for that deployment loop will not be performed.

Conditions for Running the DTC

Deployment loop voltage out of range test - Ignition 1 voltage is within the normal operating voltage range.

Deployment loop resistance measurement test:

    • Ignition 1 voltage is within the normal operating voltage range.
    • Passenger frontal deployment loop is not shorted to voltage.

Conditions for Setting the DTC

    • Deployment loop voltage out of range test - Passenger frontal high terminal is greater than 6 volts for 500 milliseconds.
    • Deployment loop resistance measurement test - Passenger frontal high terminal is less than 2.4 volts and passenger frontal deployment loop resistance is less than 6 ohms for 500 milliseconds.

Action Taken When the DTC Sets

The SDM commands ON the AIR BAG warning lamp via Class 2 serial data.

Conditions for Clearing the DTC

    • Passenger frontal high terminal is less than or equal to 6 volts for 500 milliseconds.
    • Passenger frontal high terminal is greater than or equal to 2.4 volts and passenger frontal deployment loop resistance is less than 6 ohms for 500 milliseconds.
    • You can issue a CLEAR CODES command
    • A history DTC will clear once 255 malfunction free ignition cycles have occurred

Diagnostic Aids

The following can cause an intermittent condition:

    • A short to ground or to voltage on either of the two sides of the deployment loop circuit can cause a intermittent condition.
    • Inspect the passenger frontal high and passenger frontal low circuits carefully for cutting or chafing or any type of wire damage.
    • Wiring pigtail damage requires replacement of the inflatable restraint IP module.

If any of the above conditions are found refer to Testing for Intermittent Conditions and Poor Connections in Wiring Systems.

Test Description

The number(s) below refer to the step number(s) on the diagnostic table.

  1. This step checks the IP/passenger inflator module in-line connector.

  2. This step checks to see if there is a malfunctioning inflatable restraint IP/passenger inflator module.

  3. This step checks to see if there is a short to ground in the passenger frontal high deployment circuit.

  4. This step checks to see if there is a short to ground in the passenger frontal low deployment circuit.

  5. This step checks to see if there is a short to voltage in the passenger frontal high deployment circuit.

  6. This step determines if there is a short to voltage in the passenger frontal low deployment circuit or if there is a malfunctioning SDM.

  7. This step clears all SIR DTC's.

Step

Action

Value(s)

Yes

No

1

Did you perform the Diagnostic System Check?

--

Go to Step 2

Go to Diagnostic System Check - SIR

2

  1. Turn OFF the ignition.
  2. Disconnect inflatable restraint IP/passenger inflator module in-line connector.
  3. Inspect the wiring harness in-line connector for the following conditions:
  4. • Corrosion
    • Terminal damaged
    • Poor connections/terminal tension
  5. If any of the above conditions are found refer to Testing for Intermittent Conditions and Poor Connections in Wiring Systems.

Does connector exhibits any signs of corrosion, terminal damaged, or poor connections?

--

Go to Step 3

Go to Step 4

3

Replace the wiring harness side of in-line connector. Refer to Connector Repairs in Wiring Systems.

Did you complete the replacement?

--

Go to Step 16

--

4

  1. Reconnect inflatable restraint IP inflator module in-line connector.
  2. Verify that the connector position assurance (CPA) is properly installed.
  3. Turn ON the ignition, with the engine OFF.
  4. Use the scan tool to request SIR DTCs displayed.

Does the scan tool indicate that this DTC is current?

--

Go to Step 5

Go to Diagnostic Aids

5

  1. Turn OFF the ignition.
  2. Disconnect in-line connector.
  3. Install the J 38715-A SIR Load Tool to the wiring harness side of in-line connector. Use appropriate connector adaptors where necessary.
  4. Turn ON the ignition, with the engine OFF.
  5. Use the scan tool to request SIR DTCs displayed.

Does the scan tool indicate that this DTC is current?

--

Go to Step 7

Go to Step 6

6

  1. Turn OFF the ignition.
  2. Replace the inflatable restraint passenger inflator module. Refer to Inflatable Restraint Instrument Panel Module Replacement .

Did you complete the replacement?

--

Go to Step 16

--

7

  1. Turn OFF the ignition.
  2. Remove the J 38715-A .
  3. Disconnect the inflatable restraint sensing and diagnostic module (SDM) connector. Refer to Inflatable Restraint Sensing and Diagnostic Module Replacement .
  4. Use the J 39200 DMM and measure the resistance between the SDM wiring harness connector passenger frontal high deployment circuit terminal and a known good ground.

Does the resistance measure less than the specified value?

OL

Go to Step 8

Go to Step 9

8

Locate and repair a short to ground in passenger frontal high deployment circuit. Refer to Circuit Testing and Wiring Repairs in Wiring Systems.

Did you complete the repair?

--

Go to Step 16

--

9

Use the J 39200 and measure the resistance between the SDM wiring harness connector passenger frontal low deployment circuit terminal and a known good ground.

Does the resistance measure less than the specified value?

OL

Go to Step 10

Go to Step 11

10

Locate and repair a short to ground in passenger frontal low deployment circuit. Refer to Circuit Testing and Wiring Repairs in Wiring Systems.

Did you complete the repair?

--

Go to Step 16

--

11

  1. Turn ON the ignition, with the engine OFF.
  2. Use the J 39200 and measure the voltage between the SDM wiring harness connector passenger frontal high deployment circuit terminal and a known good ground.

Does the voltage measured less than the specified value?

1 V

Go to Step 13

Go to Step 12

12

Locate and repair a short to voltage in passenger frontal high deployment circuit. Refer to Wiring Repairs in Wiring Systems.

Did you complete the repair?

--

Go to Step 16

--

13

Use the J 39200 and measure the voltage between the SDM wiring harness connector passenger frontal low deployment circuit terminal and a known good ground.

Does the voltage measured less than the specified value?

1 V

Go to Step 15

Go to Step 14

14

Locate and repair a short to voltage in passenger frontal low deployment circuit. Refer to Circuit Testing and Wiring Repairs in Wiring Systems.

Did you complete the repair?

--

Go to Step 16

--

15

  1. Turn OFF the ignition.
  2. Replace the SDM. Refer to Inflatable Restraint Sensing and Diagnostic Module Replacement .

Did you complete the replacement?

--

Go to Step 16

--

16

  1. Reconnect all SIR components.
  2. Verify that all components, connectors and CPAs are properly mounted.
  3. Use the scan tool in order to Clear the DTCs.
  4. Operate the vehicle within the Conditions for Running the DTC as specified in the supporting text.

Did you complete the action?

--

Go to Diagnostic System Check - SIR

--