GM Service Manual Online
For 1990-2009 cars only

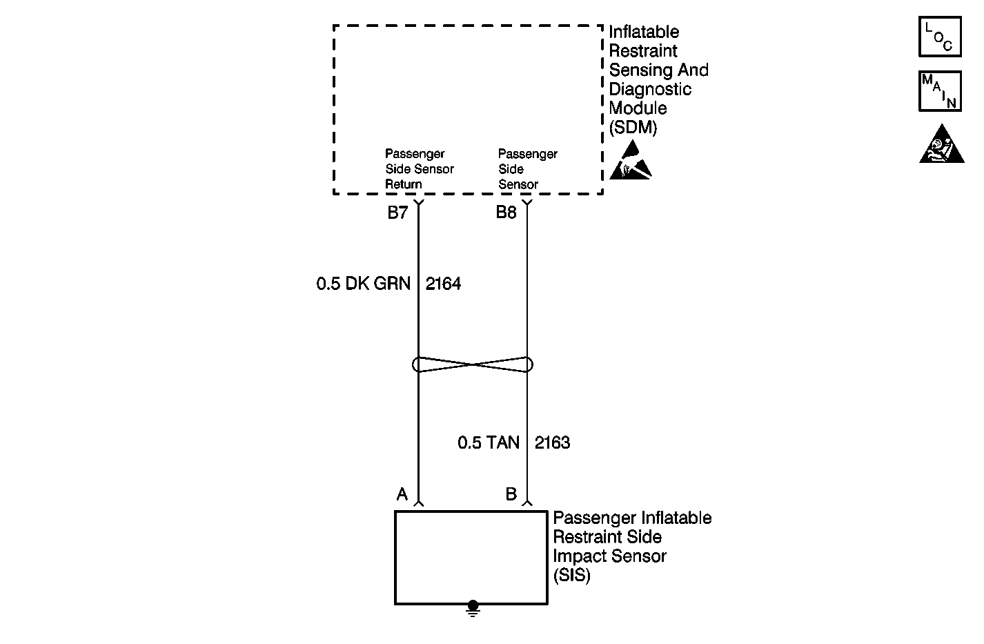
Object Number: 428313  Size: MF
SIR Components
Power, Ground, and Side Impact Sensors
SIR Handling Caution
Handling ESD Sensitive Parts Notice

Circuit Description

The RF/passenger inflatable restraint side impact sensor (SIS) deployment loop is a 2 wire circuit. When you first turn ON the ignition, the inflatable restraint sensing and diagnostic module (SDM) performs tests to diagnose critical malfunctions within itself. The SDM provides input power to the SIS. When input power is first detected, the SIS responds by performing internal diagnostics. Next the SIS sends an ID message to the SDM. The SDM will consider this to be a valid ID if the response time is less than 5 seconds after the SIS is powered up.The SIS will continually communicate a status message to the SDM. The SDM can reset the SIS by removing and applying power to it.

Conditions for Running the DTC

    • Ignition 1 voltage is within the normal operating voltage range.
    • RF SIS loop is not shorted to voltage.
    • RF SIS loop is not shorted to ground.

The SDM monitors the inflatable restraint side impact sensor (SIS) loop with the power on.

Conditions for Setting the DTC

    • The SDM has detected one of the following conditions due to a fault in the SIS interface circuit:
       - A valid ID message is not received within 5 seconds of the SIS being powered up.
       - Status message is not received
    • The SDM has failed twice to reset the SIS.

Action Taken When the DTC Sets

The SDM commands ON the AIR BAG warning lamp via Class 2 serial data.

Conditions for Clearing the DTC

    • The SDM has detected correct operation.
    • The SIS sends a OK message to the SDM.
    • You can issue a CLEAR CODES command
    • A history DTC will clear once 255 malfunction free ignition cycles have occurred

Diagnostic Aids

The following can cause an intermittent condition in the inflatable restraint side impact sensor (SIS) circuit :

    • A short to ground or short to voltage.
    • High resistance or low resistance.
    • Inspect the inflatable restraint side impact sensor high and sensor low circuits carefully for cutting and/or chafing

If any of the above conditions are found refer to Testing for Intermittent Conditions and Poor Connections in Wiring Systems.

Test Description

The number(s) below refer to the step number(s) on the diagnostic table.

  1. This step checks the inflatable restraint sensing and diagnostic module (SDM) connector.

  2. This step checks the resistance between the RF/passenger SIS (Side Impact Sensor) side sensor circuit and the RF SIS side sensor return circuit.

  3. This test checks the RF SIS side sensor circuit for a short to voltage.

  4. This step checks the RF SIS side sensor return circuit for a short to voltage.

  5. This step checks the RF SIS side sensor return circuit for a short to ground.

  6. This step checks the RF SIS side sensor circuit for a short to ground.

  7. This step checks for an open in the RF SIS sensor circuit.

  8. This step checks for an open in the RF SIS sensor return circuit.

Step

Action

Value(s)

Yes

No

1

Did you perform the Diagnostic System Check?

--

Go to Step 2

Go to Diagnostic System Check - SIR

2

  1. Turn OFF the ignition.
  2. Disconnect the inflatable restraint sensing and diagnostic module (SDM) connector. Refer to Inflatable Restraint Sensing and Diagnostic Module Replacement .
  3. Inspect for the following conditions:
  4. • Corrosion
    • Damaged terminals
    • Poor connections/terminal tension
  5. If any of the above conditions are found refer to Testing for Intermittent Conditions and Poor Connections and Connector Repairs in Wiring Systems.

Did you find and correct the condition?

--

Go to Step 14

Go to Step 3

3

Use the J 39200 DMM and measure the resistance between the RF/passenger Side Impact Sensor (SIS) sensor circuit and the RF SIS return circuit of SDM connector.

Does the resistance measure less than the specified value?

OL

Go to Step 8

Go to Step 4

4

  1. Turn ON the ignition, with the engine OFF.
  2. Use the J 39200 and measure the voltage between the SDM connector RF SIS sensor circuit terminal and a known good ground.

Does the voltage measured greater than the specified value?

1 V

Go to Step 8

Go to Step 5

5

Use the J 39200 and measure the voltage between the SDM connector RF SIS return circuit terminal and a known good ground.

Does the voltage measured greater than the specified value?

1 V

Go to Step 8

Go to Step 6

6

  1. Turn OFF the ignition.
  2. Use the J 39200 and measure the resistance between the SDM connector RF SIS return circuit terminal and a known good ground.

Does the resistance measure less than the specified value?

OL

Go to Step 8

Go to Step 7

7

Use the J 39200 and measure the resistance between the SDM connector RF SIS sensor circuit terminal and a known good ground.

Does the resistance measure less than the specified value?

OL

Go to Step 8

Go to Step 10

8

  1. Remove the RF SIS wiring harness connector. Refer to Inflatable Restraint Side Impact Sensor Replacement .
  2. Inspect for the following conditions:
  3. • Corrosion
    • Damaged terminals
    • Poor connections/terminal tension
  4. If any of the above conditions are found refer to Testing for Intermittent Conditions and Poor Connections and Connector Repairs in Wiring Systems.

Is the condition still present?

--

Go to Step 9

Go to Step 13

9

Locate and repair the circuits that are shorted to each other, to battery, or to ground. Refer to Circuit Testing and Wiring Repairs in Wiring Systems.

Did you complete the repair?

--

Go to Step 14

--

10

Use the J 39200 and measure the resistance of the RF SIS sensor circuit from the SDM connector to the RF SIS connector.

Does the resistance measure less than the specified value?

3 ohms

Go to Step 11

Go to Step 12

11

Use the J 39200 and measure the resistance of the RF SIS return circuit from the SDM connector to the RF SIS connector.

Does the resistance measure less than the specified value?

3 ohms

Go to Step 13

Go to Step 12

12

Repair the circuits that exhibit an open or high resistance. Refer to Circuit Testing and Wiring Repairs in Wiring Systems.

Did you complete the repair?

--

Go to Step 14

--

13

Replace the RF SIS. Refer to Inflatable Restraint Side Impact Sensor Replacement .

Did you complete the replacement?

--

Go to Step 14

--

14

  1. Reconnect all SIR components.
  2. Verify that all components, connectors and CPAs are properly mounted.
  3. Use scan tool in order to Clear the DTCs.
  4. Operate the vehicle within the Conditions for Running the DTC as specified in the text.

Does the DTC reset?

--

Go to Step 15

System OK

15

  1. Turn OFF the ignition.
  2. Replace the SDM. Refer to Inflatable Restraint Sensing and Diagnostic Module Replacement .

Did you complete the replacement?

--

Go to Step 16

--

16

  1. Reconnect all SIR components.
  2. Verify that all components, connectors and CPAs are properly mounted.
  3. Use the scan tool in order to Clear the DTCs.
  4. Operate the vehicle within the Conditions for Running the DTC as specified in the text.

Did you complete the action?

--

Go to Diagnostic System Check - SIR

--