GM Service Manual Online
For 1990-2009 cars only

Object Number: 498053  Size: MF
Steering Controls Components
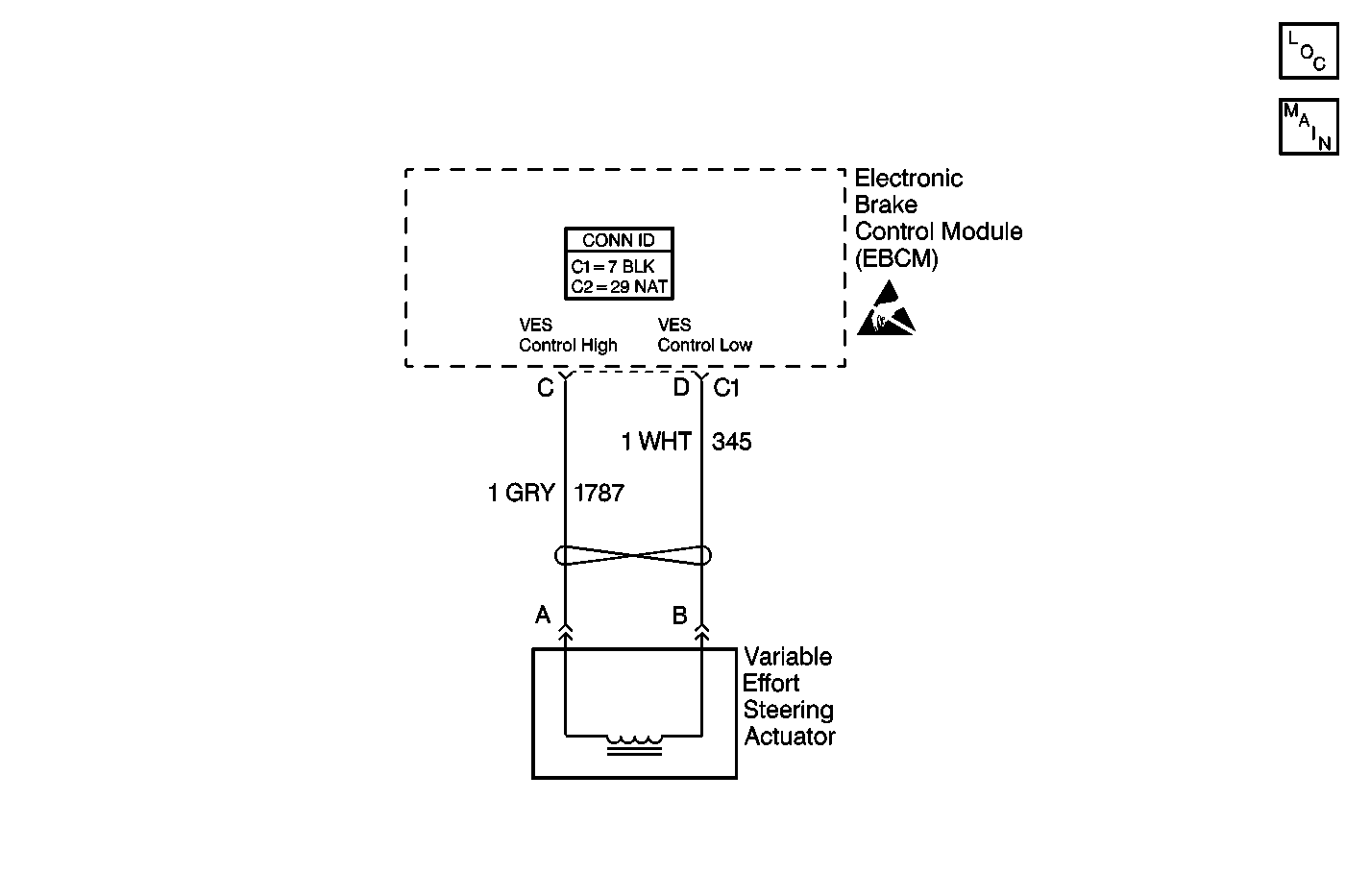
Variable Effort Steering Schematics
Handling ESD Sensitive Parts Notice

Circuit Description

The EBCM controls a bi-directional magnetic rotary solenoid. The solenoid is in the steering gear. The solenoid adjusts the amount of power steering assist in order to achieve a given level of driver effort in turning the vehicle. The EBCM varies the steering assist by adjusting the current flow through the solenoid. The amount of steering assist adjusted for steering is dependent upon vehicle speed. As the vehicle speed increases, the following actions occur:

    • The steering assist decreases.
    • The driver effort increases.

As the vehicle speed decreases, the following actions occur:

    • The steering assist increases.
    • The driver effort decreases.

Conditions for Running the DTC

The EBCM performs 2 diagnostic tests for the VES circuits when the ignition voltage is between 10.5 volts and 17 volts. The numbers below corresponds to the numbers in Conditions for Setting the DTC.

  1. Off State Test (Open Circuit Test) - When the ignition is first turned ON, the EBCM performs an open circuit test independent of vehicle speed or engine running.
  2. On State Test (Open or Short Circuit Test) - If the Off State Test is passed, the EBCM runs the On State Test during VES operations. The VES operations occur during driving. The EBCM detects an open or short in the VES circuit by comparing the feedback current to the commanded current.

Conditions for Setting the DTC

The EBCM performs 2 different tests to detect a DTC condition. The numbers below correspond to the number in Conditions for Running the DTC.

  1. The EBCM detects an open in the VES circuit.
  2. The EBCM detects an open or short in the VES circuit when the feedback current is less than 155 mA while the absolute value of the commanded current is greater than 826 mA for 2.5 seconds.

Action Taken When the DTC Sets

    • The EBCM disables the variable effort steering (VES) for the duration of the ignition cycle.
    • The DIC displays the SERVICE STEERING SYS message.

Conditions for Clearing the DTC

    • The condition for the DTC is no longer present and the DTC is cleared with a scan tool.
    • The EBCM automatically clears the history DTC when a current DTC is not detected in 100 consecutive drive cycles.

Diagnostic Aids

The vehicle may need to be driven to view non-zero values of the MagnaSteer® Commanded Current and MagnaSteer® Feedback Current on the scan tool.

Test Description

The numbers below refer to the step numbers on the diagnostic table.

  1. This step uses the scan tool to check the Magna Steer Feedback Current parameter.

  2. This step checks for an open in the variable effort steering actuator and circuit.

Step

Action

Value(s)

Yes

No

1

Did you perform the Variable Effort Steering Diagnostic System Check?

--

Go to Step 2

Go to Diagnostic System Check - Variable Effort Steering

2

  1. Install a scan tool.
  2. Start the engine.
  3. With a scan tool, observe the Magna Steer Commanded Current and Magna Steer Feedback Current parameters in the Magna Steer data list.
  4. Carefully test drive the vehicle so that the Magna Steer Commanded Current is greater than 826 mA.

Does the scan tool indicate that the Magna Steer Feedback Current is greater than the specified value?

155 mA

Go to Testing for Intermittent Conditions and Poor Connections in Wiring Systems

Go to Step 3

3

  1. Turn OFF the ignition.
  2. Disconnect the variable effort steering actuator connector.
  3. Measure the resistance across the variable effort steering actuator.

Does the resistance measure within the specified range?

1.6-3.1 ohms

Go to Step 5

Go to Step 4

4

Test both variable effort steering control circuits for a high resistance or an open between the variable effort steering actuator pigtail connector and the variable effort steering actuator. Refer to Circuit Testing and Wiring Repairs in Wiring System.

Did you find and correct the condition?

--

Go to Step 13

Go to Step 8

5

Test both variable effort steering control circuits for a short between the variable effort steering actuator pigtail connector and the variable effort steering actuator housing. Refer to Circuit Testing and Wiring Repairs in Wiring System.

Did you find and correct the condition?

--

Go to Step 13

Go to Step 6

6

  1. Turn OFF the ignition.
  2. Reconnect the variable effort steering actuator connector.
  3. Disconnect the EBCM harness connector.
  4. Install the J 39700 universal pinout box using the J 39700-300 cable adapter to the EBCM harness connector only.
  5. Measure the resistance at the J 39700 universal pinout box between the variable effort steering control circuits.

Does the resistance measure within the specified range?

1.6-5 ohms

Go to Step 7

Go to Step 9

7

Test both variable effort steering control circuits for a short to ground or short to voltage between the EBCM and the variable effort steering actuator pigtail connector. Refer to Circuit Testing and Wiring Repairs in Wiring System.

Did you find and correct the condition?

--

Go to Step 13

Go to Step 12

8

Inspect for poor connections at the harness connector of the variable effort steering actuator. Refer to Testing for Intermittent Conditions and Poor Connections and Connector Repairs in Wiring Systems.

Did you find and correct the condition?

--

Go to Step 13

Go to Step 11

9

Inspect for poor connections at the harness connector of the EBCM. Refer to Testing for Intermittent Conditions and Poor Connections and Connector Repairs in Wiring Systems.

Did you find and correct the condition?

--

Go to Step 13

Go to Step 10

10

Test for and repair one of the following conditions in the suspect variable effort steering control circuit between the EBCM and the variable effort steering actuator pigtail connector.

    • An open
    • A high resistance
    • A short between the control circuits

Refer to Wiring Repairs in Wiring System.

Did you complete the repair?

--

Go to Step 13

--

11

Replace the variable effort steering actuator. Refer to Steering Gear Replacement in Power Steering System.

Did you complete the repair?

--

Go to Step 13

--

12

Important: Perform the setup procedure for the EBCM. An unprogrammed EBCM will result in the following conditions:

   • Inoperative or poorly functioning DRP/ABS/TCS/VSES/VES (if equipped)
   • Set DTC C1248 EBCM Turned the Red Brake Warning Indicator On
   • Set DTC C1255m3 EBCM Internal Malfunction

Replace the EBCM. Refer to Electronic Brake Control Module Replacement in Antilock Brake System.

Did you complete the repair?

--

Go to Step 13

--

13

  1. Use the scan tool in order to clear the DTCs.
  2. Operate the vehicle within the Conditions for Running the DTC as specified in the supporting text.

Does the DTC reset?

--

Go to Step 2

System OK