GM Service Manual Online
For 1990-2009 cars only

Removal Procedure


    Object Number: 458866  Size: SH
  1. Raise the vehicle. Refer to Lifting and Jacking the Vehicle in General Information.
  2. Remove the left front wheel. Refer to Tire and Wheel Removal and Installation in Tires and Wheels.
  3. Remove the left front fascia extension. Refer to Front Bumper Fascia Extension Replacement in Body Front End.
  4. Remove the 2 brake pressure modulator valve (BPMV) bracket nuts (2).

  5. Object Number: 458872  Size: SH
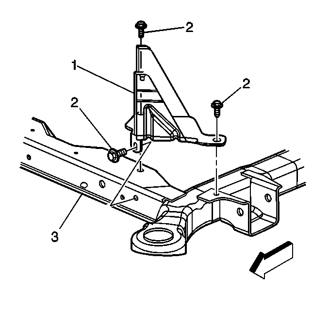
  6. Remove the 3 BPMV bracket to frame bolts (2).
  7. Remove the BPMV bracket (1) from the frame (3).

Installation Procedure


    Object Number: 458872  Size: SH
  1. Install the BPMV bracket (1) to the frame (3).
  2. Notice: Use the correct fastener in the correct location. Replacement fasteners must be the correct part number for that application. Fasteners requiring replacement or fasteners requiring the use of thread locking compound or sealant are identified in the service procedure. Do not use paints, lubricants, or corrosion inhibitors on fasteners or fastener joint surfaces unless specified. These coatings affect fastener torque and joint clamping force and may damage the fastener. Use the correct tightening sequence and specifications when installing fasteners in order to avoid damage to parts and systems.

  3. Install the 3 BPMV bracket to frame bolts (2).
  4. Tighten
    Tighten the 3 bolts to 12 N·m (106 lb in).


    Object Number: 458866  Size: SH

    Important: Make sure that all 3 rubber isolators are installed on the BPMV. The isolators protect the EBCM/BPMV assembly from vehicle vibrations.

  5. Install the EBCM/BPMV assembly (1) to the BPMV bracket (3).
  6. Install the 2 BPMV bracket nuts (2).
  7. Tighten
    Tighten the 2 nuts to 10 N·m (89 lb in).

  8. Install the left front fascia extension. Refer to Front Bumper Fascia Extension Replacement in Body Front End.
  9. Install the left front wheel. Refer to Tire and Wheel Removal and Installation in Tires and Wheels.
  10. Lower the vehicle. Refer to Lifting and Jacking the Vehicle in General Information.