GM Service Manual Online
For 1990-2009 cars only

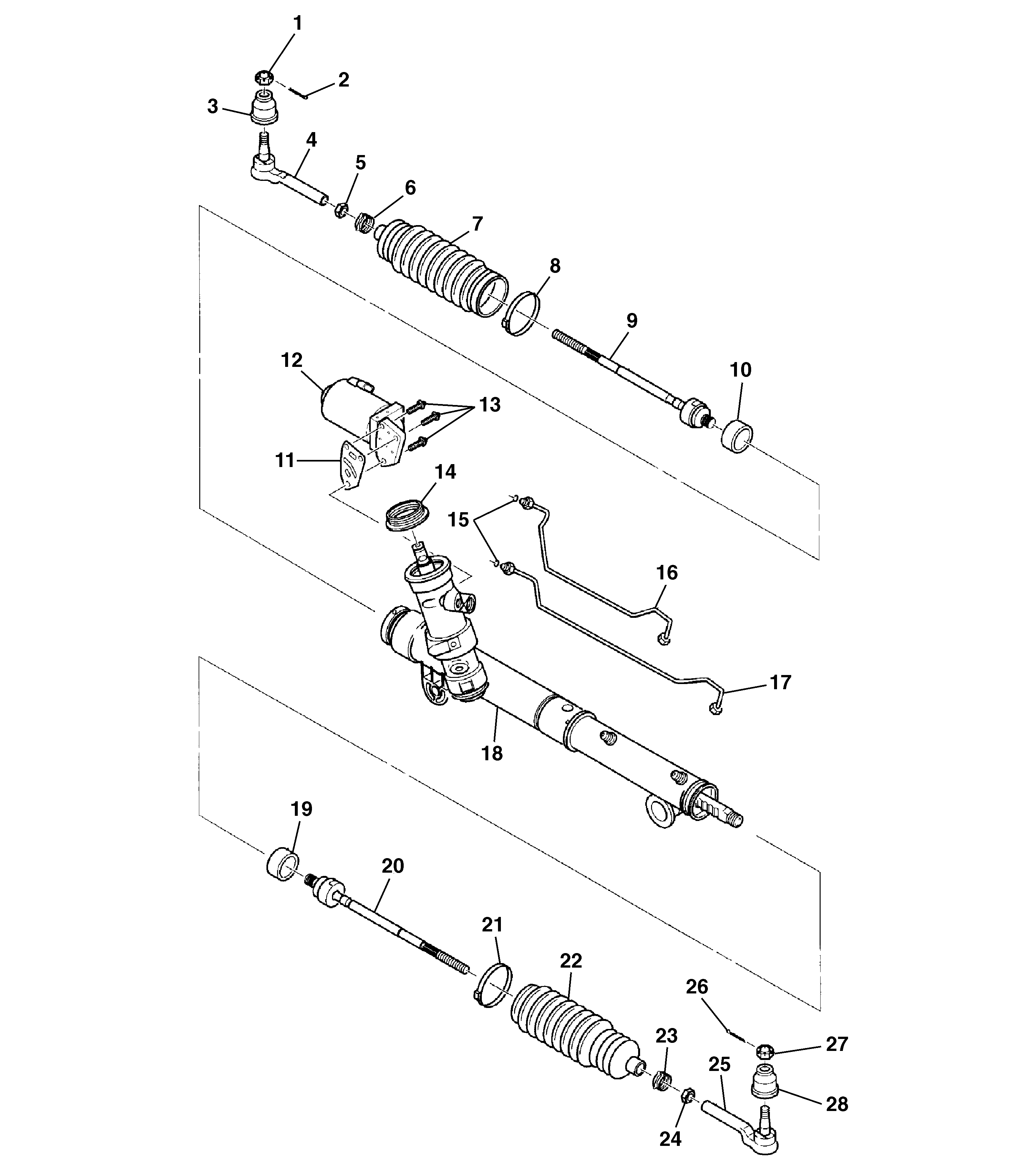
Power Steering Gear Disassembled View Left Hand

Power Rack and Pinion-End Take Off


Object Number: 297670  Size: LF
(1)Hexagon Slotted Nut
(2)Cotter Pin
(3)Tie Rod Seal
(4)Outer Tie Rod
(5)Hex Jam Nut
(6)Tie Rod End Clamp
(7)Rack and Pinion Boot
(8)Boot Clamp
(9)Inner Tie Rod Assembly
(10)Shock Dampener Ring
(11)Cylinder Line Assembly (LH)
(12)O-ring Seal
(13)Cylinder Line Assembly (RH)
(14)Rack and Pinion Gear Assembly (Partial)
(15)Dust Cover
(16)Shock Dampener Ring
(17)Inner Tie Rod Assembly
(18)Boot Clamp
(19)Rack and Pinion Boot
(20)Tie Rod End Clamp
(21)Hex Jam Nut
(22)Cotter Pin
(23)Outer Tie Rod
(24)Hexagon Slotted Nut
(25)Tie Rod Seal

Power Steering Gear Disassembled View Right Hand

Power Rack and Pinion-End Take Off


Object Number: 444793  Size: LF
(1)Hexagon Slotted Nut
(2)Cotter Pin
(3)Tie Rod and End Housing Seal
(4)Outer Tie Rod Assembly
(5)Hex Jam Nut
(6)Tie Rod End Clamp
(7)Rack and Pinion Boot
(8)Seal Retaining Clamp
(9)Inner Tie Rod Assembly
(10)Shock Dampener Ring
(11)Manifold Gasket
(12)Control Valve and Manifold Assembly
(13)Pan HD 6-Lobed Soc (M6x1) Screw
(14)Seal Adapter
(15)O-ring Seal
(16)Cylinder Line (RT)
(17)Cylinder Line (LT)
(18)Rack and Pinion Gear Assembly (Partial)
(19)Shock Dampener Ring
(20)Inner Tie Rod Assembly
(21)Seal Retaining Clamp
(22)Rack and Pinion Boot
(23)Tie Rod End Clamp
(24)Hex Jam Nut
(25)Outer Tie Rod Assembly
(26)Cotter Pin
(27)Hexagon Slotted Nut
(28)Tie Rod and End Housing Seal