GM Service Manual Online
For 1990-2009 cars only

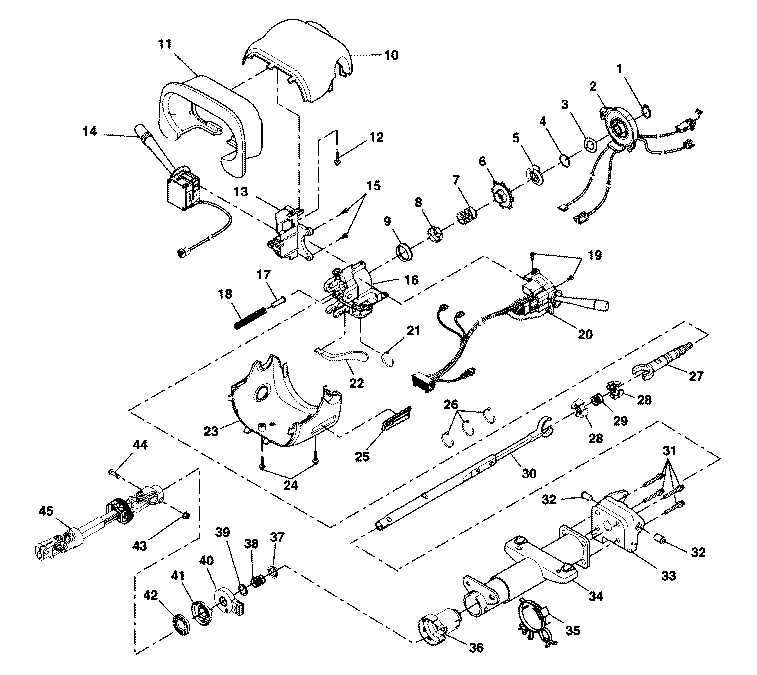
Steering Column Disassembled View Right Hand Drive

Power Tilt and Telescope - Right Hand Drive


Object Number: 684307  Size: LF
(1)Upper Trim Cover
(2)Lower Trim Cover
(3)Steering Column Closeout Trim Cover
(4)Flanged Prevailing Torque Nut
(5)Retaining Ring
(6)SIR Coil
(7)Wave Washer
(8)Bearing Retaining
(9)Cam Orientation Plate
(10)Turn Signal Cancel Cam Assembly
(11)Upper Bearing Spring
(12)Upper Bearing Inner Race Seat
(13)Inner Race
(14)Pan Head Tapping Screws
(15)TORX® Head Screw
(16)Turn Signal and Multifunction Switch Assembly
(17)Upper Tilt Head Assembly
(18)Wire Harness Strap
(19)Pan Head Tapping Screws
(20)Windshield Wiper and Washer Switch Assembly
(21)Signal Switch Housing Assembly
(22)Wire Harness Straps
(23)Tilt Housing Adapter
(24)Ball Stud
(25)TORX®Head Screws
(26)Race and Upper Shaft Assembly
(27)Centering Sphere
(28)Joint Preload Spring
(29)Lower Steering Shaft Assembly
(30)Power Tilt and Telescope Toggle Switch Assembly
(31)Pan Head Tapping Screws
(32)TORX® Head Screws
(33)Steering Column Support Assembly
(34)Pivot Pins
(35)Pan Head Tapping Screws
(36)Wire Harness Strap
(37)Upper Wire Shield
(38)TORX® Head Screws
(39)Tilt Motor Assembly
(40)Anti Rotation Ball
(41)Anti Rotation Pin
(42)Compression Spring
(43)Retaining Ring
(44)Telebearing and Jacket Assembly
(45)Lower Wire Shield
(46)Pan Head Tapping Screws
(47)Wire Harness Strap
(48)Steering Column Control Module Assembly
(49)TORX® Head Screws
(50)Telescope Motor Assembly
(51)Housing Blocking Plug Switch
(52)Adapter and Bearing Assembly
(53)Lower Spring Retaining
(54)Steering Wheel Position Sensor Assembly
(55)Sensor Retainer
(56)Steering Shaft Seal
(57)Pinch Bolt Nut
(58)Bolt and Retainer Assembly
(59)Intermediate Steering Shaft Assembly

Steering Column Disassembled View Power Tilt and Telescope LHD

Power LHD


Object Number: 685149  Size: LF
(1)Flanged Prevailing Torque Nut
(2)Retaining Ring
(3)SIR Coil
(4)Wave Washer
(5)Bearing Retainer
(6)Cam Orientation Plate
(7)Turn Signal Cancel Cam Assembly
(8)Upper Bearing Spring
(9)Upper Bearing Inner Race Seat
(10)Upper Trim Cover
(11)Steering Column Closeout Trim Cover
(12)TORX® Head Screw
(13)Signal Switch Housing Assembly
(14)Windshield Wiper and Washer Switch Assembly
(15)Pan Head Tapping Screws
(16)Steering Column Tilt Head Assembly
(17)Pan Head Tapping Screws
(18)Turn Signal and Multifunction Switch Assembly
(19)Wire Harness Strap
(20)Tilt Housing Adapter
(21)TORX® Head Screws
(22)Lower Trim Cover
(23)Pan Head Tapping Screws
(24)Power Tilt and Telescope Toggle Switch Assembly
(25)Ball Stud
(26)Race and Upper Shaft Assembly
(27)Centering Sphere
(28)Joint Preload Spring
(29)Lower Steering Shaft Assembly
(30)TORX® Head Screws
(31)Steering Column Support Assembly
(32)Pivot Pins
(33)Pan Head Tapping Screws
(34)Upper Wire Shield
(35)Anti Rotation Pin
(36)Anti Rotation Ball
(37)Compression Spring
(38)Retaining Ring
(39)Telebearing and Jacket Assembly
(40)TORX® Head Screws
(41)Tilt Motor Assembly
(42)Lower Wire Shield
(43)Pan Head Tapping Screws
(44)Steering Column Control Module Assembly
(45)TORX® Head Screws
(46)Telescope Motor Assembly
(47)Housing Blocking Plug Switch
(48)Adapter and Bearing Assembly
(49)Lower Spring Retainer
(50)Steering Wheel Position Sensor Assembly
(51)Sensor Retainer
(52)Steering Shaft Seal
(53)Bolt Retainer Assembly
(54)Pinch Bolt Nut
(55)Intermediate Steering Shaft Assembly

Steering Column Disassembled View Manual Column LHD

Manual LHD


Object Number: 685131  Size: LF
(1)Retaining Ring
(2)SIR Coil
(3)Wave Washer
(4)Bearing Retainer
(5)Cam Orientation Plate
(6)Turn Signal Cancel Cam Assembly
(7)Upper Bearing Spring
(8)Upper Bearing Inner Race Seat
(9)Inner Race
(10)Upper Trim Cover
(11)Steering Column Closeout Trim Cover
(12)TORX® Head Screw
(13)Signal Switch Housing Assembly
(14)Windshield Wiper and Washer Switch Assembly
(15)Pan Head Tapping Screws
(16)Steering Column Tilt Head Assembly
(17)Spring Guide
(18)Tilt Spring
(19)Pan Head Tapping Screws
(20)Turn Signal and Multifunction Switch Assembly
(21)Wire Harness Strap
(22)Tilt Lever Assembly
(23)Lower Trim Cover
(24)Pan Head Tapping Screws
(25)Tilt Lever Closeout
(26)Wire Harness Straps
(27)Race and Upper Shaft Assembly
(28)Centering Sphere
(28)Centering Sphere
(29)Joint Preload Spring
(30)Lower Steering Shaft Assembly
(31)TORX® Head Screws
(32)Pivot Pins
(33)Steering Column Support Assembly
(34)Steering Column Jacket Assembly
(35)Wire Harness Strap
(36)Adapter and Bearing Assembly
(37)Lower Bearing Seat
(38)Lower Bearing Spring
(39)Lower Spring Retainer
(40)Steering Wheel Position Sensor Assembly
(41)Sensor Retainer
(42)Steering Shaft Seal
(43)Bolt Retainer Assembly
(44)Pinch Bolt Nut
(45)Intermediate Steering Shaft Assembly