GM Service Manual Online
For 1990-2009 cars only
Makes
🢒
Cadillac
🢒
2001
🢒
Seville
🢒
HVAC
🢒
Heating, Ventilation and Air Conditioning
🢒 Auxiliary Air Distributor Duct Replacement
Removal Procedure
Remove the driver's side sound insulator. Refer to
Instrument Panel Insulator Panel Replacement - Left Side
in Instrument Panel, Gauges and Console.
Remove the knee bolster. Refer to
Knee Bolster Replacement
in Instrument Panel, Gauges and Console.
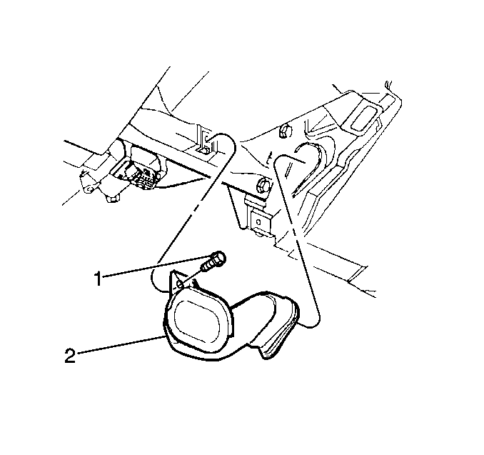
Remove 1 fastener (1) from the lap cooler duct to the IP carrier.
Remove the lap cooler duct (2).
Installation Procedure
Align the lap cooler duct (2) with the IP duct.
Install the fastener (1).
Install the knee bolster. Refer to
Knee Bolster Replacement
in Instrument Panel, Gauges and Console
Install the left sound insulator. Refer to
Instrument Panel Insulator Panel Replacement - Right Side
in Instrument Panel, Gauges and Console.