GM Service Manual Online
For 1990-2009 cars only
Figure 1:

Steering Wheel and Inflator Module


Object Number: 295206  Size: LF
(1)Inflatable Restraint Steering Wheel Module Coil
(2)Steering Wheel Controls Connector
(3)Inflatable Restraint Steering Wheel Module Connector
(4)Inflatable Restraint Steering Wheel Module
Figure 2:

Right Front of the Passenger Compartment, Above the Instrument Panel


Object Number: 427887  Size: LF
(1)Instrument Panel (IP)
(2)Inflatable Restraint IP Module
(3)Inflatable Restraint IP Module Connector and Wiring Harness
Figure 3:

Passenger Compartment, Under the Right Seat


Object Number: 747621  Size: LF
(1)C307
(2)G306
(3)Number 2 Bar
(4)Inflatable Restraint Sensing and Diagnostic Module (SDM)
(5)G302
(6)Cover over SP308
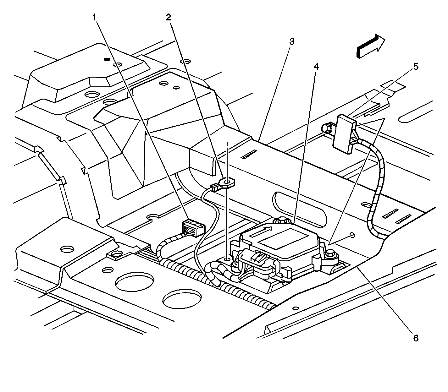
Figure 4:

Passenger Compartment, Between Front and Rear Doors


Object Number: 748495  Size: LF
(1)Inflatable Restraint Side Impact Sensor (SIS) -- Left (Right Similar)
(2)C802 (C702 Similar)
(3)C800 (C700 Similar)
(4)Driver Center Pillar (Passenger Similar)
(5)Inflatable Restraint Side Impact Sensor (SIS) -- Left Connector and Wiring Harness (Right Similar)
Figure 5:

Passenger Compartment, On the Left Front Seat


Object Number: 513285  Size: LF
(1)Seat Belt Pretensioner -- LF with Seat Belt Switch Internal (RF similar)
(2)Driver Seat (Passenger similar)
(3)Inflatable Restraint Side Impact Module -- LF (RF similar)