GM Service Manual Online
For 1990-2009 cars only
Makes
🢒
Cadillac
🢒
2001
🢒
Seville
🢒
Body and Accessories
🢒
Instrument Panel, Gauges, and Console
🢒 12-Volt Accessory Power Receptacle Replacement
Removal Procedure
Remove the right console side trim panel. Refer to
Front Floor Console Side Trim Panel Replacement - Right Side
.
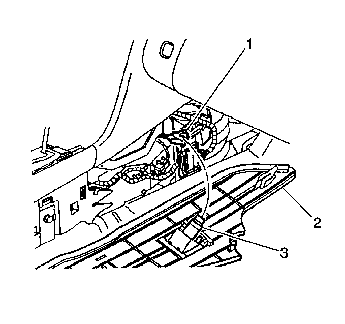
Disconnect the auxiliary power outlet electrical connector (1).
Unscrew the retainer (3) from the outlet.
Slide the outlet from the trim panel.
Installation Procedure
Slide the outlet into the hole in the trim panel.
Screw the retainer (3) onto the outlet.
Connect the auxiliary power outlet electrical connector (1).
Install the right console side trim panel. Refer to
Front Floor Console Side Trim Panel Replacement - Right Side
.