GM Service Manual Online
For 1990-2009 cars only

Removal Procedure


    Object Number: 568408  Size: SH
  1. Open the center console lid.
  2. Disconnect the cellular phone or the OnStar® wiring, if the vehicle is equipped with these features.
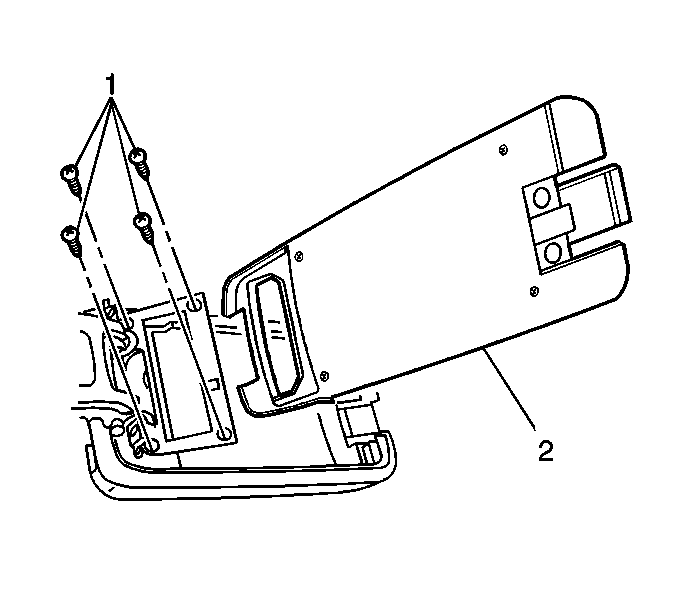
  3. Remove the fasteners (1) that retain the center console tray (2) to the center console hinge.
  4. Remove the center console tray.

Installation Procedure


    Object Number: 568408  Size: SH
  1. Align the center console tray (2) with the console door hinge.
  2. Install and tighten the fasteners (1), fully driven, seated and not stripped.
  3. Reinstall the OnStar® or the cellular phone wiring, if equipped.
  4. Verify proper operation of the console lid.