GM Service Manual Online
For 1990-2009 cars only

Removal Procedure

  1. Remove the door trim panel. Refer to Rear Side Door Trim Panel Replacement .
  2. Remove the door module. Refer to Door Control Module Replacement .
  3. Remove the water deflector. Refer to Rear Side Door Water Deflector Replacement .
  4. Remove the inner belt molding. Refer to Rear Door Window Belt Inner Sealing Strip Replacement .
  5. Caution: Refer to Express Window Down Caution in the Preface section.

  6. Reconnect the power window switch and module.
  7. Raise the window to the full up position.
  8. Tape the window in place.
  9. Remove the front window channel. Refer to Rear Side Door Window Front Channel Replacement .
  10. Caution: When working with any type of glass or sheet metal with exposed or rough edges, wear approved safety glasses and gloves in order to reduce the chance of personal injury.


    Object Number: 524074  Size: SH
  11. Loosen the window clamp attachment bolts four revolutions.
  12. Lower the regulator clamps (2) to the full down position.

  13. Object Number: 108010  Size: SH
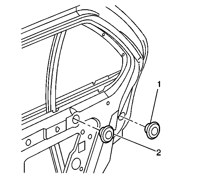
  14. Remove the large plug (2) in order to access the division post fasteners.

  15. Object Number: 621737  Size: SH
  16. Remove the division channel lower fasteners (1).
  17. Remove the window from the door in the following order:
  18. 13.1. While supporting the window through the access hole of the inner panel, remove the tape holding the window up.
    13.2. Lower the window slightly.
    13.3. Position the window forward, away from the rear window channel.
    13.4. Carefully position the window rearward between the inner door panel and the division post.
    13.5. Tilt the window inward, while pulling the window up and out of the door from the inner side of the window opening.

Installation Procedure


    Object Number: 621737  Size: SH
  1. Install the window into the door in the following order:
  2. 1.1. Carefully lower the window into the door from the inner side window opening, making sure the rear edge of the window is between the inner door panel and the division post.
    1.2. Position the window forward, away from the rear window channel.
    1.3. Raise the window to the full up position.
    1.4. Tape the window in place.

    Notice: Use the correct fastener in the correct location. Replacement fasteners must be the correct part number for that application. Fasteners requiring replacement or fasteners requiring the use of thread locking compound or sealant are identified in the service procedure. Do not use paints, lubricants, or corrosion inhibitors on fasteners or fastener joint surfaces unless specified. These coatings affect fastener torque and joint clamping force and may damage the fastener. Use the correct tightening sequence and specifications when installing fasteners in order to avoid damage to parts and systems.

  3. Install the division channel lower fasteners (1).
  4. Tighten
    Tighten the fasteners to 9 N·m (80 lb in).


    Object Number: 108010  Size: SH
  5. Press the access plug (2) into the hole.

  6. Object Number: 524074  Size: SH

    Important: Ensure that the rubber insulators are properly attached to the window regulator clamps.

  7. Carefully raise the window regulator clamps (2) to the full up position, engaging the window (1).
  8. Install the front window channel. Refer to Rear Side Door Window Front Channel Replacement .
  9. Remove the tape from the window.
  10. Complete the following to properly position the window:
  11. 7.1. Lower the window approximately two in.
    7.2. Seat the window fully rearward against the division post.
    7.3. Adjust the window forward 2 mm to 3 mm (5/64 in to 1/8 in).
    7.4. Raise the window to the full up position.
  12. Set the glass with the clamp fasteners.
  13. Tighten
    Tighten the window clamp fasteners to 10.5 N·m (93 lb in).

  14. Lower the window (1) to the full down position.
  15. Disconnect the power window switch and module.
  16. Install the inner belt molding. Refer to Rear Door Window Belt Inner Sealing Strip Replacement .
  17. Install the water deflector. Refer to Rear Side Door Water Deflector Replacement .
  18. Install the door module. Refer to Door Control Module Replacement .
  19. Install the door trim panel. Refer to Rear Side Door Trim Panel Replacement .