GM Service Manual Online
For 1990-2009 cars only

Removal Procedure

    Caution: Refer to SIR Caution in the Preface section.

  1. Disable the SIR system. Refer to Disabling the SIR System in SIR.
  2. Remove the seat from the vehicle. Refer to Front Seat Replacement - Bucket .

  3. Object Number: 679275  Size: SH
  4. Remove the seat cushion in order to gain access to the seat adjuster motors. Refer to Front Seat Cushion Replacement .
  5. Determine the applicable seat adjuster motor requiring replacement:
  6. • The rear vertical adjuster motor (1)
    • The front vertical adjuster motor (2)
    • The horizontal adjuster motor (3)
  7. Remove the seat adjuster drive cables from the seat adjuster motor. Refer to Power Seat Drive Cable Replacement .
  8. Disconnect the electrical connector from the seat adjuster motor.

  9. Object Number: 864750  Size: SH
  10. Remove the factory motor inserts securing the seat adjuster motor to the seat adjuster motor bracket.
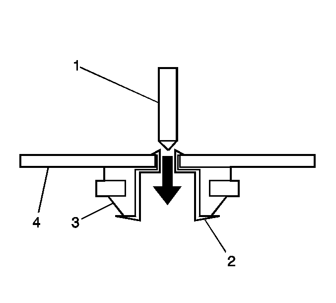
  11. 7.1. On a clean, dry surface lay the seat on its back.
    7.2. Using a 3/16 in drill bit (1), drill the factory motor insert (2) from the bottom side of the motor plate (4).
  12. Remove the seat adjuster motor .
  13. Remove the factory motor insert to be reused in the installation of the new motor.

Installation Procedure


    Object Number: 679275  Size: SH
  1. Position the seat adjuster motor (1,2,3) to the motor plate.

  2. Object Number: 864754  Size: SH
  3. Secure the seat adjuster motor to the seat adjuster motor plate.
  4. 2.1. Discard the motor inserts supplied with the new motor.
    2.2. Install the previously drilled out factory motor inserts (2), into the rubber grommet (3) of the new motor.
    2.3. Insert the rivet (1) through the motor plate (4) into the motor insert (2) and secure.
  5. Connect the electrical connector.
  6. Install the seat adjuster drive cables. Refer to Power Seat Drive Cable Replacement .
  7. Install the seat cushion. Refer to Front Seat Cushion Replacement .
  8. Install the seat into the vehicle. Refer to Front Seat Replacement - Bucket .
  9. Enable the SIR system. Refer to Enabling the SIR System .
  10. If the vehicle is equipped with memory seats, calibrate the seat. Refer to Memory Seat Calibration .