GM Service Manual Online
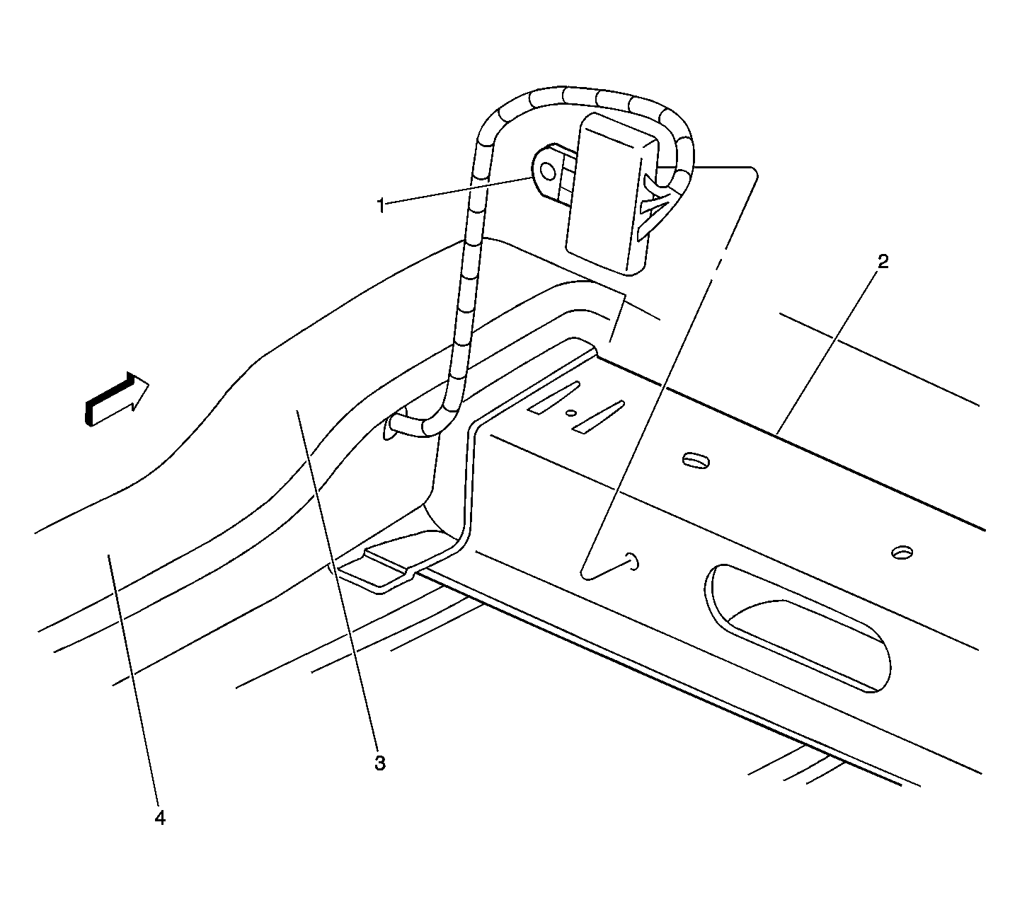
For 1990-2009 cars only
Figure 1:

Front of the Vehicle


Object Number: 154359  Size: LF
(1)C108 shown (C109, RH similar)
(2)S103 shown (S104, RH similar)
(3)S100 shown (S102, RH similar)
Figure 2:

RH Front Corner of Vehicle


Object Number: 154362  Size: LF
(1)Hood Ajar Switch (Export)
(2)S114
(3)Horn - Note
(4)Horn - Note
Figure 3:

Engine Compartment, in the Right Front Corner


Object Number: 747880  Size: LF
(1)Windshield Washer Fluid Level Switch
(2)Windshield Washer Fluid Pump
(3)Windshield Washer Fluid Reservoir
(4)A/C Refrigerant Pressure Sensor
(5)P104
(6)C106
(7)P100
(8)G105
(9)G104
Figure 4:

Engine, on the Left Side


Object Number: 598784  Size: MF
(1)Exhaust Gas Recirculation (EGR) Valve
(2)Engine Coolant Temperature (ECT) Sensor
(3)G108
(4)C101
(5)S117
(6)S120
(7)C100
(8)Throttle Position (TP) Sensor
(9)Idle Air Control (IAC) Sensor
(10)Manifold Absolute Pressure (MAP) Sensor
Figure 5:

Passenger Compartment, Below the Left Side of the IP


Object Number: 154377  Size: LF
(1)S201
(2)P101
(3)C200
(4)G200
(5)S200
(6)C202
Figure 6:

Passenger Compartment, Left Side Under the IP


Object Number: 599490  Size: LF
(1)S203
(2)S204
(3)S213
(4)S205
(5)S202
(6)S206
(7)S208
(8)S209
(9)S210
(10)S212
(11)Theft Deterrent Control Module
Figure 7:

Passenger Compartment, Under the Right Corner of the Upper IP Pad


Object Number: 422621  Size: LF
(1)C201
Figure 8:

Passenger Compartment, Right Side Below the IP


Object Number: 154428  Size: LF
(1)Recirculation Actuator
(2)Blower Motor Control Processor
(3)Blower Motor
(4)C203
(5)Dash Integration Module (DIM)
(6)Air Temperature Actuator-Right
(7)S275
(8)S274
(9)S278
Figure 9:

Passenger Compartment, Windshield


Object Number: 748061  Size: LF
(1)S309
(2)Outside Moisture Sensor
(3)Outside Moisture Sensor Cover
(4)Inside Rearview Mirror
Figure 10:

Passenger Compartment, Below the Center of the I/P


Object Number: 154434  Size: LF
(1)Auxiliary Power Outlet
(2)C304
(3)C312
(4)Blower Motor Resistor Assembly -- Auxiliary
(5)Cigar Lighter
(6)Ashtray Lamp
Figure 11:

Passenger Compartment, Below the Center of the IP


Object Number: 154437  Size: LF
(1)Blower Motor -- Auxiliary
(2)S322
(3)Mode Actuator -- Auxiliary
Figure 12:

Below Center of Instrument Panel


Object Number: 338816  Size: LF
(1)Ignition Switch
(2)Radio Antenna
(3)C313
(4)C303
Figure 13:

Passenger Compartment, Under the Rear Seat


Object Number: 677223  Size: LF
(1)G307
(2)S305
(3)Negative Battery Cable
(4)S306
(5)S307
(6)Positive Battery Cable
(7)Battery
Figure 14:

Passenger Compartment, Under the Rear Seat


Object Number: 154446  Size: LF
(1)C306
(2)S310
(3)S311
Figure 15:

Passenger Compartment, Under the Rear Seat


Object Number: 154447  Size: LF
(1)C320
Figure 16:

Passenger Compartment, Under the Right Seat


Object Number: 747621  Size: LF
(1)C307
(2)G306
(3)Number 2 Bar
(4)Inflatable Restraint Sensing and Diagnostic Module (SDM)
(5)G302
(6)Cover over SP308
Figure 17:

Passenger Compartment, Under the Left Seat


Object Number: 154454  Size: LF
(1)G300
(2)Number 2 Bar
(3)SP302
(4)SP301
Figure 18:

Passenger Compartment, Under the Driver Seat


Object Number: 154455  Size: LF
(1)C300 ( C307 RH Similar)
(2)S303
(3)S302
(4)Inflatable Restraint Side Impact Module -- LF Connector (RF Similar)
Figure 19:

Front Door (LH Drive)


Object Number: 748473  Size: LF
(1)Front Passenger Door Module (FPDM) (DDM Similar)
(2)C603 (C502 Similar)
(3)Speaker -- RF Door Connector (UX9) (LF Similar)
(4)Speaker -- RF Door Connector (UX8) (LF Similar)
(5)P601 (P501 Similar)
(6)Speaker -- RF Door Tweeter Connnector (UX8) (LF Similar)
(7)Door Lock Actuator -- Front Passenger Connectors (Driver Similar)
(8)Door Lock Actuator
(9)Window Motor -- Front Passenger Connector (Driver Similar)
(10)C600 (C500 Similar)
(11)P600 (P500 Similar)
Figure 20:

Passenger Compartment, Under the Rear Seat


Object Number: 679991  Size: LF
(1)Fuse Block -- Rear
(2)G301
(3)Lateral Accelerometer Sensor
Figure 21:

Passenger Compartment, Near the Left Sail Panel


Object Number: 154457  Size: LF
(1)C305
Figure 22:

Passenger Compartment, Right Rear Corner


Object Number: 747929  Size: LF
(1)C309 (RH Drive)
Figure 23:

RCDLR, Rear Comp Lamp, C403, G401, and P400


Object Number: 154461  Size: LF
(1)C403
(2)G401
(3)P400
(4)Rear Compartment Lamp
(5)Remote Control Door Lock Receiver (RCDLR)
Figure 24:

Behind the Rear Seat


Object Number: 154443  Size: LF
(1)Continuously Variable Road Sensing Suspension (CVRSS) Module
(2)S401
(3)Rear Integration Module (RIM)
Figure 25:

Rear Door


Object Number: 748485  Size: LF
(1)Right Rear Door Module (RRDM) Connectors (LRDM Similar)
(2)C802 (C702 Similar)
(3)Door Lock Actuator -- RR Connectors (LR Similar)
(4)Door Lock Actuator -- RR (LR Similar)
(5)Window Motor -- RR (LR Similar)
(6)P801 (P701 Similar)
(7)P800 (P700 Similar)
Figure 26:

Rear Compartment, in the Left Rear


Object Number: 154462  Size: LF
(1)C400
(2)P401
(3)G402
(4)P402
Figure 27:

Rear Compartment, Rear Compartment Lid


Object Number: 154463  Size: LF
(1)C421
(2)Center High Mounted Stop Lamp (CHMSL)
(3)Rear Compartment Latch
(4)Rear Compartment Key Cylinder Release w/ Disarm Switch
(5)Rear Compartment Lid Pulldown Motor
Figure 28:

Rear Compartment, Rear Compartment Lid


Object Number: 154464  Size: LF
(1)Tail Lamp Assembly
(2)Tail Lamp Resistor -- Right
(3)Tail Lamp Resistor -- Left
(4)S410
(5)S420
(6)C402
(7)P404
(8)S413
(9)License Lamp
(10)S407
(11)S406
(12)S405
(13)S404
(14)License Lamp
Figure 29:

Rear Compartment, Left Rear Corner


Object Number: 154465  Size: LF
(1)C400 (C403 Right Similar)
(2)Tail Lamp -- Left (Right Similar)
(3)P402 (P403 Similar)
(4)S402 (S403 Right Similar)
(5)S412 (S409 Right Similar)
Figure 30:

Right Rear of the Vehicle, in the Wheel Opening


Object Number: 154468  Size: LF
(1)C420
(2)P401
Figure 31:

Under the Rear of the Vehicle


Object Number: 259802  Size: LF
(1)C401
Figure 32:

Front Door Components (S601, S500, S600, S501, C603, and C502)


Object Number: 259806  Size: LF
(1)S601 (LH S500)
(2)S600 (LH S501)
(3)C603 (LH C502)
Figure 33:

Door Jamb, Front of Door


Object Number: 154460  Size: LF
(1)P801 (P701 Similar)
(2)P800 (P700 Similar)
(3)C800 (C700 Similar)
(4)C802 (C702 Similar)
Figure 34:

Door Speaker (UX9)


Object Number: 747898  Size: LF
(1)P601 (P501 Similar)
(2)Speaker -- RF Door (UX9) Connector (LF Similar)
(3)Speaker -- RF Door (UX9) (LF Similar)