GM Service Manual Online
For 1990-2009 cars only
Makes
🢒
Cadillac
🢒
2001
🢒
Seville
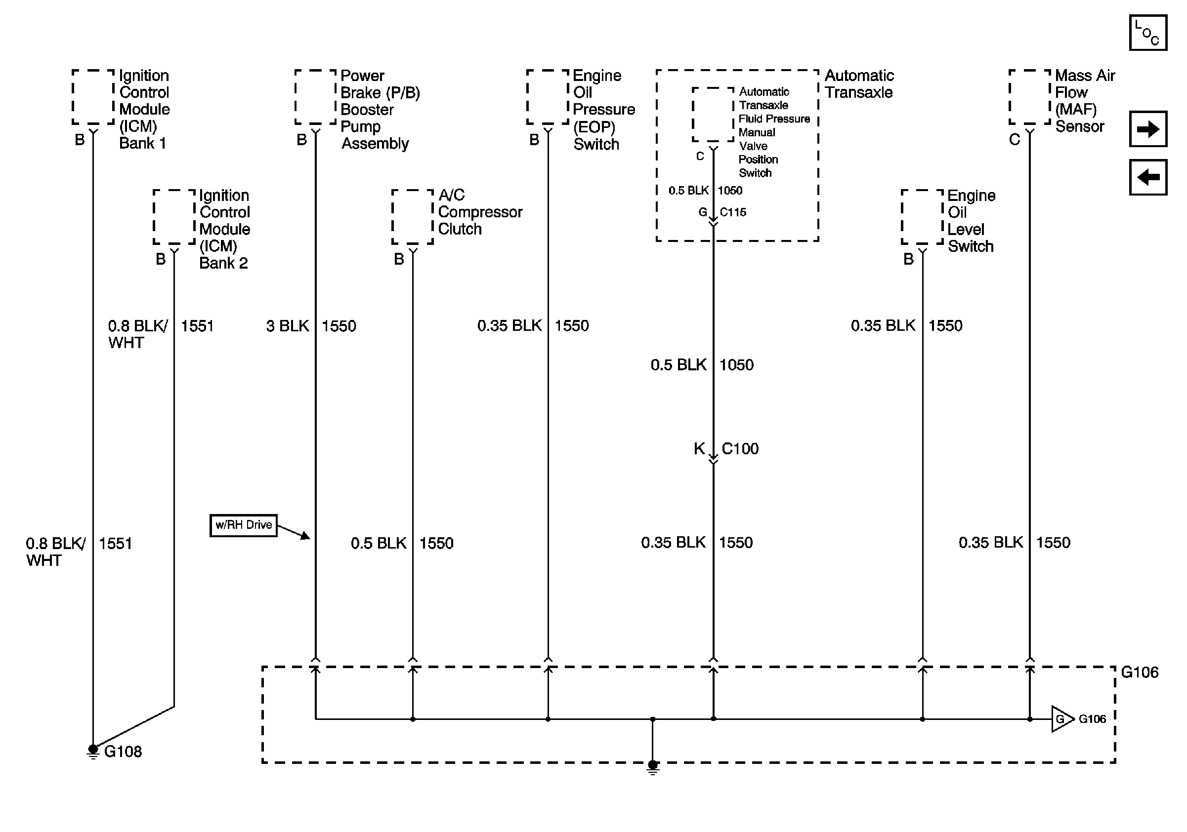
🢒 G106 and G108
G106 and G108
G106 and G108
G106, G109, and G110
G104