GM Service Manual Online
For 1990-2009 cars only
Makes
🢒
Cadillac
🢒
2001
🢒
Seville
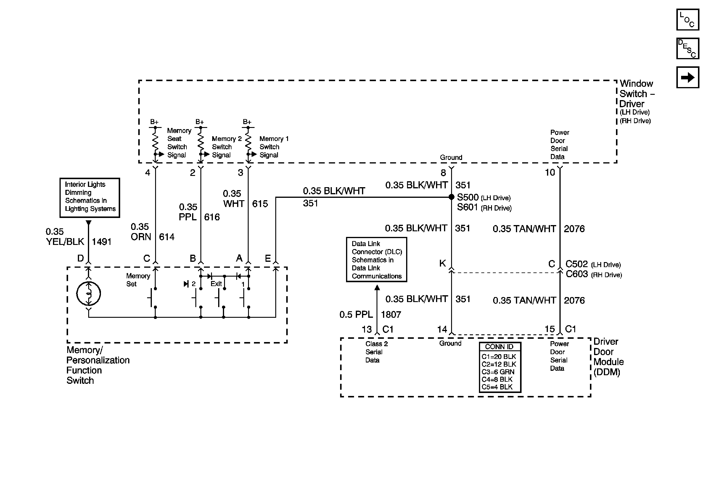
🢒 Memory Function Switch
Memory Function Switch
Memory Function Switch
Power, Ground, LH Seat Switch, and Memory Seat Module
Power Seat Component Views
Memory Seats Description and Operation
Rear Door Dimming
Class 2 Serial Data Line (LH Drive) (2 of 2)