GM Service Manual Online
For 1990-2009 cars only
Makes
🢒
Cadillac
🢒
2001
🢒
Seville
🢒 Brake Warning System
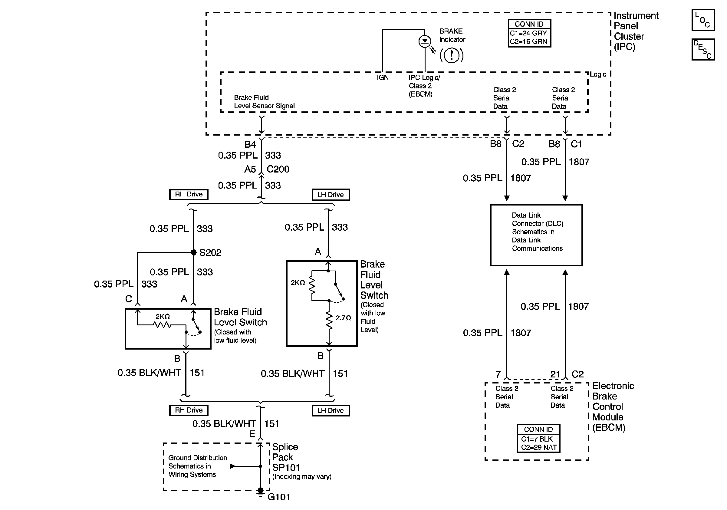
Brake Warning System
Master Electrical Component List
Brake Warning System Description and Operation
Class 2 Serial Data Line (LH Drive) (1 of 2)
G101 and G105