GM Service Manual Online
For 1990-2009 cars only
Makes
🢒
Cadillac
🢒
2001
🢒
Seville
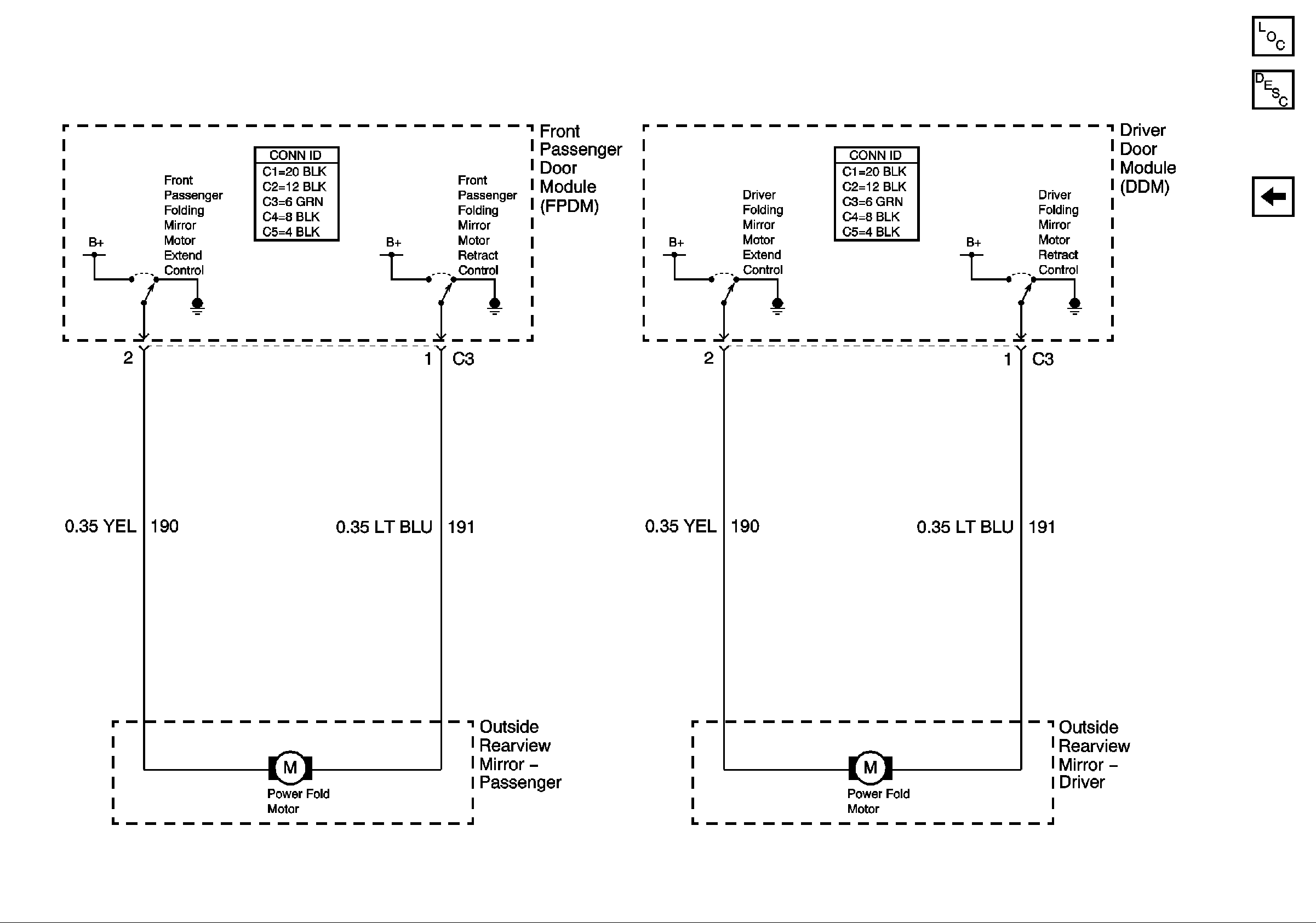
🢒 Express Folding Mirrors
Express Folding Mirrors
Express Folding Mirrors
Master Electrical Component List
Outside Mirror Description and Operation
Heated Mirrors