GM Service Manual Online
For 1990-2009 cars only
Makes
🢒
Cadillac
🢒
2001
🢒
Seville
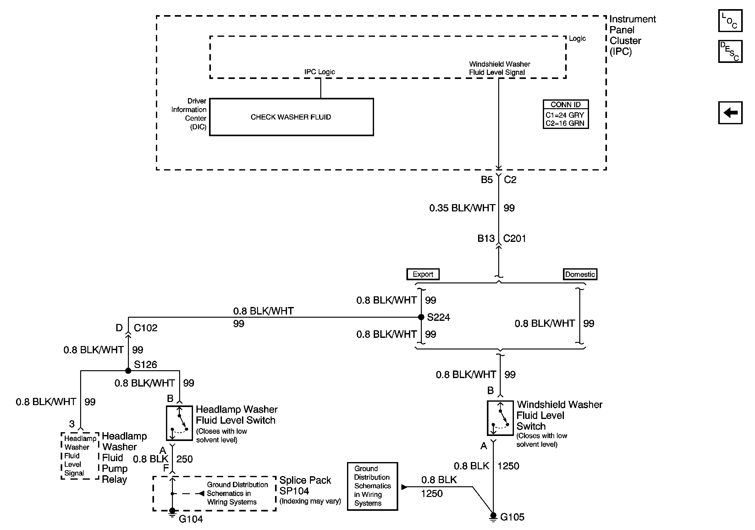
🢒 Washer Fluid Level Switches
Washer Fluid Level Switches
Washer Fluid Level Switches
Master Electrical Component List
Wiper/Washer System Description and Operation
Wiper System (w/CE1)
G101 and G105
G104