| Subject: | Clunk/Rattle Noise From Lower Steering Column Area When
Traveling Over Road Bumps (Replace Lower Steering Shaft Bearing Assembly) |
| Models: | 1998-2002 Cadillac Seville Built Prior VIN Breakpoint 2U284658 |
Condition
Some customers may comment on a clunking or rattling noise from the
lower steering column area that may be heard in the passenger compartment
as the vehicle travels over bumps in the road.
Cause
This condition may be due to clearance between the steering shaft and
the inner race of the lower steering column shaft bearing.
Correction
Replace the existing lower steering column shaft bearing with P/N 26100500
and install a new retainer/no back washer, P/N 07847029. Refer to the
procedures in this bulletin and the Steering Column Replacement procedures
in the Service Manual.
Removal Procedure
Tools Required
J 42640 Steering Column Anti-Rotation Pin
Caution: Refer to SIR Caution in Cautions and Notices of the Service Manual.
- If applicable, adjust the telescopic steering column to the maximum
rearward position.
- Disconnect the negative battery cable. Refer to Battery Negative
Cable Disconnect/Connect Procedure in the Engine Electrical sub-section of
the Service Manual.
- Disable the SIR system. Refer to Disabling the SIR System in the
SIR sub-section of the Service Manual.
- Remove the closeout/IP insulator panel and knee bolster trim panel.
Refer to Knee Bolster Replacement in the Instrument Panel, Gages and Console
sub-section of the Service Manual.
- Turn the steering wheel all the way to the right, then back to
the left slightly.
- Install the J 42640 into the lower steering column trim
cover access hole in order to lock the steering column.
- Disconnect the steering column electrical connectors.
- If disconnecting the steering column from the intermediate shaft
from inside the vehicle, remove the intermediate shaft upper pinch bolt and
nut.
- If disconnecting the steering column from the intermediate shaft
from underneath the vehicle, follow these steps:
| 9.1. | Raise and suitably support the vehicle. Refer to Vehicle Lifting
and Jacking in the General Information subsection of the Service Manual. |
| 9.2. | Remove the intermediate shaft lower pinch bolt and nut. |
- Remove the steering column lower mounting nuts.
- Remove the steering column upper mounting nuts.
- Remove the steering column from the vehicle and place the column
on a flat surface.
- If necessary, disconnect the intermediate shaft by removing the
upper pinch bolt and nut.
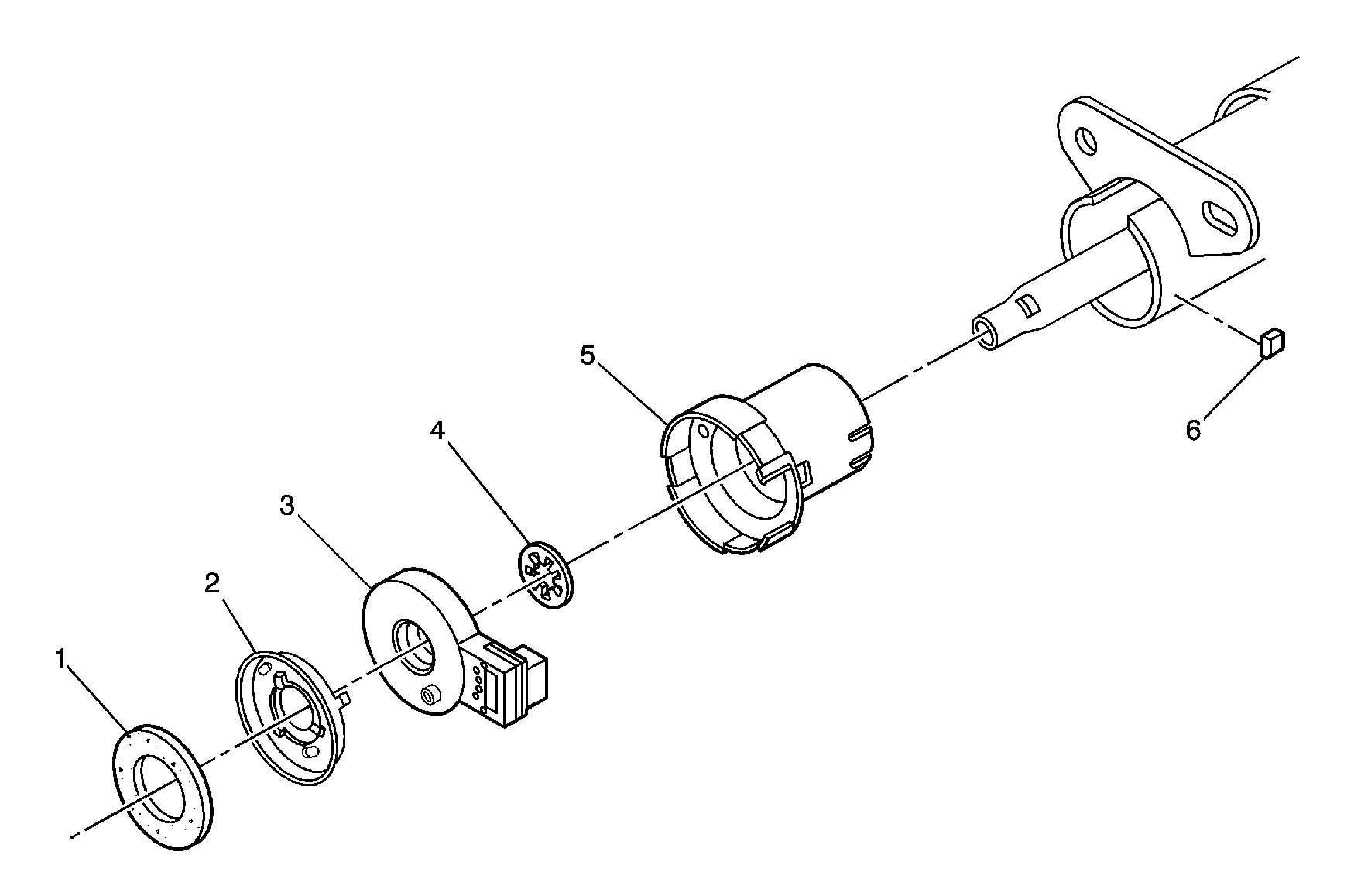
- Remove the steering shaft seal (1) and the steering shaft lower
bearing retainer (2) together as one unit.
- Remove the steering wheel position sensor assembly (3) by inserting
a flat bladed tool between the sensor assembly and the steering shaft lower
bearing (5) and pry gently.
- On power tilt and telescoping steering columns:
| 16.1. | Remove the retainer (4). |
| 16.2. | If a wave washer was installed, remove and discard the washer. |
- On manual tilt steering columns:
| 17.1. | Remove the retainer (4). |
| 17.2. | Remove the lower bearing spring and seat. |
- Remove the steering column jacket hole plug (6).
- Remove the steering shaft lower bearing assembly (5).
Installation Procedure
- Install a new steering shaft lower bearing assembly (5), P/N 26100500.
- Install the steering column jacket hole plug (6).
- Pull the steering column shaft out until the chamfer on the shaft
bottoms out against the bearing assembly.
Important: On manual tilt steering columns, installation of the new retainer/no
back washer, lower bearing spring and seat is NOT required.
- On power tilt and telescoping steering columns ONLY, install a new retainer/no
back washer (4), P/N 07847029, with the rounded side to the bearing
assembly.
- Install the steering wheel position sensor assembly (3).
- Install the steering shaft seal (1) and the steering shaft lower
bearing retainer (2) together as one unit.
- If the steering column was disconnected from underneath the vehicle,
connect the intermediate shaft to the steering column. Install the upper pinch
bolt and nut.
Tighten
Tighten the intermediate steering shaft upper pinch bolt to 47 N·m
(35 lb ft).
- Install the steering column to the vehicle.
- Install the steering column lower mounting nuts.
Tighten
Tighten the steering column lower mounting nuts to 27 N·m
(20 lb ft).
- Install the steering column upper mounting nuts.
Tighten
Tighten the steering column upper mounting nuts to 27 N·m
(20 lb ft).
- Connect the steering column electrical connectors.
- If the steering column was disconnected from inside the vehicle,
connect the intermediate shaft to the steering column. Install the upper pinch
bolt and nut.
Tighten
Tighten the intermediate steering shaft upper pinch bolt to 47 N·m
(35 lb ft).
- If the steering column was disconnected from underneath the vehicle,
follow these steps:
| 13.1. | Raise and suitably support the vehicle. Refer to the Vehicle Lifting
and Jacking in the General Information subsection of the Service Manual. |
| 13.2. | Connect the intermediate shaft to the steering column. Install
the lower pinch bolt and nut. |
Tighten
Tighten the intermediate steering shaft lower pinch bolt to 47 N·m
(35 lb ft).
- Install the closeout/IP insulator panel and knee bolster trim
panel. Refer to Knee Bolster Replacement in the Instrument Panel, Gages and
Console sub-section of the Service Manual.
- Remove the J 42640 from the lower steering column trim
cover access hole.
- Enable the SIR system. Refer to Enabling the SIR System in the
SIR sub-section of the Service Manual.
- Connect the negative battery cable. Refer to Battery Negative
Cable Disconnect/Connect Procedure in the Engine Electrical sub-section of
the Service Manual.
Parts Information
Part Number
| Description
|
26100500
| Bearing, Steering Shaft Lower (w/Adapter)
|
07847029
| Retainer
|
Parts are currently available from GMSPO.
Warranty Information
For vehicles repaired under warranty, use:
Labor Operation
| Description
| Labor Time
|
E7620
| Bearing and/or Bushing, Steering Shaft Lower-Replace
| 1.2 hrs*
|
*This labor operation time is new and will be included in the next update of the Labor Time Guide.
|