GM Service Manual Online
For 1990-2009 cars only
Makes
🢒
Cadillac
🢒
2002
🢒
Seville
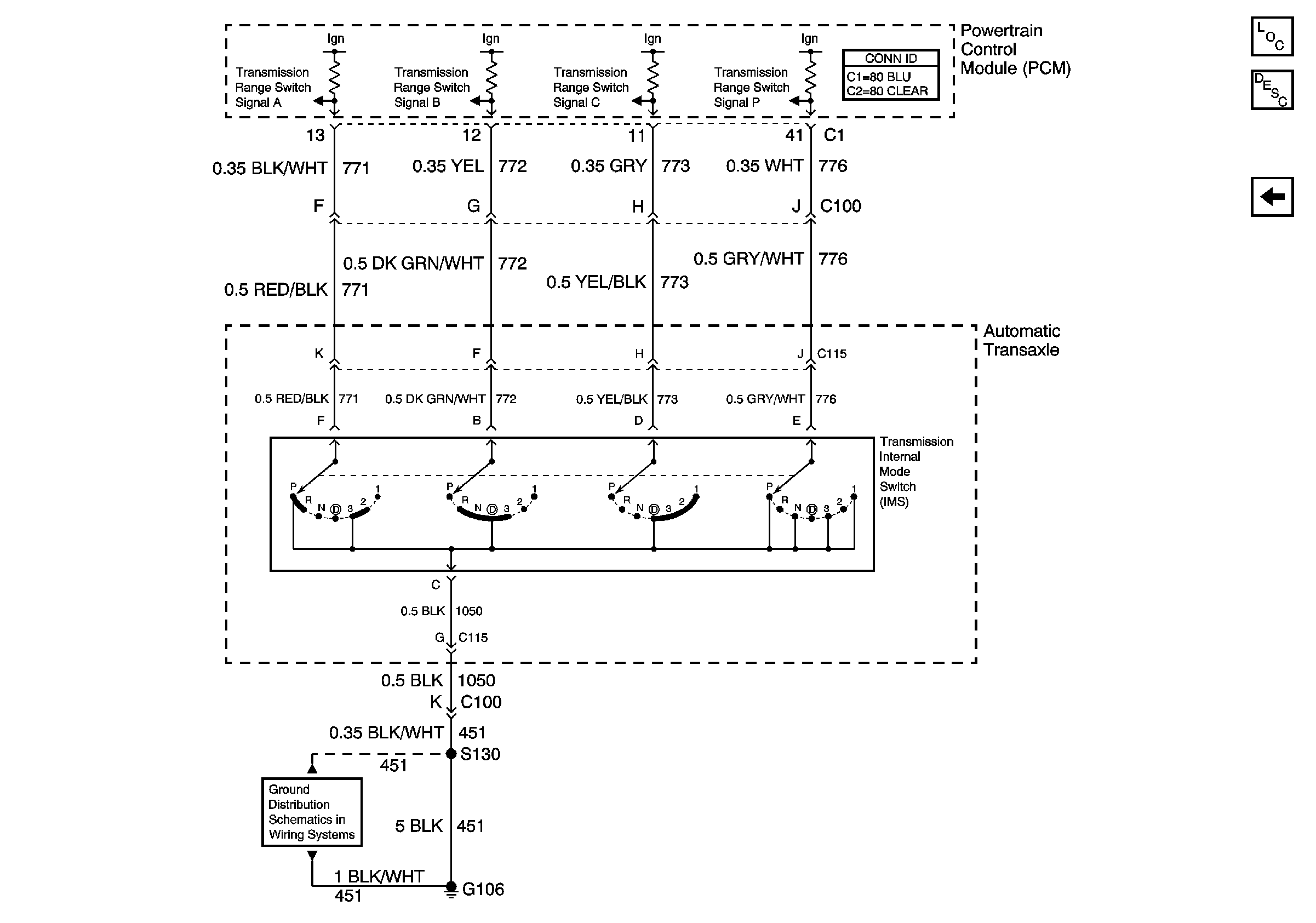
🢒 Automatic Transaxle Fluid Pressure Manual Valve Position Switch
Automatic Transaxle Fluid Pressure Manual Valve Position Switch
Automatic Transaxle Fluid Pressure Manual Valve Position Switch
Master Electrical Component List
Reverse Lockout System Description and Operation
Reverse Lockout and AT Shift Lock Control Solenoids
G106 and G108