GM Service Manual Online
For 1990-2009 cars only
Makes
🢒
Cadillac
🢒
2002
🢒
Seville
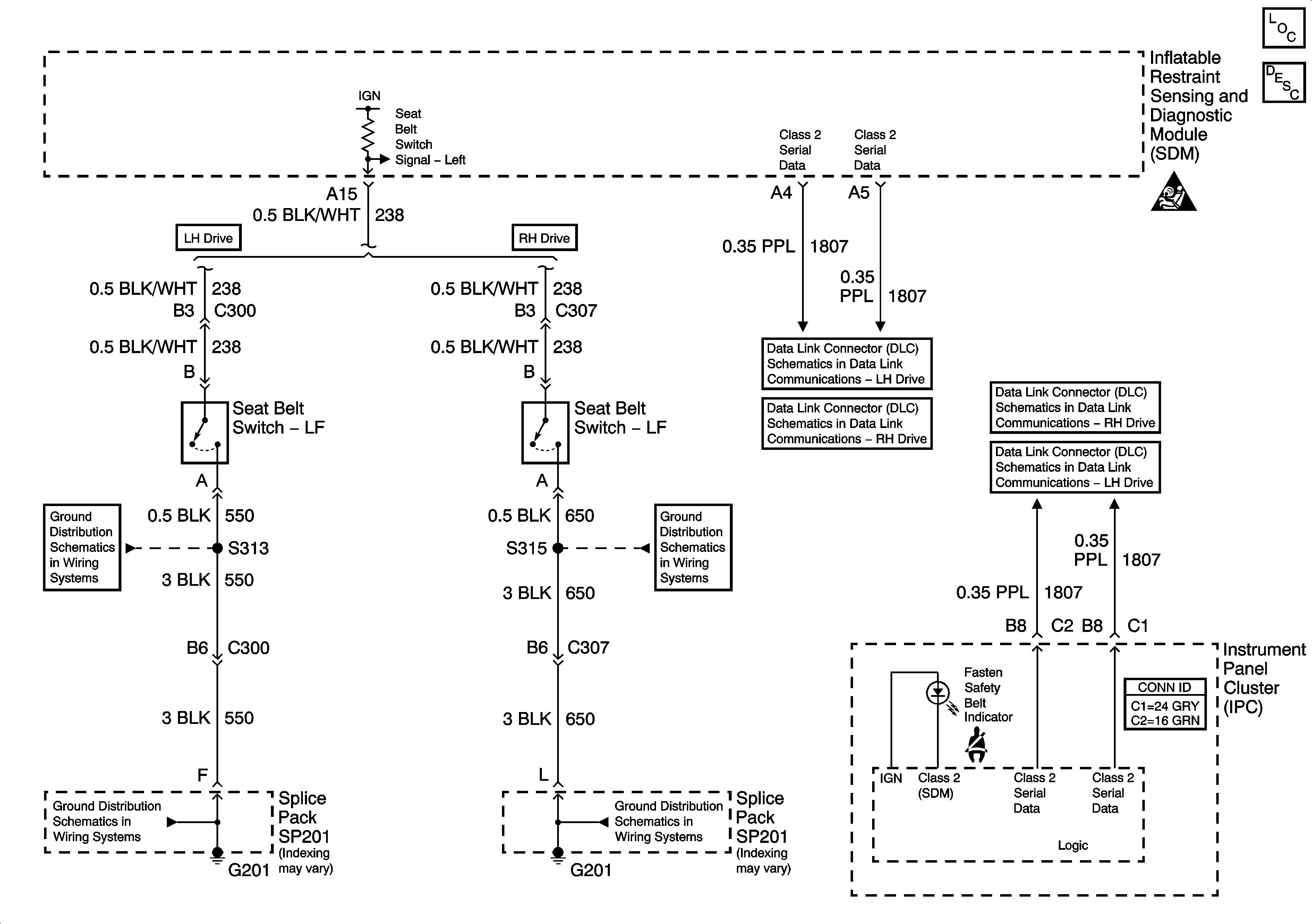
🢒 Fasten Seat Belt Indicator and Switch
Fasten Seat Belt Indicator and Switch
Master Electrical Component List
Seat Belt System Description and Operation
SIR Caution
Class 2 Serial Data Line (LH Drive) (1 of 2)
G201 4 of 5 (RH Drive)
G201 4 of 5 (RH Drive)
G201 3 of 5 (LH Drive)
G201 3 of 5 (LH Drive)