GM Service Manual Online
For 1990-2009 cars only
Makes
🢒
Cadillac
🢒
2002
🢒
Seville
🢒 Power and Ground
Power and Ground
Master Electrical Component List
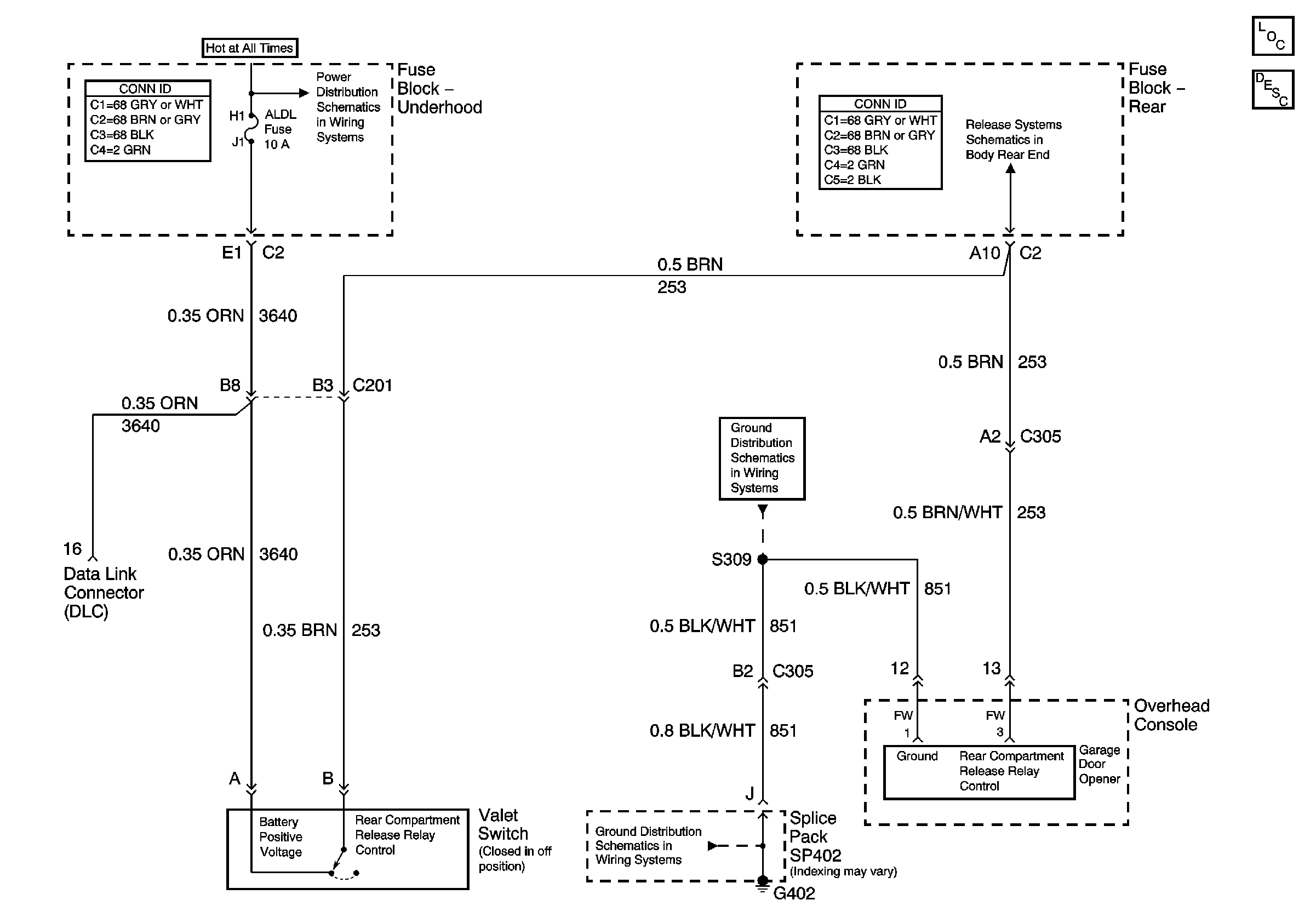
Garage Door Opener Description and Operation
G402 1 of 2
G402 1 of 2
Power and Ground