GM Service Manual Online
For 1990-2009 cars only
Makes
🢒
Cadillac
🢒
2002
🢒
Seville
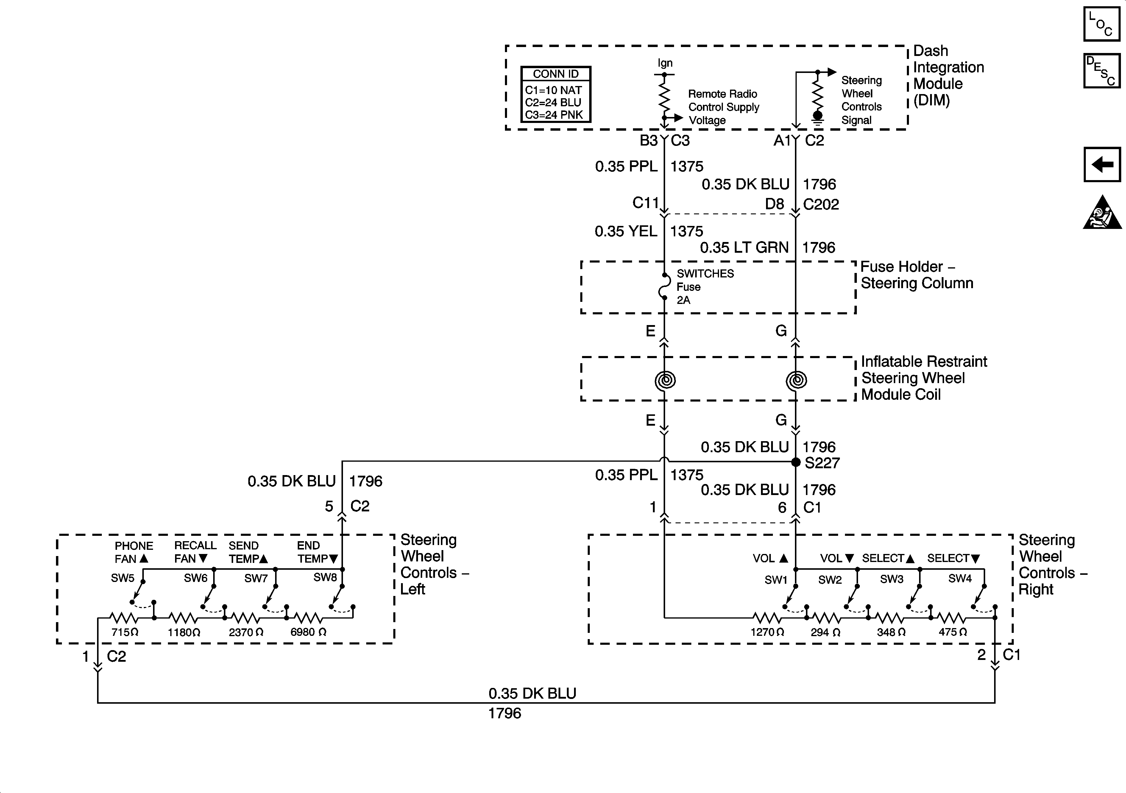
🢒 Steering Column Controls
Steering Column Controls
Steering Column Controls
Master Electrical Component List
Air Delivery Description and Operation
Temperature Sensors - RH Drive