GM Service Manual Online
For 1990-2009 cars only

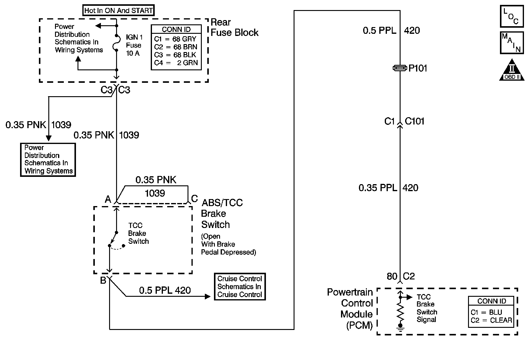
Object Number: 655488  Size: MF
Master Electrical Component List
Automatic Transmission Controls Schematics
OBD II Symbol Description Notice

Circuit Description

The torque converter clutch (TCC) brake switch is used to indicate the status of the brake pedal, applied or released, to the PCM. The normally-closed TCC brake switch supplies an ignition voltage input to the PCM. Applying the brake pedal opens the switch, interrupting voltage to the PCM. Releasing the brake pedal resumes voltage to the PCM. When the PCM senses 0 volts at the TCC brake switch input, the PCM de-energizes the TCC solenoid valve.

If the PCM detects a closed TCC brake switch, stuck OFF, during decelerations, then DTC P0724 sets. DTC P0724 is a type C DTC.

Conditions for Running the DTC

    • No VSS DTCs P0502 or P0503.
    • DTC P0724 has not passed this ignition cycle.

Conditions for Setting the DTC

The TCC brake switch input indicates ignition volts and the following conditions occur eight times without a status change on the TCC brake input:

    • Vehicle speed is greater than 32 km/h (20 mph) for 6 seconds.
    • The vehicle speed decreases to 8 km/h (5 mph) within 2-6 seconds.
    • Then vehicle speed is less than 8 km/h (5 mph).

Action Taken When the DTC Sets

    • The PCM does not illuminate the malfunction indicator lamp (MIL).
    • SERVICE ELECTRICAL SYSTEM displays on the driver information center (DIC).
    • The PCM turns OFF the BTSI solenoid.
    • The PCM records the operating conditions when the Conditions for Setting the DTC are met. The PCM stores this information as Failure Records.
    • The PCM stores DTC P0724 in PCM history.

Conditions for Clearing the DIC/DTC

    • The PCM clears the DIC message when the condition no longer exists.
    • The TCC brake switch input indicates 0 volts for 2 seconds.
    • A scan tool can clear the DTC.
    • The PCM clears the DTC from PCM history if the vehicle completes 40 warm-up cycles without a non-emission-related diagnostic fault occurring.
    • The PCM cancels the DTC default actions when the fault no longer exists and the DTC passes.

Test Description

The numbers below refer to the step numbers on the diagnostic table.

  1. Disconnecting the brake switch connector, and observing a status change, isolates the brake switch as the source of the DTC.

  2. This step inspects the signal circuit for a short to voltage, if the brake switch status on the scan tool did not change in Step 2.

  3. If the brake switch is properly adjusted, then the brake switch must be replaced.

  4. Replace the PCM only after you have completed the preceding diagnostic steps.

DTC P0724

Step

Action

Value(s)

Yes

No

1

Did you perform the Powertrain Diagnostic System Check?

--

Go to Step 2

Go to Diagnostic System Check - Engine Controls in Engine Controls

2

  1. Install a scan tool.
  2. Turn ON the ignition, with the engine OFF.
  3. Important: Before clearing the DTC, use the scan tool in order to record the Failure Records. Using the Clear Info function erases the Failure Records from the PCM.

  4. Record the DTC Failure Records.
  5. Clear the DTC.
  6. Select TCC Brake Switch on the scan tool.
  7. Disconnect the TCC brake switch connector.

Does the TCC brake switch status change from Closed to Open?

--

Go to Step 4

Go to Step 3

3

Test the signal circuit (CKT 420) of the TCC brake switch for a short to voltage.

Refer to Circuit Testing and Wiring Repairs in Wiring Systems.

Did you find and correct the condition?

--

Go to Step 6

Go to Step 5

4

Replace the TCC brake switch.

Refer to Stop Lamp Switch Replacement in Hydraulic Brakes.

Did you complete the replacement?

--

Go to Step 6

--

5

Replace the PCM.

Refer to Powertrain Control Module Replacement in Engine Controls.

Did you complete the replacement?

--

Go to Step 6

--

6

Perform the following procedure in order to verify the repair:

  1. Select DTC.
  2. Select Clear Info.
  3. Operate the vehicle under the following conditions:
  4. • Turn ON the ignition, with the engine OFF.
    • Apply the brake pedal for at least 2 seconds.
  5. Select Specific DTC.
  6. Enter DTC P0724.

Has the test run and passed?

--

System OK

Go to Step 1