GM Service Manual Online
For 1990-2009 cars only
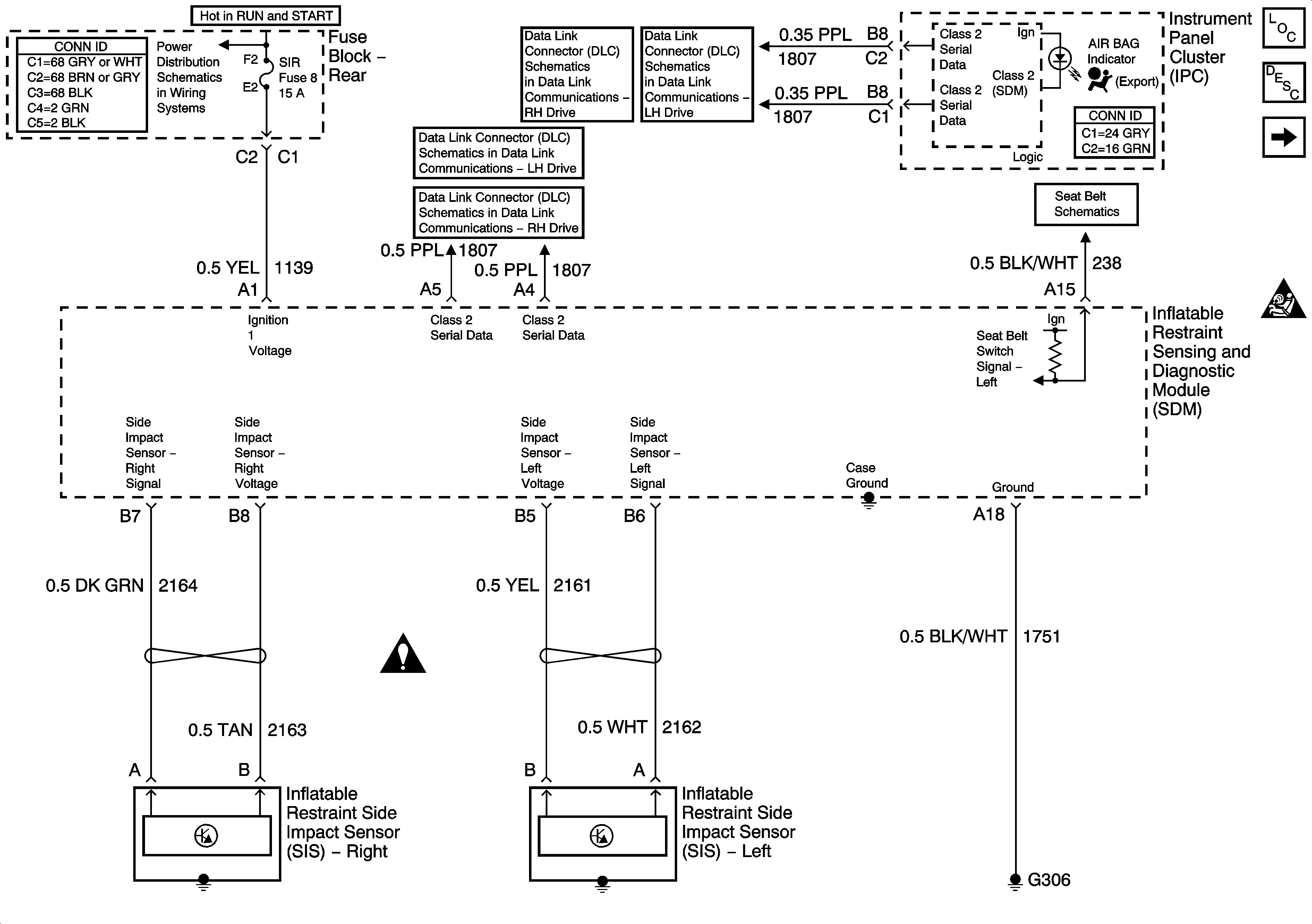
Figure 1:

Power, Ground, and Side Impact Sensors


Object Number: 879765  Size: FS
Figure 2:

SDM Frontal Inflator Modules


Object Number: 788510  Size: FS
Figure 3:

SDM and Side Impact Inflator Modules w/Pretensioners


Object Number: 788512  Size: FS