GM Service Manual Online
For 1990-2009 cars only
Figure 1:

Class 2 Signals


Object Number: 642284  Size: FS
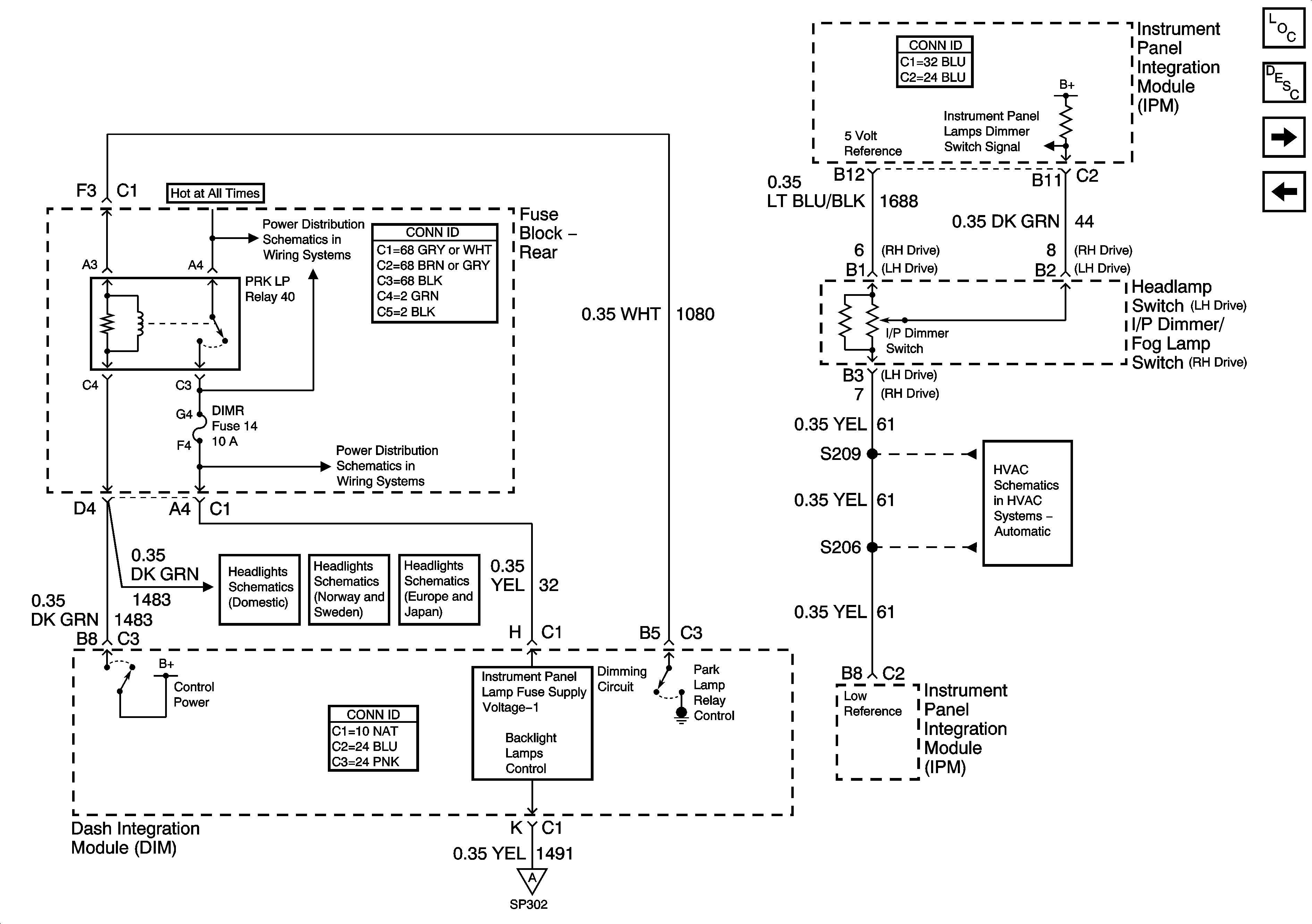
Figure 2:

Dimming Control


Object Number: 879876  Size: FS
Figure 3:

Ashtray Lamp and Steering Wheel Controls


Object Number: 783685  Size: FS
Figure 4:

DIC and Headlamp Switch


Object Number: 783686  Size: FS
Figure 5:

Steering Wheel Controls


Object Number: 757667  Size: FS
Figure 6:

Front Door Dimming


Object Number: 783688  Size: FS
Figure 7:

Rear Door Dimming


Object Number: 642292  Size: FS