GM Service Manual Online
For 1990-2009 cars only

Object Number: 1201105  Size: LF
Master Electrical Component List
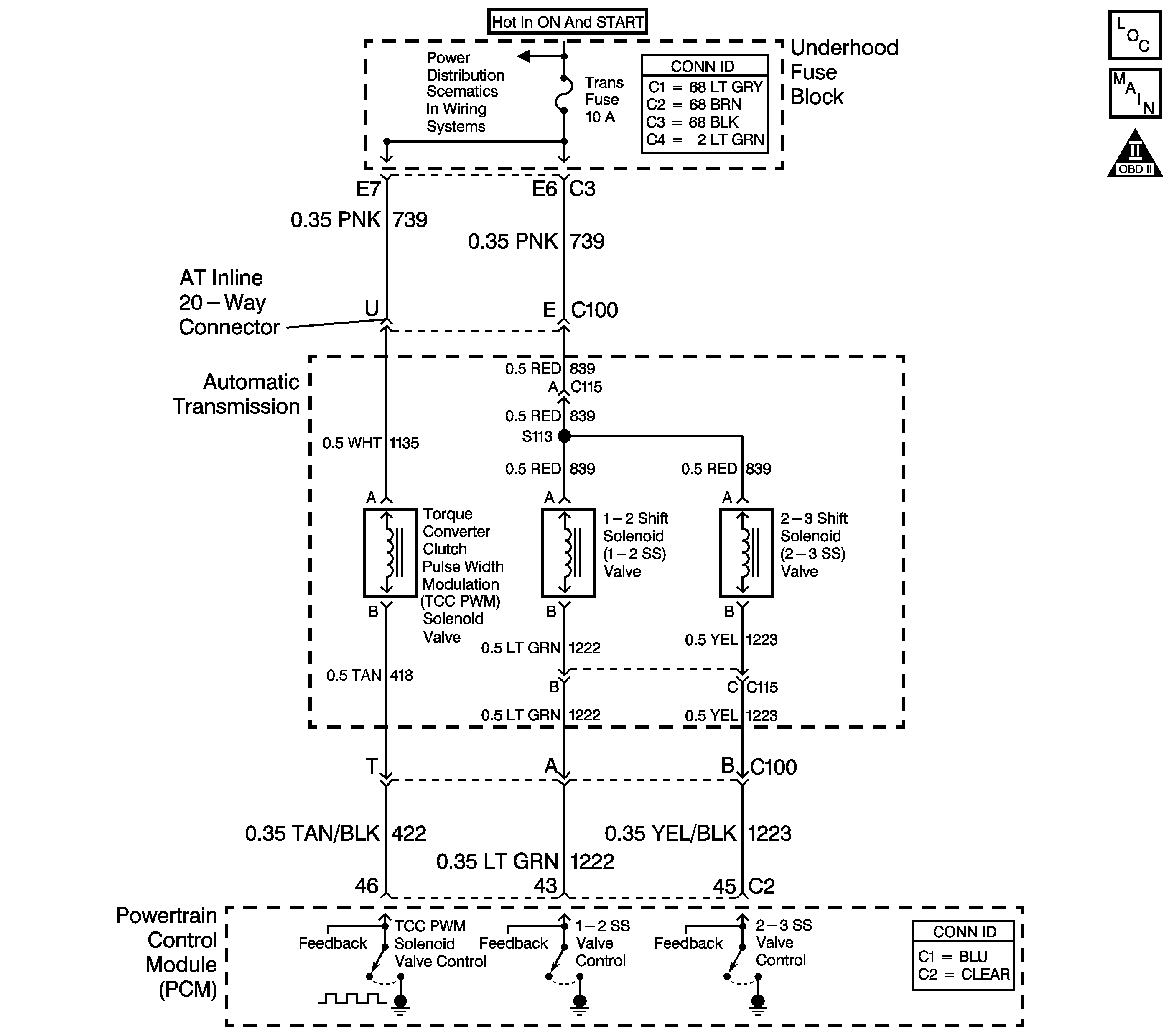
Automatic Transmission Controls Schematics
OBD II Symbol Description Notice

Circuit Description

The 2-3 shift solenoid (SS) valve controls the transmission fluid pressure acting on the 1-2 and 2-3 shift valves to position the valves for the appropriate gear. The 2-3 SS valve is a normally open exhaust valve located on the lower control valve body. Ignition voltage is supplied to the solenoid. The output driver module (ODM), within the PCM, commands the solenoid ON or OFF by providing a ground path. When the 2-3 SS valve is commanded ON, the PCM senses low voltage. When the 2-3 SS valve is commanded OFF, the PCM senses high voltage.

If the PCM detects a continuous open or short to ground in the 2-3 SS valve circuit, then DTC P1845 sets. DTC P1845 is a type A DTC.

Conditions for Running the DTC

The engine run time is greater than 5 seconds.

Conditions for Setting the DTC

The 2-3 SS valve feedback circuit indicates a continuous open or short to ground for 4.3 seconds.

Action Taken When the DTC Sets

    • The PCM illuminates the malfunction indicator lamp (MIL).
    • The PCM commands an immediate landing to 2nd gear.
    • The PCM commands maximum line pressure.
    • The PCM inhibits TCC engagement.
    • The PCM freezes transmission adaptive functions.
    • The PCM records the operating conditions when the Conditions for Setting the DTC are met. The PCM stores this information as Freeze Frame and Failure Records.
    • The PCM stores DTC P1845 in PCM history.

Conditions for Clearing the MIL/DTC

    • The PCM turns OFF the MIL during the third consecutive trip in which the diagnostic test runs and passes.
    • A scan tool can clear the MIL/DTC.
    • The PCM clears the DTC from PCM history if the vehicle completes 40 warm-up cycles without an emission-related diagnostic fault occurring.
    • The PCM cancels the DTC default actions when the ignition switch is OFF long enough in order to power down the PCM.

Test Description

The numbers below refer to the step numbers on the diagnostic table.

  1. This step tests the electrical operation of the solenoid.

  2. This step verifies the PCMs ability to command the solenoid.

  3. This step verifies that the circuit has the correct resistance.

DTC P1845

Step

Action

Value(s)

Yes

No

1

Did you perform the Diagnostic System Check - Engine Controls?

--

Go to Step 2

Go to Diagnostic System Check - Engine Controls in Engine Controls

2

  1. Install a scan tool.
  2. Turn ON the ignition, with the engine OFF.
  3. Important: Before clearing the DTC, use the scan tool in order to record the Freeze Frame and Failure Records. Using the Clear Info function erases the Freeze Frame and Failure Records from the PCM.

  4. Record the DTC Freeze Frame and Failure Records.
  5. Clear the DTC.

Is DTC P1842 or P1860 also set?

--

Go to Step 3

Go to Step 8

3

  1. Remove the TRANS fuse.
  2. Inspect the fuse for an open.
  3. Refer to Circuit Protection - Fuses in Wiring Systems.

Did you find the condition?

--

Go to Step 4

Go to Step 6

4

Important: The condition that affects this circuit may exist in other connecting branches of the circuit. Refer to Power Distribution Schematics in Wiring Systems for complete circuit distribution.

Test the ignition 1 voltage circuit (CKT 739) of the 2-3 SS valve for a short to ground between the underhood fuse block and the AT inline 20-way connector.

Refer to Testing for Short to Ground and Wiring Repairs in Wiring Systems.

Did you find and correct the condition?

--

Go to Step 23

Go to Step 5

5

Important: The condition that affects this circuit may exist in other connecting branches of the circuit. Refer to Power Distribution Schematics in Wiring Systems for complete circuit distribution.

Test the ignition 1 voltage circuit (CKT 839) of the 2-3 SS valve for a short to ground between the AT inline 20-way connector and the 2-3 SS valve.

Refer to Testing for Short to Ground in Wiring Systems.

Did you find the condition?

--

Go to Step 20

--

6

Test the ignition 1 voltage circuit (CKT 739) of the 2-3 SS valve for an open between the underhood fuse block and the AT inline 20-way connector.

Refer to Testing for Continuity and Wiring Repairs in Wiring Systems.

Did you find and correct the condition?

--

Go to Step 23

Go to Step 7

7

Test the ignition 1 voltage circuit (CKT 839) of the 2-3 SS valve for an open between the AT inline 20-way connector and the 2-3 SS valve.

Refer to Testing for Continuity in Wiring Systems.

Did you find the condition?

--

Go to Step 20

--

8

  1. Use the scan tool in order to command the 2-3 SS valve ON and OFF 3 times.
  2. Listen at the transmission bottom pan.

Does the solenoid click when commanded ON and OFF?

--

Go to Intermittent Conditions in Engine Controls

Go to Step 9

9

  1. Turn OFF the ignition.
  2. Disconnect the AT inline 20-way connector. Additional DTCs may set.
  3. Install the J 44152 Jumper Harness (20 pins) on the engine side of the AT inline 20-way connector.
  4. Using the J 35616 GM Terminal Test Kit, connect a test lamp between terminals E and B of the J 44152 .
  5. Refer to Automatic Transmission Inline 20-Way Connector End View .

  6. Turn ON the ignition, with the engine OFF.
  7. Command the 2-3 SS valve ON and OFF three times.

Is the test lamp ON when you command the solenoid ON, and OFF when you command the solenoid OFF?

--

Go to Step 14

Go to Step 10

10

Is the test lamp always ON?

--

Go to Step 11

Go to Step 13

11

  1. Turn OFF the ignition.
  2. Disconnect the PCM connector C2. Additional DTCs may set.
  3. Turn ON the ignition, with the engine OFF.

Is the test lamp ON?

--

Go to Step 12

Go to Step 22

12

Test the control circuit (CKT 1223) of the 2-3 SS valve for a short to ground between the PCM connector C2 and the AT inline 20-way connector.

Refer to Testing for Short to Ground and Wiring Repairs in Wiring Systems.

Did you find and correct the condition?

--

Go to Step 23

--

13

Test the control circuit (CKT 1223) of the 2-3 SS valve for an open between the PCM connector C2 and the AT inline 20-way connector.

Refer to Testing for Continuity and Wiring Repairs in Wiring Systems.

Did you find and correct the condition?

--

Go to Step 23

Go to Step 22

14

  1. Turn OFF the ignition.
  2. Disconnect the J 44152 from the engine side of the AT inline 20-way connector.
  3. Install the J 44152 on the transmission side of the AT inline 20-way connector.
  4. Using the DMM and the J 35616 measure the resistance between terminals E and B of the J 44152 .
  5. Refer to Automatic Transmission Inline 20-Way Connector End View .

Is the resistance within the specified range?

20-40 ohms

Go to Step 17

Go to Step 15

15

Is the resistance greater than the specified value?

40 ohms

Go to Step 16

Go to Step 17

16

  1. Test the control circuit (CKT 1223) of the 2-3 SS valve for an open between the AT inline 20-way connector and the 2-3 SS valve.
  2. Test the ignition 1 voltage circuit (CKT 839) for an open between the AT inline 20-way connector and the 2-3 SS valve.

Refer to Testing for Continuity in Wiring Systems.

Did you find a condition?

--

Go to Step 20

Go to Step 21

17

Measure the resistance from terminal B of the J 44152 to ground.

Refer to Automatic Transmission Inline 20-Way Connector End View .

Is the resistance less than the specified value?

100 ohms

Go to Step 18

Go to Step 19

18

Test the control circuit (CKT 1223) of the 2-3 SS valve for a short to ground between the AT inline 20-way connector and the 2-3 SS valve.

Refer to Testing for Short to Ground in Wiring Systems.

Did you find the condition?

--

Go to Step 20

--

19

Measure the resistance between terminal B and all other terminals, except terminals A and E, of the J 44152 .

Refer to Automatic Transmission Inline 20-Way Connector End View .

Is the resistance between terminal B and any other terminal, except terminals A and E, less than the specified value?

100 ohms

Go to Step 20

Go to Step 21

20

Important: The automatic transmission wiring harness consists of two separate harnesses, the Automatic Transmission Wiring Harness Assembly, GM P/N 15320475, and the Automatic Transmission Wiring Extension Harness Assembly, GM P/N 15320478. In order to avoid the unnecessary replacement of parts, determine which harness contains the fault and replace only that harness.

Replace the automatic transmission wiring harness.

Refer to Input Speed Sensor and Wiring Harness Removal in the 4T80-E section of the Transmission Unit Repair Manual.

Did you complete the replacement?

--

Go to Step 23

--

21

Replace the 2-3 SS valve.

Refer to Control Valve Lower Body Disassemble in the 4T80-E section of the Transmission Unit Repair.

Did you complete the replacement?

--

Go to Step 23

--

22

Replace the PCM.

Refer to Powertrain Control Module Replacement in Engine Controls.

Did you complete the replacement?

--

Go to Step 23

--

23

Perform the following procedure in order to verify the repair:

  1. Select DTC.
  2. Select Clear Info.
  3. Operate the vehicle under the following conditions:
  4. • Drive the vehicle in D4.
    • Allow the transmission to obtain a 2-3 upshift.
  5. Select Specific DTC.
  6. Enter DTC P1845.

Has the test run and passed?

--

Go to Step 24

Go to Step 2

24

With the scan tool, observe the stored information, capture info. and DTC info.

Does the scan tool display any DTCs that you have not diagnosed?

--

Go to Diagnostic Trouble Code (DTC) List in Engine Controls

System OK