GM Service Manual Online
For 1990-2009 cars only
Figure 1:

Power, Ground, and Class 2


Object Number: 879887  Size: FS
Master Electrical Component List
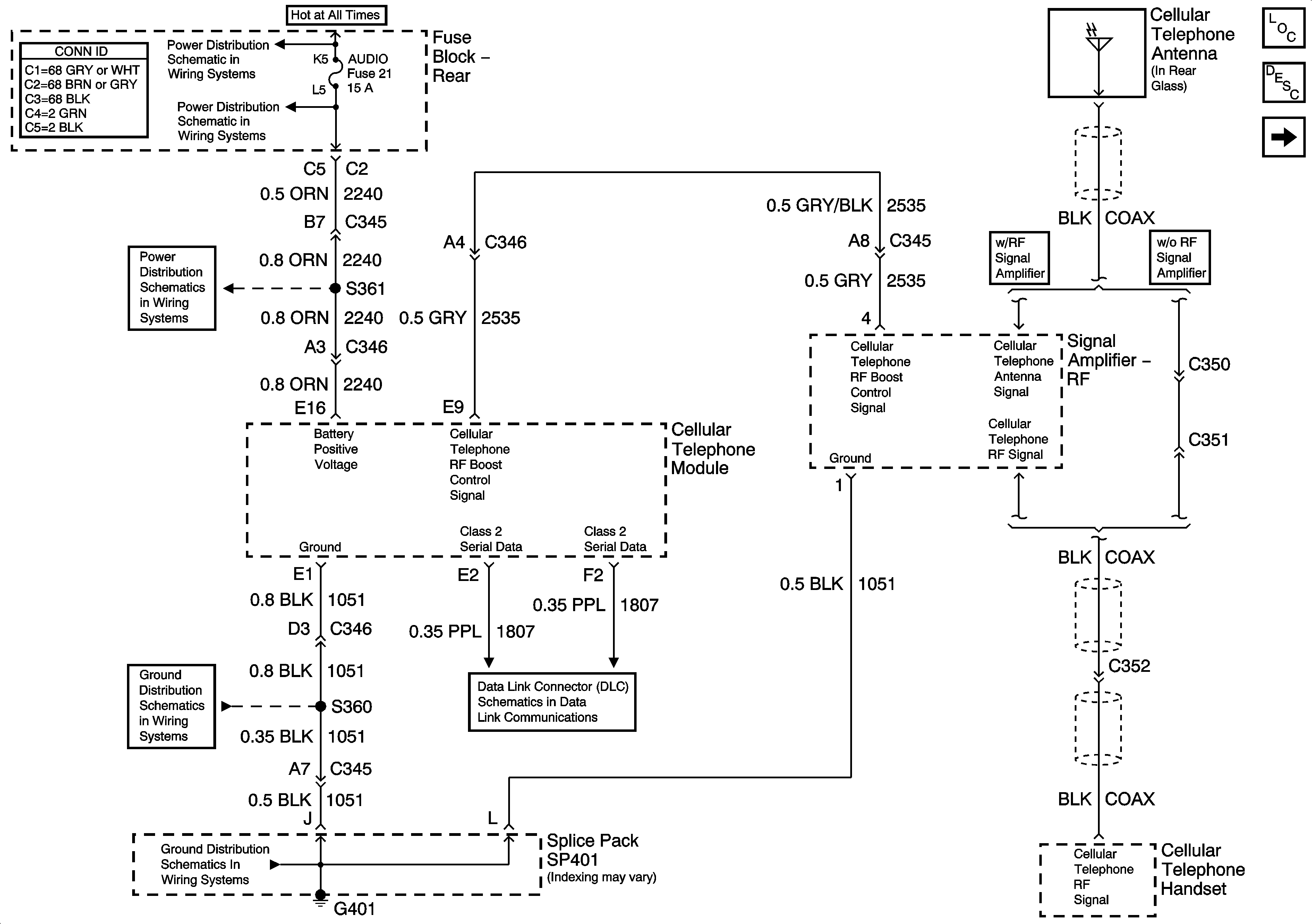
Cellular Telephone Description and Operation
Cellular Telephone Schematics-VCIM,MIC, and Audio Amp
Power Distribution Schematics-Audio, Audio Amp, DIM Fuses
Power Distribution Schematics-Audio, Audio Amp, DIM Fuses
Ground Distribution Schematics-G401 (1 of 3)
Ground Distribution Schematics-G401 (1 of 3)
Data Link Connector (DLC) Schematics-Serial Data Line (LH Drive) (2 of 2)
Figure 2:

Vehicle Communication Interface Module (VCIM), Microphone, Audio Amplifier (Late Production)


Object Number: 1202052  Size: FS
Master Electrical Component List
Cellular Telephone Description and Operation
Cellular Telephone Schematics-Interface Board
Cellular Telephone Schematics-Power, Ground, and Class 2
Cellular Communication Schematic Icons
Figure 3:

Cellular Telephone Interface Board


Object Number: 789521  Size: FS
Master Electrical Component List
Cellular Telephone Description and Operation
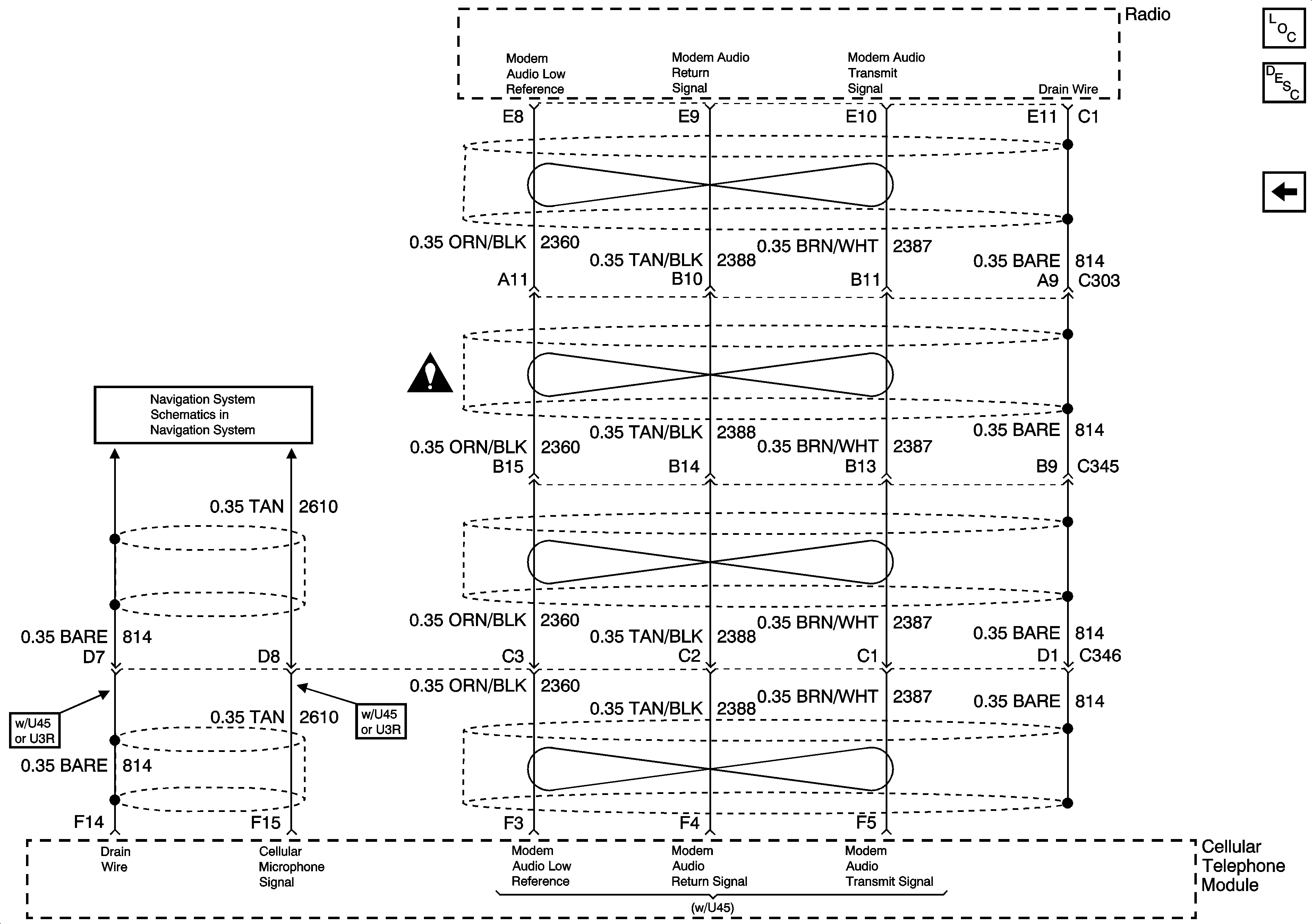
Cellular Telephone Schematics-Web Radio
Cellular Telephone Schematics-VCIM,MIC, and Audio Amp
Cellular Communication Schematic Icons
Figure 4:

Web Radio


Object Number: 789523  Size: FS
Master Electrical Component List
Cellular Telephone Description and Operation
Cellular Telephone Schematics-Interface Board
Cellular Communication Schematic Icons
Navigation System Schematics-Domestic Microphone