GM Service Manual Online
For 1990-2009 cars only
Figure 1:

Case and Associated Parts (1 of 3)


Object Number: 1217535  Size: LF
(1)Torque Converter Assembly
(3)Quick Disconnect Cooler Connector (1, 19 mm) - Model Dependent
(4)Quick Disconnect Cooler Connector O-Ring - Model Dependent
(5)Stud, Case to Forward Clutch Support (2, 13 mm)
(6)Transmission Case
(8)Plug, Oil Drain - Bottom Pan to Case Cover
(9)Pin, Anchor (Low/Reverse Band)
(10)Pin, Anchor (4th Band)
(15)Bolt (4, 8 mm)
(38)Cooler Connector (1, 19 mm) - Model Dependent
(39)Case Connector O-ring Seal - Model Dependent
(51)Screen, Scavenge (Left)
(52)Screen, Scavenge (Right)
(53)Seal, Scavenge Tube and Screens
(53)Seal, Scavenge Tube and Screens
(53)Seal, Scavenge Tube and Screens
(54)Tube, Scavenge
(59)Pan Transaxle Oil
(60)Magnet, Chip Collector
(61)Gasket, Oil Pan
(62)Bolt, Bottom Pan to Case (16, 10 mm)
(124)Bushing, Case Extension
(125)Seal, Axle to Case Extension
(126)Seal, Case Extension to Case
(127)Stud, Case Extension to Case (1, 15 mm)
(128)Bolt, Case Extension to Case (4, 13 mm)
(129)Bolt, Case Extension to Case (1, 10 mm)
(130)Sensor, Speed Output Assembly
(131)Bolt, Output Speed Sensor (1)
(134)Extension, Transmission Case
(524)Cover, 4th Servo
(525)Seal, Servo Cover
(527)Pin, 4th Servo
(529)Piston, 4th Servo
(531)Ring, Snap
(532)Seal, 4th Servo Piston
(533)Spring and Retainer Assembly, 4th Servo
(533)Spring and Retainer Assembly, 4th Servo
(534)Bolt, (23, 10 mm)
(534)Bolt, (23, 10 mm)
(534)Bolt (23, 10 mm)
(903)Channel Plate, Control Valve Body and Accumulator Housing Assembly
(943)Extension Wiring Harness
(955)Nut, Channel Plate to Case (2, 10 mm)
(956)Plate, Oil Transfer
(958)Bolt, Channel Plate to Case (2, 10 mm)
Figure 2:

Case and Associated Parts (2 of 3)


Object Number: 509743  Size: LF
(2)Oil Pump Driven Shaft
(6)Transmission Case
(28)Side Cover To Case Cover Bolt (8, 15 mm)
(29)Side Cover
(30)Side Cover To Case Cover Gasket
(31)Fluid Level Indicator
(32)Side Cover To Case Cover Bolt (1, 13 mm)
(65)Checkball (10)
(66)Side Cover To Case Cover Stud - Model Dependent
(200)Primary Pump Body
(201)Primary Pump Drive Gear
(202)Primary Pump Driven Gear
(203)Secondary Pump Body
(204)Scavenge Pump Bushing
(205)Secondary Pump Drive Gear
(206)Secondary Pump Driven Gear
(207)Oil Pump Driven Shaft
(209)Filter Seal
(225)Scavenge Pump Body Assembly
(228)Secondary Pump Body To Spacer Plate Gasket
(229)Bolt (4, 8 mm)
(231)Pump Assembly To Case Bolt (2, 8 mm)
(232)Pump Assembly To Case Cover Bolt (5, 8 mm)
(233)Pump Assembly To Case Cover Bolt (5, 8 mm)
(234)Secondary Pump To Case Cover Bolt (1, 8 mm)
(235)Secondary Pump To Case Bolt
(236)Transmission Oil Filter
(240)Stud, Auxiliary Control Valve Body Cover - Model Dependent
(300)Upper Control Valve Body Assembly
(326)Valve Body To Spacer Plate Gasket
(327)Case Cover Assembly Spacer Plate
(328)Spacer Plate To Case Cover Gasket
(329)Upper Valve Body To Case Cover Bolt (9, 8 mm)
(330)Upper Valve Body To Case Cover Bolt (2, 8 mm)
(331)Bolt (6, 8 mm)
(350)Temperature Sensor (1, 17 mm)
Figure 3:

Case and Associated Parts (3 of 3)


Object Number: 1217538  Size: LF
(3)Quick Disconnect Cooler Connector (1, 19 mm) - Model Dependent
(4)Quick Disconnect Cooler Connector O-Ring - Model Dependent
(6)Transmission Case
(12)Wiring Harness Assembly
(14)Input Speed Sensor Assembly
(15)Bolt (4, 8 mm)
(33)Transmission Case Cover
(34)Case Cover to Drive Sprocket Seal
(35)Case Cover to Turbine Shaft Seal
(37)Case Cover Axle Seal
(38)Cooler Connector (1, 19 mm) - Model Dependent
(39)Case Connector O-ring Seal - Model Dependent
(40)Case Cover Oil Test Plug - #40 TORX®
(41)Transmission Vent Adapter
(43)Sprocket Support to Case Cover Gasket
(44)Case to Case Cover Gasket
(45)Case Cover to Case Stud (1, 13 mm)
(46)Case Cover to Case Bolt (8, 10 mm)
(47)Case Cover to Case Stud (2, 13 mm)
(48)Case Cover to Driven Sprocket Support Bolt (3, 10 mm)
(49)Case Cover to Case Stud (1, 10 mm)
(50)Case Cover to Case Bolt (11, 13 mm)
(50)Case Cover to Case Bolt (11, 13 mm)
(56)Output Shaft Snap Ring (3)
(56)Output Shaft Snap Ring (3)
(57)Output Shaft
(67)Case Cover to Case Stud (1, 13 mm) - Model Dependent
(68)Wiring Harness Assembly O-ring
(132)Thrust Bearing
(400)Drive Sprocket Support
(401)Converter Hub Bushing
(402)Front Stator Shaft Bushing
(403)Converter Hub Assembly Seal Assembly
(404)Drive Sprocket Support to Case Bolt (6, 8 mm)
(405)Drive Sprocket Support to Case Seal
(407)Drive Sprocket
(408)Ball Bearing (2)
(408)Ball Bearing (2)
(409)Drive Sprocket Oil Seal Ring
(410)Turbine Shaft
(411)Snap Ring
(412)O-Ring Seal
(414)Drive Link Assembly
(415)Driven Sprocket
(440)Bearing, Thrust
Figure 4:

Scavenge, Primary and Secondary Fluid Pump Assemblies


Object Number: 15548  Size: LF
(200)Primary Pump Body
(201)Primary Pump Drive Gear
(202)Primary Pump Driven Gear
(203)Secondary Pump Body
(203)Secondary Pump Body
(204)Scavenge Pump Bushing
(205)Secondary Pump Drive Gear
(206)Secondary Pump Driven Gear
(207)Oil Pump Driven Shaft Assembly
(208)Oil Pump Driven Shaft Thrust Washer
(209)Filter Seal
(210)Pressure Regulator Spring Retainer
(211)Pressure Regulator Valve
(212)Pressure Regulator Valve Spring
(213)Pressure Regulator Boost Valve
(214)Pressure Regulator Boost Valve Sleeve
(215)Retainer Clip (2)
(215)Retainer Clip (2)
(216)Secondary Pump Cut-Off Ball
(217)Pump Ball Seat
(219)Scavenge Driven Gear Pin
(219)Scavenge Driven Gear Pin
(223)Scavenge Pump Drive Gear
(224)Scavenge Pump Driven Gear (2)
(224)Scavenge Pump Driven Gear (2)
(225)Scavenge Pump Body
(226)Pump Cover to Scavenge Cover Bolt (2)
(227)Dowel Bushings (2)
(227)Dowel Bushings (2)
(237)Scavenge Pump Cover
Figure 5:

Upper Control Valve Body Assembly


Object Number: 1381123  Size: LF
(15)PC Solenoid Clamp Bolt
(65)Oil Hole Plug Ball
(300)Upper Control Valve Body
(301)Accumulator Boost Valve
(302)1-2/3-4 Accumulator Valve
(303)1-2/3-4 Accumulator Valve Bushing
(304)Coiled Spring Pin (2)
(304)Coiled Spring Pin (2)
(306)2-3 Accumulator Valve
(307)Bore Plug (4)
(307)Bore Plug (4)
(307)Bore Plug (4)
(307)Bore Plug (4)
(308)Retainer Clip (4)
(308)Retainer Clip (4)
(308)Retainer Clip (4)
(308)Retainer Clip (4)
(309)Actuator Feed Limit Valve
(310)Actuator Feed Limit Spring
(311)Spring Retainer Plate
(312)Converter Feed Limit Valve
(313)Converter Feed Limit Spring
(316)Converter Clutch Control Spring
(317)Converter Clutch Control Valve
(318)Converter Regulator Valve
(319)Converter Clutch Regulator Spring
(322)TCC Enable Valve
(323)TCC Enable Valve Spring
(336)TCC Pressure Solenoid
(337)Spring Retainer Clip
(338)Pressure Control Solenoid Filter and Seal
(339)Pressure Control Solenoid (PCS)
(340)PC Solenoid Clamp (PCS Clamp)
(343)Orificed Cup Plug
(345)2-3 Accumulator Piston
(346)2-3 Accumulator Piston Seal
(347)2-3 Accumulator Piston Spring
(348)2-3 Accumulator Pin
(349)Snap Ring
(349)Snap Ring
(350)Temperature Sensor
(351)2-3 Accumulator Piston Cushion Spring
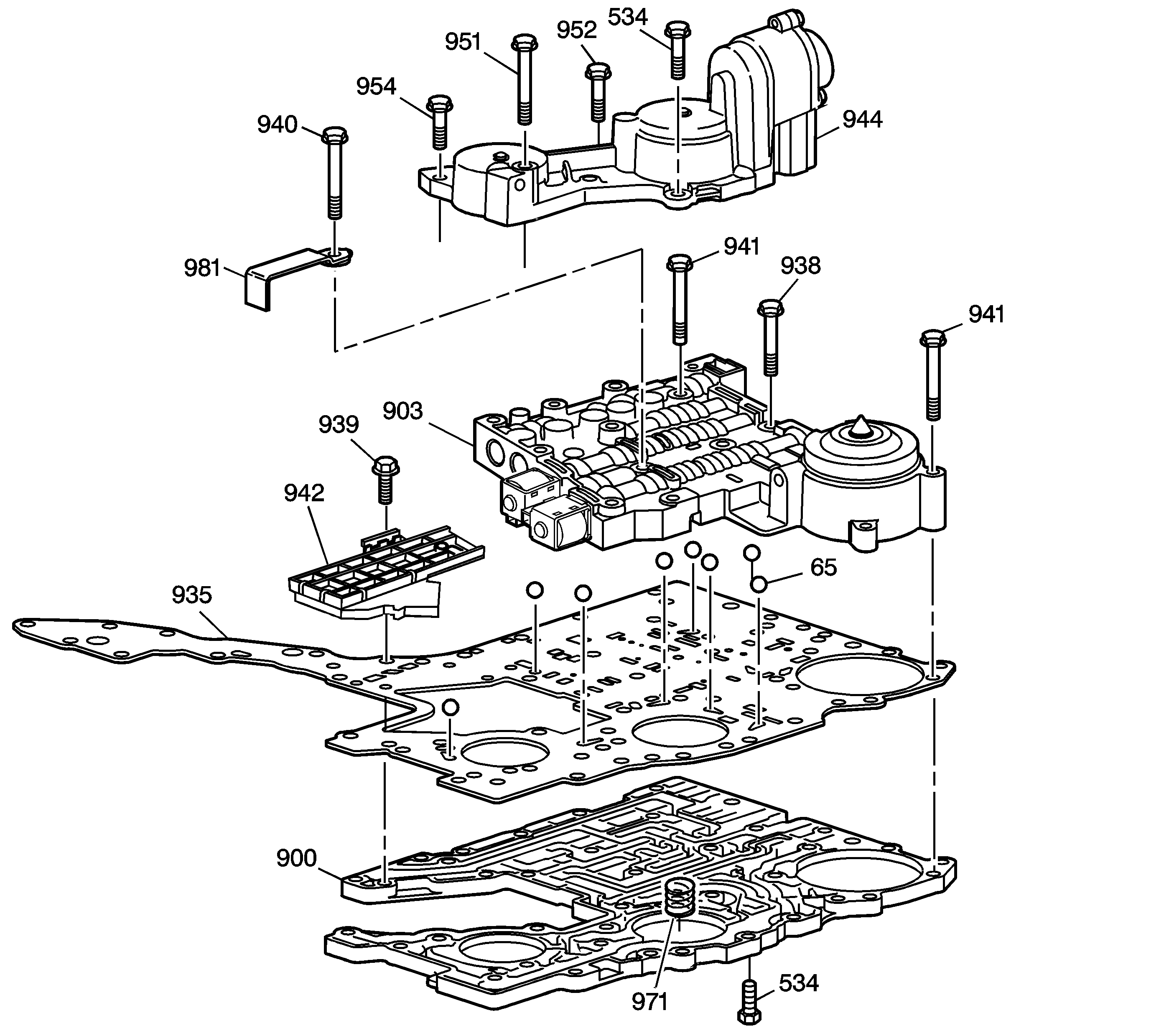
Figure 6:

Lower Channel Plate, Control Valve Body and Accumulator Housing Assembly


Object Number: 1217541  Size: LF
(65)Checkballs (8)
(534)Channel Plate to LCVB Bolt (1, 10 mm) - Channel Plate to Accumulator Housing Bolt (3, 10 mm) - Accumulator Housing to Channel Plate Bolt (1, 10 mm)
(534)Channel Plate to LCVB Bolt (1, 10 mm) - Channel Plate to Accumulator Housing Bolt (3, 10 mm) - Accumulator Housing to Channel Plate Bolt (1, 10 mm)
(900)Lower Channel Plate
(903)Channel Plate/Control Valve and Housing Assembly
(935)Space/Gasket Plate Assembly
(938)LCVB to Channel Plate Bolt (5, 10 mm)
(939)Spacer Plate Support to Channel Plate Bolt (3, 8 mm)
(940)LCVB to Channel Plate Bolt (2, 10 mm)
(941)LCVB to Channel Plate Bolt (8, 10 mm)
(941)LCVB to Channel Plate Bolt (8, 10 mm)
(942)Internal Mode Switch (IMS)
(944)Accumulator Housing
(951)Accumulator Assembly to Channel Plate Bolt (1, 10 mm)
(952)Accumulator Assembly to Channel Plate Bolt (3, 10 mm)
(954)Accumulator Assembly to Channel Plate Bolt (1, 10 mm)
(971)1-2 Accumulator Inner Spring Assembly
(981)Pressure Control Solenoid Valve Fluid Filter Retainer
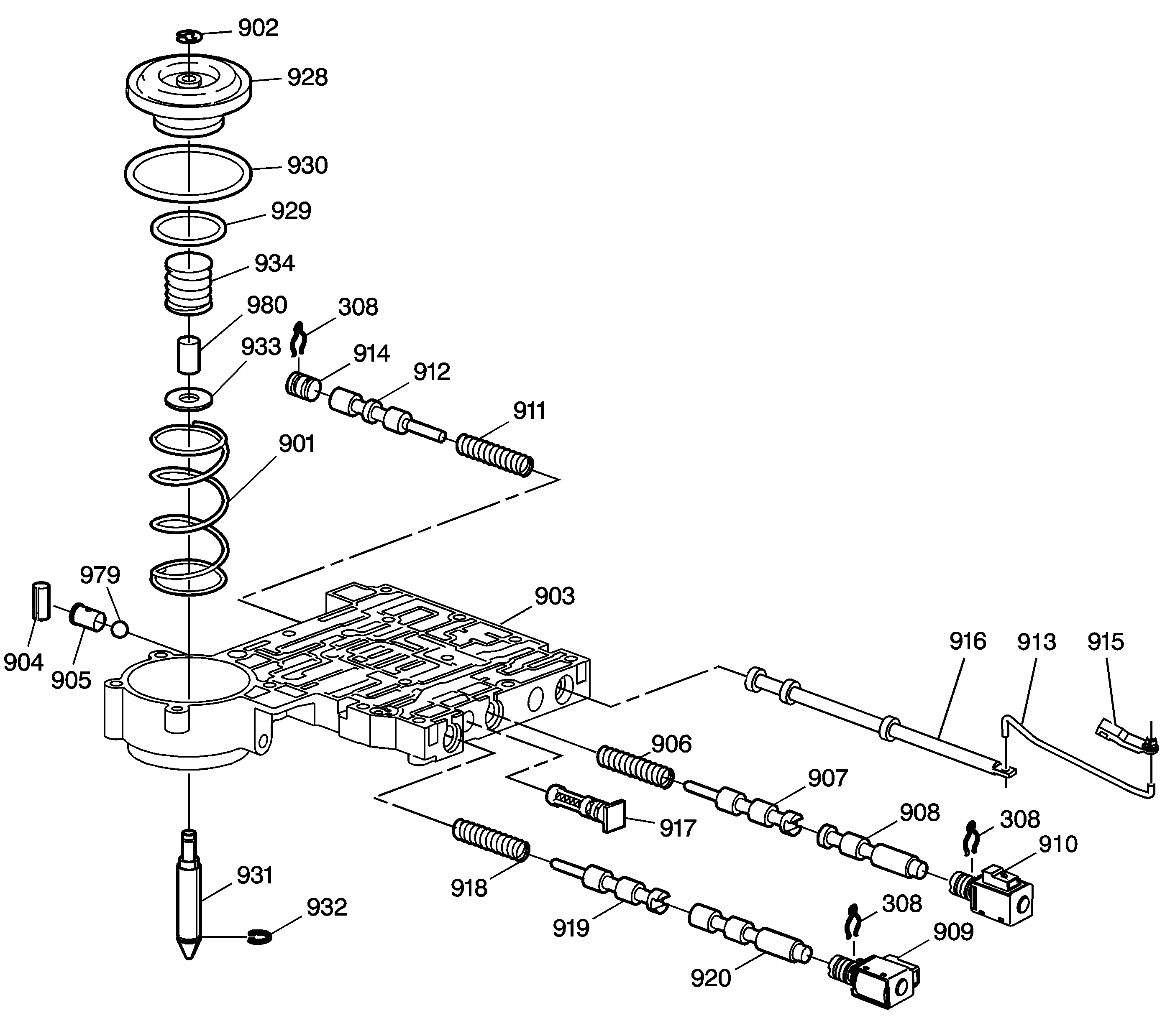
Figure 7:

Lower Control Valve Body Assembly


Object Number: 1217543  Size: LF
(308)Retainer Clip (3)
(308)Retainer Clip (3)
(308)Retainer Clip (3)
(901)Return Spring
(902)Retaining Ring
(903)Lower Control Valve Body
(904)Spring Retainer
(905)Ball Check Capsule
(906)2-3 Shift Valve Spring
(907)2-3 Shift Valve C
(908)2-3 Shift Valve D
(909)1-2 Shift Solenoid Valve
(910)2-3 Shift Solenoid Valve
(911)3-4 Shift Valve Spring
(912)3-4 Shift Valve
(913)Manual Valve Link
(914)Bore Plug
(915)Manual Valve Link Retainer
(916)Manual Valve
(917)Solenoid Screen Assembly
(918)1-2 Shift Valve Spring
(919)1-2 Shift Valve A
(920)1-2 Shift Valve B
(928)Low/Reverse Servo Piston
(929)Low/Reverse Servo Seal (Small)
(930)Low/Reverse Servo Seal (Large)
(931)Low/Reverse Servo Apply Pin
(932)Retaining Ring
(933)Servo Cushion Spring Washer
(934)Servo Cushion Spring
(979)Ball (0.375 Diameter)
(980)Low/Reverse Cushion Sleeve
Figure 8:

Accumulator Assembly


Object Number: 186641  Size: LF
(65)Oil Hole Ball Plug (Staked in Casting)
(349)Snap Ring (5)
(349)Snap Ring (5)
(349)Snap Ring (5)
(349)Snap Ring (5)
(349)Snap Ring (5)
(944)Accumulator Housing
(946)Reverse Accumulator Piston
(947)Reverse Accumulator Piston Seal
(948)Reverse Accumulator Pin
(949)Reverse Accumulator Spring
(950)3-4 Accumulator Spring
(960)Forward Accumulator Piston
(961)Forward Accumulator Seal
(962)Forward Accumulator Pin
(963)Forward Accumulator Spring
(964)Accumulator Housing Cover Gasket
(965)Accumulator Housing Cover
(966)Accumulator Cover Bolt (5, 8 mm)
(968)1-2 Accumulator Piston
(969)1-2 Accumulator Piston Seal
(970)1-2 Accumulator Pin
(971)1-2 Accumulator Inner Spring Assembly
(973)1-2 Accumulator Spring
(975)3-4 Accumulator Piston
(976)3-4 Accumulator Piston Seal
(977)3-4 Accumulator Pin
Figure 9:

Driven Sprocket Support and 2nd Clutch Assembly


Object Number: 750766  Size: MF
(53)Scavenger Tube Seal
(418)Driven Sprocket Support
(419)Oil Transfer Sleeve
(422)Oil Ring (2)
(422)Oil Ring (2)
(423)4 Lobe Seal Ring (2)
(423)4 Lobe Seal Ring (2)
(424)Spring Pin
(425)3rd Clutch Exhaust Valve Spring
(427)3rd Clutch Exhaust Valve
(428)2nd Clutch Return Spring and Retainer Assembly
(429)2nd Clutch/Driven Sprocket Snap Ring
(430)2nd Clutch Piston Assembly
(431)2nd Clutch Waved Plate
(432)2nd Clutch Apply Plate
(433)2nd Clutch Steel Plate (3)
(433)2nd Clutch Steel Plate (3)
(433)2nd Clutch Steel Plate (3)
(434)2nd Clutch Backing Plate
(435)2nd Clutch Fiber Plate (4)
(435)2nd Clutch Fiber Plate (4)
(435)2nd Clutch Fiber Plate (4)
(435)2nd Clutch Fiber Plate (4)
(436)Support/Reverse Clutch Thrust Washer
(437)0.1875 Diameter Checkball
Figure 10:

Reverse Clutch and 2nd Sprag Clutch Assemblies


Object Number: 412932  Size: MF
(500)Reverse Clutch Housing and Race Assembly
(502)Bushing (Small)
(503)Bushing (Large)
(505)Reverse Clutch Piston Assembly
(506)Seal (Inner)
(507)Seal (Outer)
(508)Spring and Retainer Assembly
(509)Snap Ring Retainer
(510)Return Spring Snap Ring
(511)Reverse Clutch Plate (Steel) (2)
(512)Reverse Clutch Backing Plate (Selective)
(513)Reverse Clutch Plate Assembly (Fiber) (2)
(514)Waved Plate (Apply)
(515)Snap Ring
(516)2nd Sprag Race (Outer)
(517)2nd Sprag Clutch Assembly
(518)2nd Sprag Clutch Retainer
(519)Locking Ring
(520)2nd Clutch Outer Race Washer
(523)4th Band
Figure 11:

3rd Clutch and Reaction Carrier Assembly


Object Number: 15563  Size: LF
(515)Snap Ring
(521)Thrust Bearing Assembly
(522)Driven Sprocket Support Thrust Washer (Selective)
(602)Input Shaft Bushing
(603)Input Shaft/Oil Transfer Sleeve
(604)3rd Clutch Housing
(606)3rd Clutch Piston Assembly
(607)Spring and Retainer Assembly
(608)Snap Ring Retainer
(609)Return Spring Snap Ring
(610)3rd Clutch Plate Assembly (Fiber) (4)
(611)3rd Clutch Apply Plate (Steel)
(612)3rd Clutch Plate (Steel) (3)
(613)3rd Clutch Backing Plate
(614)Oil Seal Ring (2)
(615)Input Shaft/3rd Hub Thrust Washer
(616)Input Shaft/Input Sun Gear Snap Ring
(617)3rd Clutch Hub
(618)Hub Bushing
(619)Hub/Gear and Shell Thrust Bearing Assembly (2)
(619)Hub/Gear and Shell Thrust Bearing Assembly (2)
(620)Reaction Sun Gear and Shell Assembly
(622)Reaction Sun Gear Bushing
(623)Reaction Carrier
(625)Planet Pinion (4)
(626) Planet Pinion Pin (4)
(627)Roller Bearing Needle (68)
(628)Steel Pinion Thrust Washer (8)
(628)Steel Pinion Thrust Washer (8)
(629)Bronze Pinion Thrust Washer (8)
(629)Bronze Pinion Thrust Washer (8)
(631)Input Sun Gear
(640)Input Sun Gear to Reaction Carrier Thrust Bearing
Figure 12:

Input Carrier and Forward Sprag Clutch Assemblies


Object Number: 15564  Size: MF
(132)Thrust Bearing Assembly
(626)Planet Pinion Pin (4)
(627)Roller Bearing Needle (68)
(628)Steel Pinion Thrust Washer (8)
(628)Steel Pinion Thrust Washer (8)
(633)Reaction Carrier Shell
(700)Input Carrier Assembly
(702)Planet Pinions (4)
(706)Bronze Thrust Washer (8)
(706)Bronze Thrust Washer (8)
(708)Internal Gear (2)
(708)Internal Gear (2)
(709)Snap Ring (2)
(709)Snap Ring (2)
(710)Thrust Bearing Assembly
(713)Thrust Washer (Flange To Outer Race)
(716)Forward Clutch Sprag Assembly
(717)Snap Ring (Coast Clutch Hub Retainer)
(718)Thrust Bearing (Flange/Forward Clutch Housing)
(719)Coast Clutch Hub
(720)Thrust Washer (Race/Coast Clutch Hub)
(721)Forward Sprag Race (Outer)
(722)Final Drive Sun Gear Shaft
(723)Input Flange Bushing
(724)Snap Ring (Final Drive Shaft/Input Carrier)
(725)Input Internal Gear Flange
Figure 13:

Forward Clutch Assembly


Object Number: 15569  Size: MF
(417)Thrust Bearing
(437)0.1875 Diameter Checkball
(801)Forward and Coast Clutch Housing
(803)Housing Bushing (Small)
(804)Housing Bushing (Large)
(807)Forward Clutch Piston
(808)Seal (Inner)
(809)Seal (Outer)
(810)Coast Clutch Piston Assembly
(811)Forward Clutch Ring (Apply)
(812)Coast Clutch Plate (Apply)
(813)Coast Clutch Plate (Steel)
(814)Coast Clutch Plate (Fiber) (2)
(816)Forward Clutch Plate (Steel) (4)
(817)Forward Clutch Plate (Fiber) (5)
(818)Snap Ring (Forward Clutch Backing Plate)
(819)Forward Clutch Backing Plate
(820)Forward Clutch Release Spring Assembly
(821)Snap Ring (Forward Return Spring Assembly/Housing)
(840)Forward and Coast Clutch Plate (2)
(840)Forward and Coast Clutch Plate (2)
(841)Forward and Coast Clutch Plate (Belleville)
Figure 14:

Forward Clutch Support Assembly


Object Number: 15572  Size: MF
(13)Low/Reverse Band
(120)Final Drive Internal Gear
(121)Final Drive Sun Gear
(122)Final Drive Sun Gear Seal
(135)Snap Ring
(822)Forward/Coast Clutch Support
(824)Oil Transfer Sleeve
(825)Left Support/Sun Shaft Bushing
(826)Right Support/Sun Shaft Bushing
(827)Oil Hole Plug Ball (2)
(828)Cooler Return Seal
(829)Support/Housing Oil Seal Ring
(830)Low Roller Clutch Assembly
(832)Forward Clutch Support/Park Gear Thrust Bearing
(833)Parking Lock Gear
(834)Final Drive Shaft to Park Gear Snap Ring
(835)Support/Case Fretting Ring
Figure 15:

Final Drive Assembly


Object Number: 15575  Size: MF
(56)Output Shaft Snap Ring
(56)Output Shaft Snap Ring
(100)Final Drive Carrier
(101)Differential Carrier Dowel (2)
(101)Differential Carrier Dowel (2)
(102)Sun Gear/Carrier Thrust Bearing
(103)Final Drive Planet Pinion (4)
(104)Final Drive Planet Pinion Pin (4)
(105)Roller Needle Bearings (76)
(106)Final Drive Pinion Steel Thrust Washers (8)
(106)Final Drive Pinion Steel Thrust Washers (8)
(107)Final Drive Pinion Bronze Thrust Washers (8)
(107)Final Drive Pinion Bronze Thrust Washers (8)
(108)Final Drive Carrier Retainer
(109)Rolled Pin
(110)Differential Carrier
(111)Right Differential Thrust Washer
(112)Right Differential Side Gear
(113)Differential Pinion Thrust Washer (2)
(113)Differential Pinion Thrust Washer (2)
(114)Differential Pinion Shaft
(115)Differential Pinion Shaft Retaining Pin
(116)Differential Pinion Gears (2)
(116)Differential Pinion Gears (2)
(117)Left Differential Thrust Washer
(118)Left Differential Side Gear
(119)Differential Carrier to Final Drive Carrier Bolt
(132)Thrust Bearing Assembly
(133)Differential Carrier/Case Extension Selective Thrust Washer
Figure 16:

Parking Pawl, Actuator Assembly and Manual Shaft


Object Number: 412934  Size: LF
(8)Drain Plug
(16)Manual Shaft
(17)Inside Detent Lever
(18)Manual Shaft To Detent Lever Nut
(20)Manual Shaft Seal
(21)Park Lock Actuator Assembly
(22)Parking Lock Pawl
(23)Parking Pawl Pivot Pin
(25)Parking Pawl Return Spring
(26)Detent Lever and Roller Assembly
(27)Detent Spring