GM Service Manual Online
For 1990-2009 cars only

Object Number: 812318  Size: A2

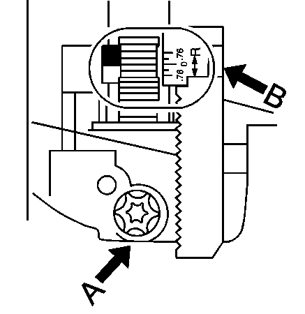
Turn the horizontal aiming screw (A) until the indicator (B) is lined up with zero.

Once the horizontal aim is adjusted, then adjust the vertical aim.